GM Service Manual Online
For 1990-2009 cars only
Makes
🢒
Pontiac
🢒
2005
🢒
Wave
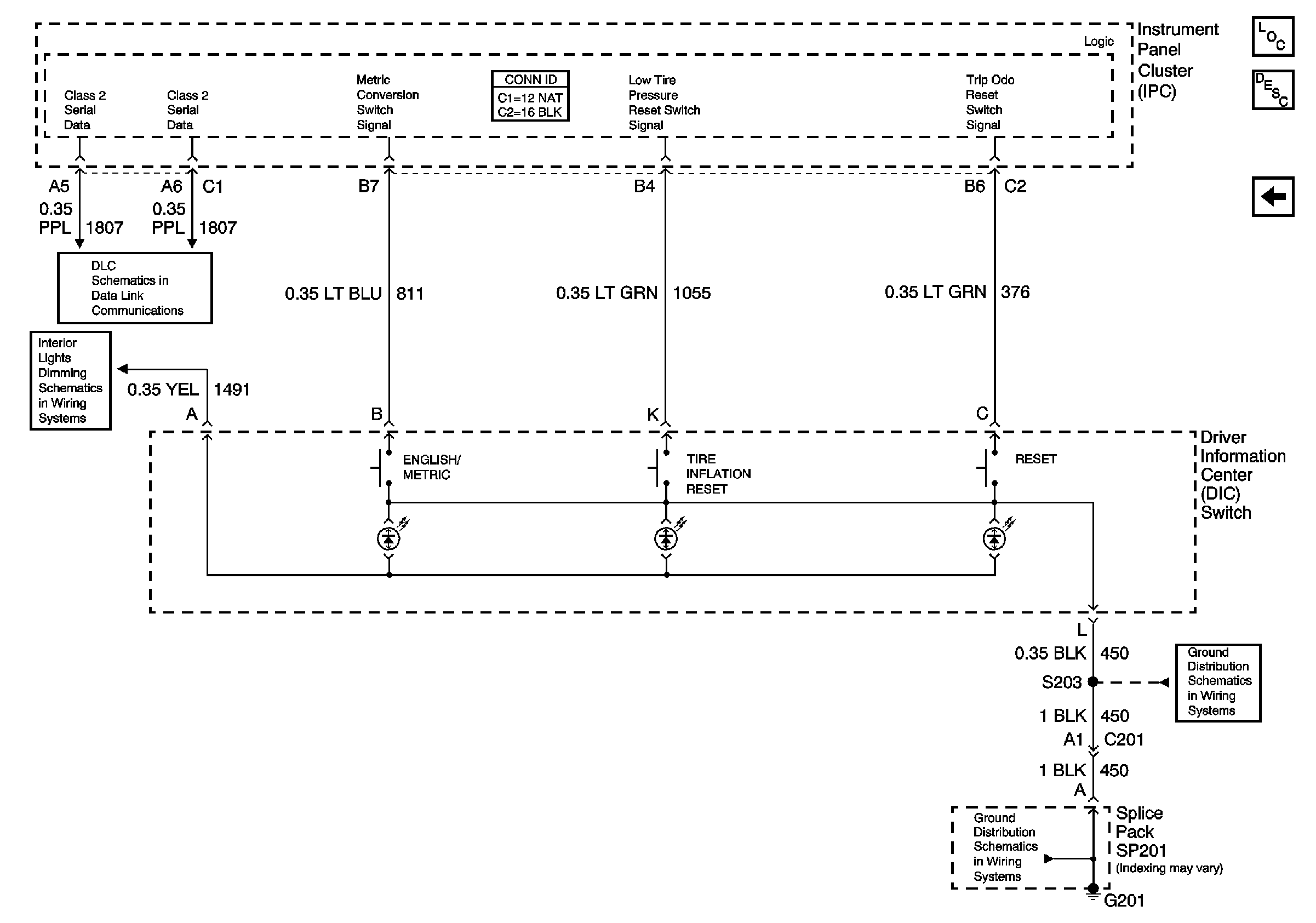
🢒 DIC Switch (U2F)
DIC Switch (U2F)
DIC Switch (U2F)
Master Electrical Component List
Driver Information Center (DIC) Description and Operation
DIC Switch (U50)
Serial Data Class 2
I/P and Console Dimming
G201 - 1 of 2
G201 - 1 of 2