GM Service Manual Online
For 1990-2009 cars only
Makes
🢒
Pontiac
🢒
2005
🢒
Wave
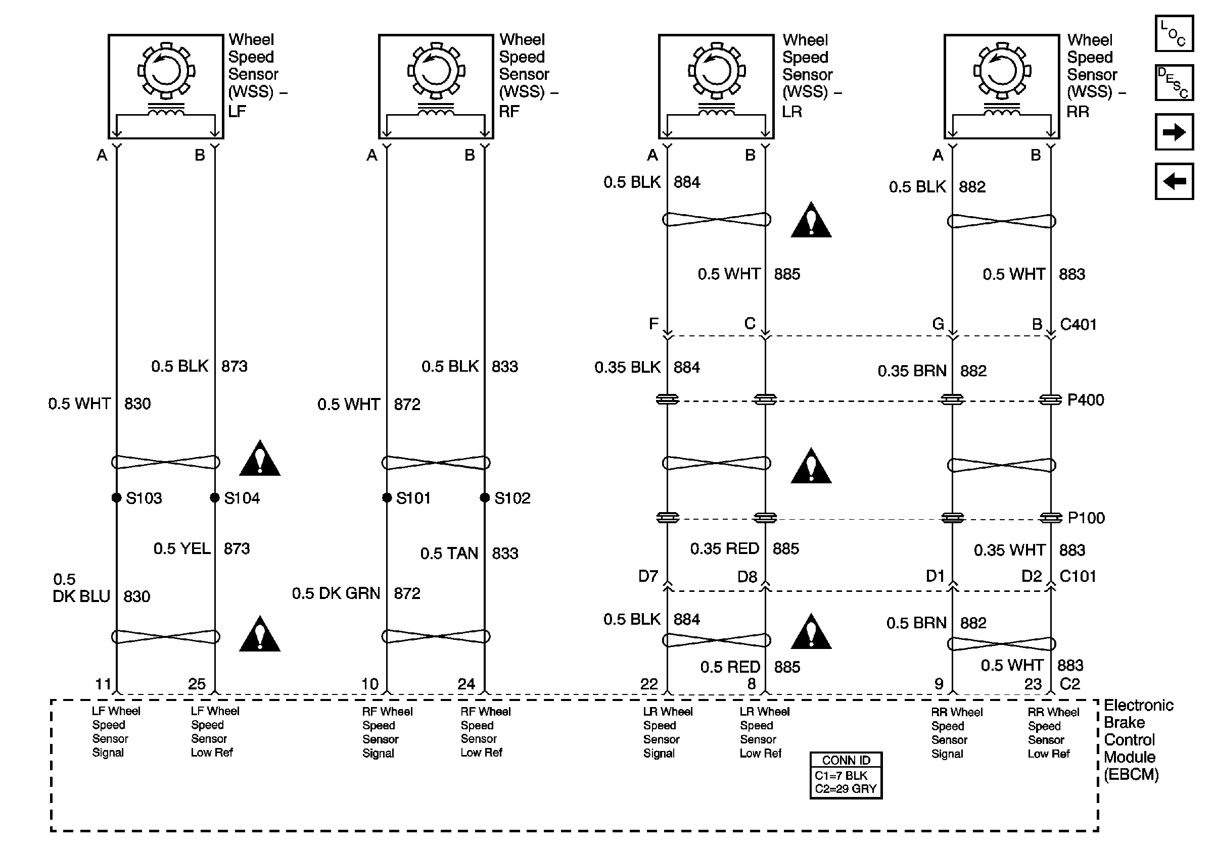
🢒 Wheel Speed Sensors - 3.8L
Wheel Speed Sensors - 3.8L
Wheel Speed Sensors - 3.8L
Master Electrical Component List
ABS Description and Operation
Wheel Speed Sensors - 4.6L
Power, Ground, and BPMV Valve - 4.6L
Antilock Brake System Schematic Icons
Antilock Brake System Schematic Icons
Antilock Brake System Schematic Icons
Antilock Brake System Schematic Icons
Antilock Brake System Schematic Icons