GM Service Manual Online
For 1990-2009 cars only
Makes
🢒
Pontiac
🢒
2005
🢒
Wave
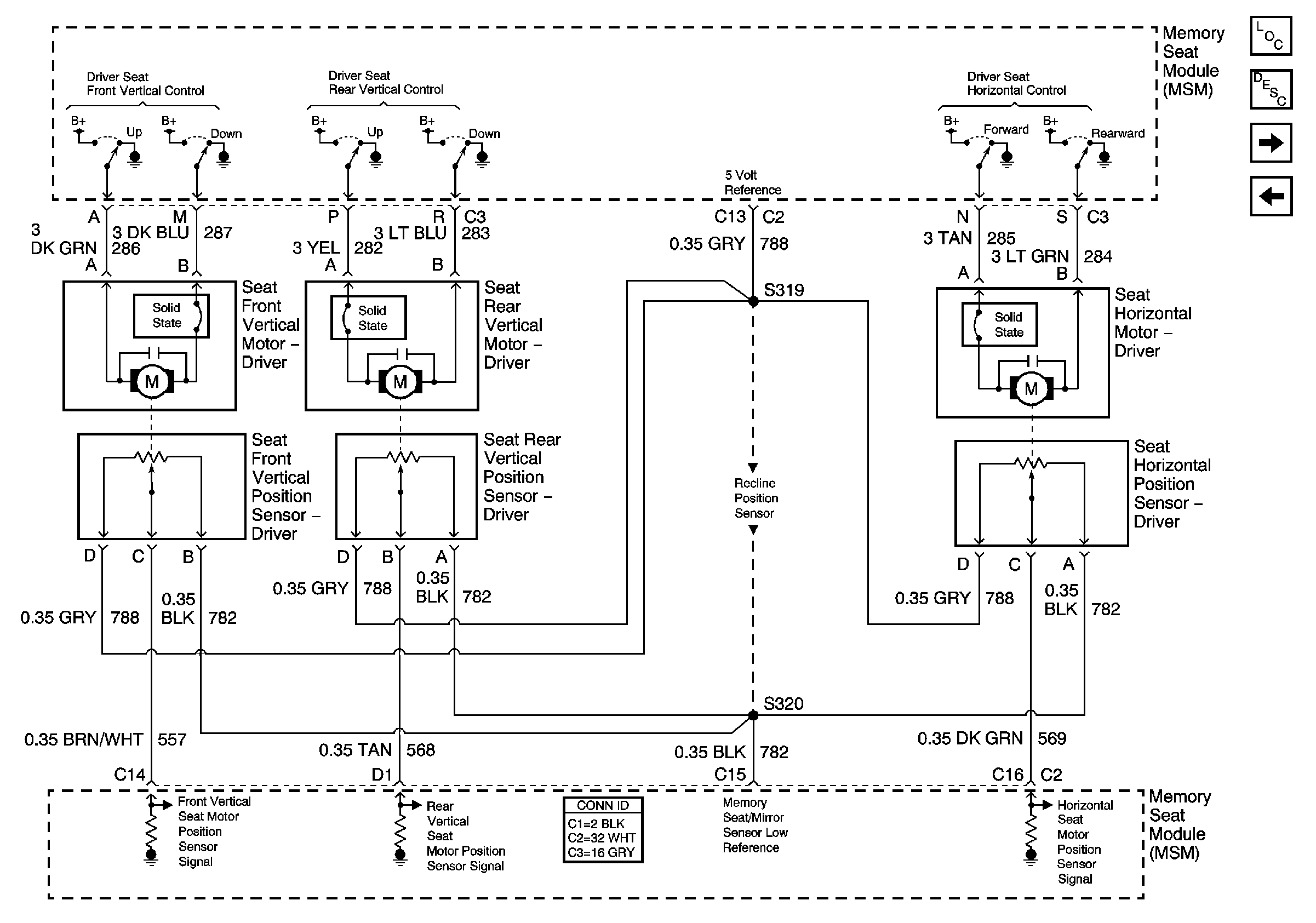
🢒 Memory Seat Vertical and Horizontal Motors and Sensors
Memory Seat Vertical and Horizontal Motors and Sensors
Memory Seat Vertical and Horizontal Motors and Sensors
Master Electrical Component List
Memory Seats Description and Operation
Memory Seat Recline Motor and Sensor
Memory Function Switch Controls
Memory Seat Recline Motor and Sensor