GM Service Manual Online
For 1990-2009 cars only

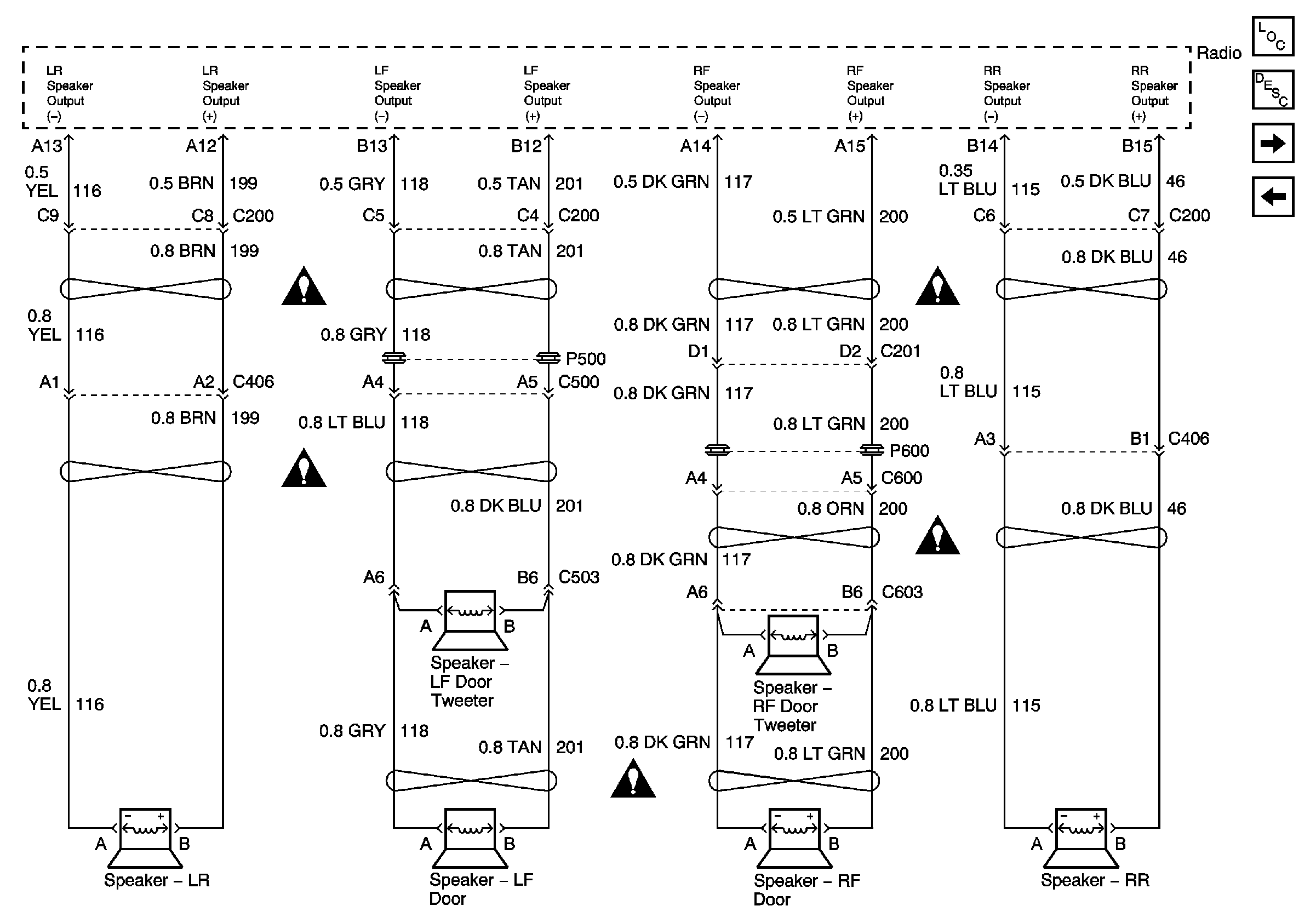
Speakers

Speakers


Object Number: 766323  Size: FS
Master Electrical Component List
Radio/Audio System Description and Operation
Radio Output (w/UZ8)
Power and Ground
Entertainment Schematic Icons
Entertainment Schematic Icons
Entertainment Schematic Icons
Entertainment Schematic Icons
Entertainment Schematic Icons