GM Service Manual Online
For 1990-2009 cars only
Makes
🢒
Pontiac
🢒
2005
🢒
Wave
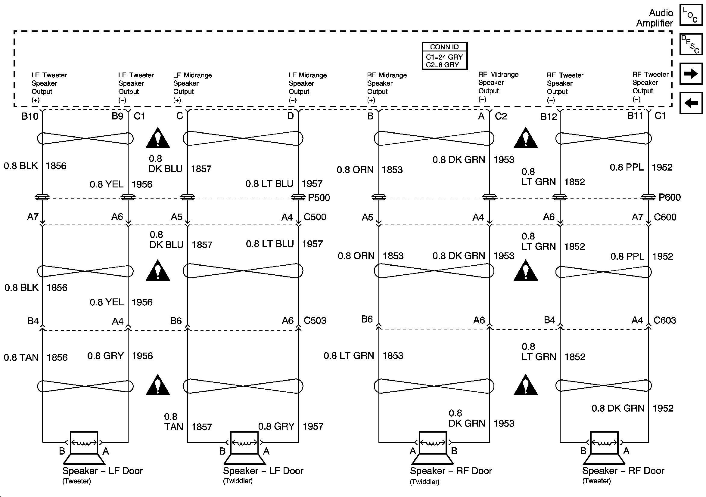
🢒 Front Speakers (w/UZ8)
Front Speakers (w/UZ8)
Front Speakers (UZ8)
Master Electrical Component List
Radio/Audio System Description and Operation
Rear Speakers (w/UZ8)
Radio Output (w/UZ8)
Entertainment Schematic Icons
Entertainment Schematic Icons
Entertainment Schematic Icons
Entertainment Schematic Icons
Entertainment Schematic Icons
Entertainment Schematic Icons