GM Service Manual Online
For 1990-2009 cars only
Makes
🢒
Pontiac
🢒
2005
🢒
Wave
🢒 Power and Ground
Power and Ground
Power and Ground
Master Electrical Component List
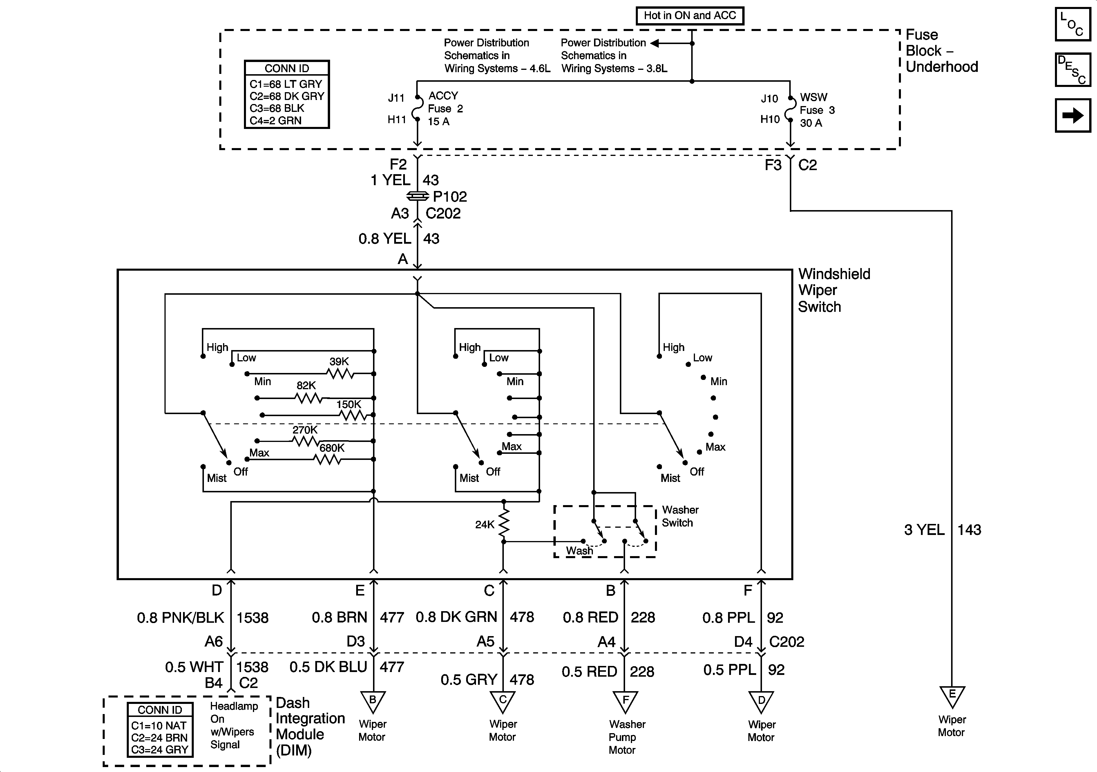
Wiper/Washer System Description and Operation
Wiper/Washer Motors
ACCY, WSW, HDLOBMR, HDLOBML, HDHIBML, and HDHIBMR Fuses
AIR, C/LTR, AUX PWR, WSW, and ACCY Fuses - 3.8L
Wiper/Washer Motors
Wiper/Washer Motors
Wiper/Washer Motors
Wiper/Washer Motors
Wiper/Washer Motors