GM Service Manual Online
For 1990-2009 cars only
Makes
🢒
Pontiac
🢒
2005
🢒
Wave
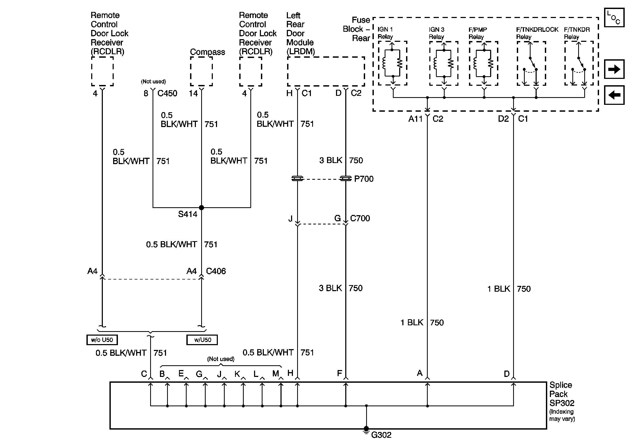
🢒 G302
G302
G302
Master Electrical Component List
G401 (1 of 2)
G301 (2 of 2)