GM Service Manual Online
For 1990-2009 cars only
Makes
🢒
Pontiac
🢒
2005
🢒
Wave
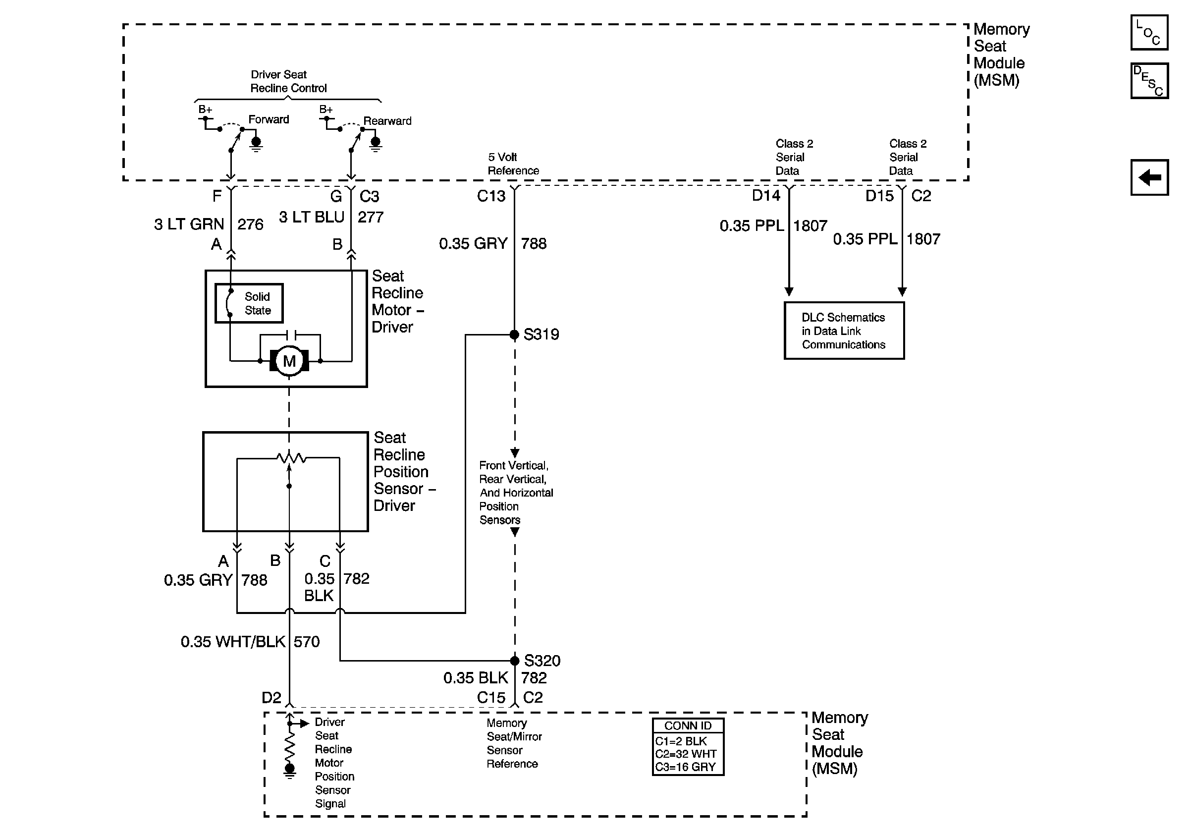
🢒 Recline Motor and Sensor
Recline Motor and Sensor
Recline Motor and Sensor
Master Electrical Component List
Memory Seats Description and Operation
Vertical and Horizontal Motors and Sensors
Serial Data Class 2
Vertical and Horizontal Motors and Sensors