GM Service Manual Online
For 1990-2009 cars only

Tools Required

    • CH-48358 Front Control Arm Rear Bushing Replacer
    • KM-158 Remover/Installer
    • KM-307-B Removal Plate
    • KM-508-A Control Arm Bushing Remover/Installer

Disassembly Procedure

  1. Remove the front lower control arm assembly. Refer to Control Arm Replacement .
  2. Note the location of the arrow on the rear bushing relative to the dot stamped on the control arm.
  3. Note the location of the plus signs on the front bushing relative to the control arm.

  4. Object Number: 1852834  Size: SH
  5. From the CH-48358 kit, place the CH-48358-2 on a press.
  6. Place the control arm assembly on the press. Position the rear bushing on the CH-48358-2.

  7. Object Number: 1852835  Size: SH
  8. Place the CH-48358-1 on the front control arm rear bushing.
  9. Use the press in order to remove the rear bushing.
  10. Remove any dirt or burrs from the surface of the rear bushing hole.

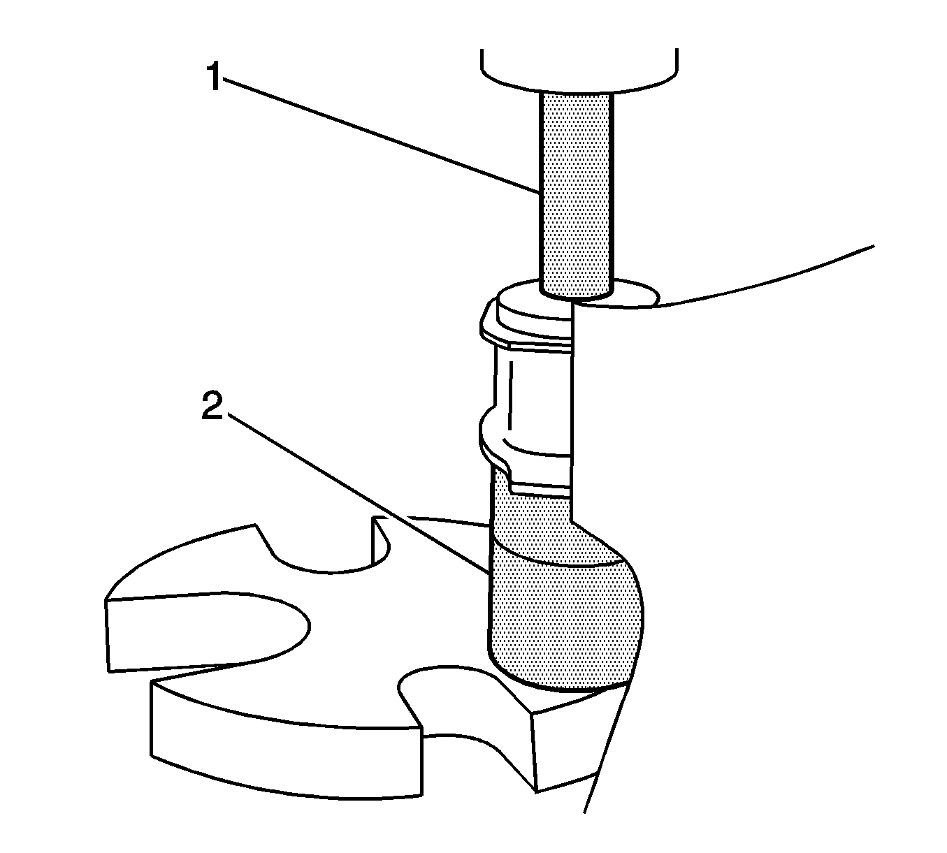
  11. Object Number: 1241991  Size: SH
  12. Place the KM-307-B on a press.
  13. From the KM-508-A kit, place the KM-508-4 (2) on the KM-307-B .
  14. Place the control arm assembly on the press. Position the front control arm front bushing on the KM-508-4.
  15. From the KM-158 kit, place the KM-158-5 (1) on the front bushing.
  16. Use the press in order to remove the front bushing.

Assembly Procedure


    Object Number: 1852837  Size: SH
  1. Place the CH-48358-4 on the press.
  2. Position the control arm on the CH-48358-4.
  3. Align the arrow on the rear bushing with the dot on the control arm.

  4. Object Number: 1852838  Size: SH
  5. Place a NEW rear bushing on the control arm.
  6. Place the CH-48358-3 on the rear bushing.
  7. Use the press in order to install the rear bushing.

  8. Object Number: 1241993  Size: SH
  9. Place the KM-307-B on a press.
  10. From the KM-508-A kit (1), place the KM-508-4 on the KM-307-B .
  11. Place the control arm on the KM-508-4.
  12. Place the KM-508-2 on the control arm.
  13. Coat the outside of the front bushing and the inside of the front bushing hole in the control arm with lubricant.
  14. Place the front bushing in the KM-508-2. Align the plus signs on the bushing with the control arm.
  15. Place the KM-508-3 on the front bushing.
  16. Use the press in order to install the front bushing.
  17. Center the front bushing.
  18. Install the front lower control arm assembly. Refer to Control Arm Replacement .