GM Service Manual Online
For 1990-2009 cars only
Makes
🢒
Pontiac
🢒
2007
🢒
Wave
🢒
HVAC
🢒
HVAC - Manual
🢒 Manual Transmission Component Views
Figure
1:
Gears and Case
(1)
Retaining Ring
(2)
Groove Ball Bearing
(3)
Washer
(4)
Retaining Ring
(5)
5th Speed Gear
(6)
Needle Cage
(7)
Synchronizer Ring
(8)
5th Synchronizer Spring
(9)
5th Shift sleeve
(10)
5th Synchronizer Key
(11)
Retaining Ring
(12)
Main Shaft Disc
(13)
Needle Cage
(14)
1st Speed Gear
(15)
Needle Cage
(16)
Inside Synchronizer Ring
(17)
Intermediate Ring
(18)
Outside Synchronizer Ring
(19)
Circlip
(20)
Sliding Gear
(21)
1st & 2nd Synchronizer Spring
(22)
Synchronizer Ring
(23)
1st & 2nd Synchronizer Key
(24)
3rd Speed Gear
(25)
Needle Cage
(26)
Washer
(27)
Washer
(28)
Washer Retaining Ring
(29)
Needle Cage
(30)
2nd Speed Gear
(31)
Circlip
(32)
Washer
(33)
3rd & 4th Synchronizer Spring
(34)
4th Speed Gear
(35)
Washer Retaining Ring
(36)
Washer
(37)
Roller Bearing
(38)
Transaxle Main Shaft
(39)
Synchronizer Key
(40)
Shift Sleeve
(41)
Ball
(42)
Reverse Idler Gear Shaft
(43)
Reverse Idler Gear
(44)
Washer
(45)
Retaining Ring
(46)
Cluster 5th Speed Gear
(47)
Groove Ball Bearing
(48)
Cluster Bearing Ring
(49)
Retaining Ring
(50)
Bolt
(51)
Input Shaft Cluster Gear
(52)
Input Drive Shift
(53)
Needle Sleeve
Figure
2:
Bearing Plate
(1)
Bearing Plate Gasket
(2)
Detent Sleeve
(3)
Bolt
(4)
Strain Bolt Bridge
(5)
Bolt
(6)
Transaxle Cover Gasket
(7)
Bolt
(8)
Bolt
(9)
Transaxle Cover
(10)
Bolt
(11)
Bolt
(12)
Bolt
(13)
Gear Shift Shoe
(14)
Bolt
(15)
Magnet
(16)
Plug
(17)
Compression Ring
(18)
Blocking Pin
(19)
Bolt
(20)
Pin
(21)
Bearing Plate
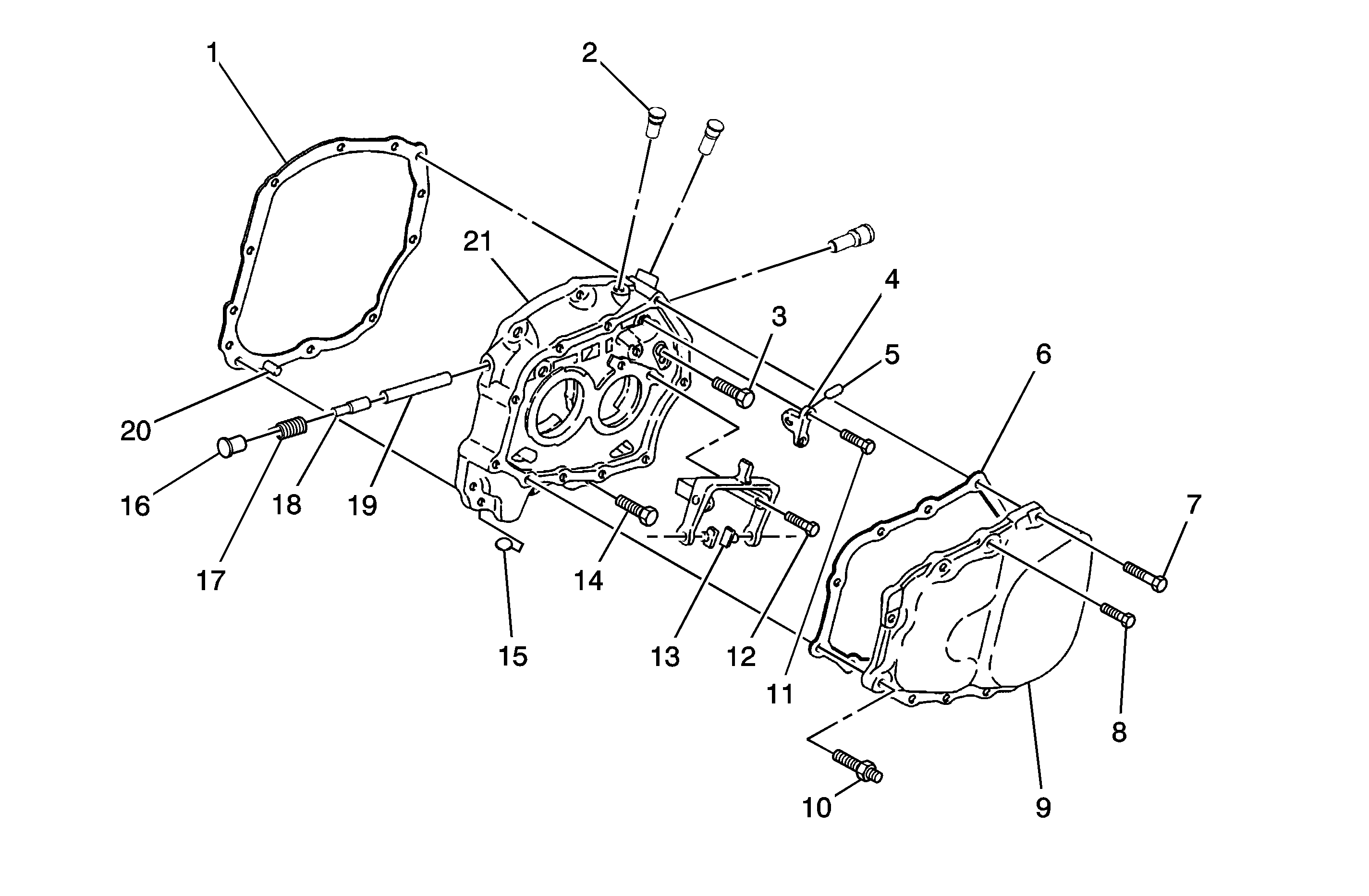
Figure
3:
Differential Gear
(1)
Bolt
(2)
Differential Gear Bearing Flange
(3)
O-Ring
(4)
Shaft Seal Ring
(5)
Taper Roller Bearing
(6)
Differential Gear
(7)
Differential Gear Housing
(8)
Locking Plate
(9)
Bolt
(10)
Differential Bearing Ring
(11)
O-Ring
(12)
Speedometer Drive Gear
(13)
Bolt
(14)
Differential Spring Pin
(15)
Bevel Gear Disc
(16)
Bevel Differential Gear
(17)
Differential Gear Shaft
(18)
Side Gear
(19)
Washer
Figure
4:
Shift Linkage
(1)
Bolt
(2)
Gear Shift Control
(3)
Bolt
(4)
Gear Shift Tube Bellows
(5)
Clamp
(6)
Gear Shift Control Mode
(7)
Bolt
(8)
Bolt
(9)
Speedometer Driven Gear - Vehicle Speed Sensor (VSS)
(10)
Gear Shift Rod Pawl
(11)
5th Speed Engaging Piece
(12)
3rd & 4th Gear Shift Rod
(13)
1st & 2nd Gear Shift Fork
(14)
Pin
(15)
3rd & 4th Gear Shift Fork
(16)
Pin
(17)
1st & 2nd Gear Shift Rod
(18)
Reverse Gear Shift Rod
(19)
Reverse Gear Shift Fork
(20)
Pin
(21)
Differential Gear Cover Gasket
(22)
Differential Gear Cover
(23)
Bolt
(24)
Backup Lamp Switch
(25)
O-Ring
(26)
Bush
(27)
Sleeve
(28)
Pin
(29)
Pin
(30)
Gear Shift Cover Gasket
(31)
Retaining Ring
(32)
Bush
(33)
Compression Spring
(34)
Plate
(35)
Gear Shift Inter Lever
(36)
Shift Finger
(37)
Gear Shift Lever Cover
(38)
Gear Shift Rod
(39)
Bolt
(40)
Pin
(41)
Clip
(42)
Gear Shift Guide Control
(43)
Plug
(44)
Plug
(45)
Pin