| Connector 1: | A/C Compressor Clutch (1.2L) |
| Connector 2: | A/C Compressor Clutch (1.4/1.5/1.6L) |
| Connector 3: | A/C Refrigerant Pressure Sensor |
| Connector 4: | Blower Motor |
| Connector 5: | Blower Motor Resistor |
| Connector 6: | Blower Switch |
| Connector 7: | Evaporator Temperature Sensor (1.2L Only) |
| Connector 8: | HVAC Control Module |
| Connector 9: | Recirculation Actuator |
Connector Part Information
|
Pin | Wire | Circuit | Function |
|---|---|---|---|
1 | OG/BK | -- | A/C Compressor Clutch Supply Voltage |
Connector Part Information
|
Pin | Wire | Circuit | Function |
|---|---|---|---|
A | OG/BK | -- | A/C Compressor Clutch Supply Voltage (Notchback) |
L-BU | -- | A/C Compressor Clutch Supply Voltage (Hatchback) | |
B | BK | -- | Ground |
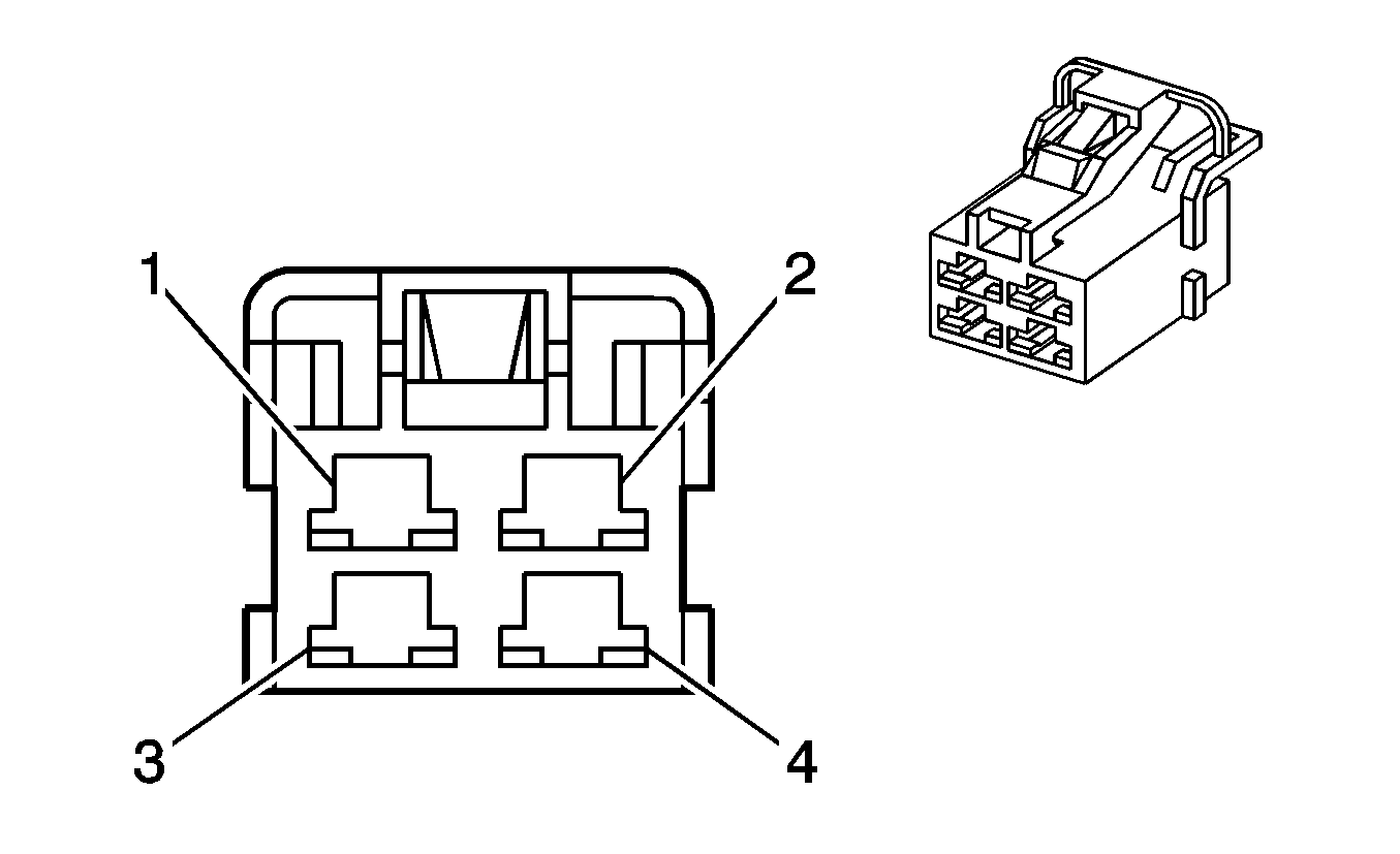
Connector Part Information
|
Pin | Wire | Circuit | Function |
|---|---|---|---|
1 | OG/BK | -- | A/C Refrigerant Pressure Sensor Signal (1.2L) |
OG/BK | -- | 5-Volt Reference (1.4L/1.5L/1.6L) | |
2 | L-BU | -- | Low Reference |
3 | L-GN | -- | 5-Volt Reference (1.2L) |
L-BU | -- | A/C Refrigerant Pressure Sensor Signal (1.4L/1.5L/1.6L) |
Connector Part Information
|
Pin | Wire | Circuit | Function |
|---|---|---|---|
1 | BK | -- | Ground |
2 | RD/BK | -- | Battery Positive Voltage |
Connector Part Information
|
Pin | Wire | Circuit | Function |
|---|---|---|---|
1 | YE | -- | Blower Motor Low Control |
2 | OG | -- | Blower Motor High Control |
3 | BN | -- | Blower Motor Medium 1 Control |
4 | L-BU | -- | Medium 2 Blower Motor Control |
Connector Part Information
|
Pin | Wire | Circuit | Function |
|---|---|---|---|
1 | OG | -- | HVAC On Signal |
2 | OG | -- | Ignition Voltage |
3 | L-BU | -- | Blower Motor Medium 3 Control |
4 | YE | -- | Blower Motor Low Control |
5 | BN | -- | Blower Motor Medium 2 Control |
6 | OG | -- | Blower Motor High Control |
Connector Part Information
|
Pin | Wire | Circuit | Function |
|---|---|---|---|
1 | BU | -- | Evaporator Temperature Sensor Signal |
2 | L-BU | -- | Reference Low |
Connector Part Information
|
Pin | Wire | Circuit | Function |
|---|---|---|---|
1 | BN | -- | Accessory Voltage |
2 | BK | -- | Ground |
3 | BN/WH | -- | Instrument Panel Lamps Supply Voltage |
4 | L-GN/WH | -- | Instrument Panel Lamps Ground (w/o Dimming) |
Instrument Panel Lamps Dimming Control (w/Dimming) | |||
5 | OG | -- | HVAC On Signal |
6 | D-GN/WH | -- | A/C Request Signal |
7 | PK/WH | -- | Recirculation Door Control A |
8 | L-GN/BK | -- | Recirculation Door Control B |
9 | L-BU | -- | Rear Defogger Relay Control |
10 | OG | -- | Battery Positive Voltage |
Connector Part Information
|
Pin | Wire | Circuit | Function |
|---|---|---|---|
1-4 | -- | -- | Not Used |
5 | PK/WH | -- | Recirculation Door Control A |
6 | -- | -- | Not Used |
7 | L-GN/BK | -- | Recirculation Door Control B |