GM Service Manual Online
For 1990-2009 cars only

Caution: To avoid personal injury when exposed to welding flashes or to galvanized (Zinc Oxide) metal toxic fumes while grinding/cutting on any type of metal or sheet molded compound, you must work in a properly ventilated area, wearing an approved respirator, eye protection , earplugs, welding gloves, and protective clothing.

Most monocoque bodies are composed as a single unit by welding together pressed parts made of steel plates which come in a variety of different shapes and sizes. Each part is responsible for displaying a certain strength and durability in order that it may play its role in meeting the functions of the body as a whole.

Damage to the exterior of the body can be inspected visually, but where there has been an external impact, it is necessary to inspect the extent of the damage. In some cases, the deformation has spread beyond the actual areas which were in the collision and so this has to be inspected closely.

Hatch Back


Object Number: 1343669  Size: LF

Points

Dimensions (mm)

Dimensions (in)

A

1,495

58.86

B

1,450

57.09

C

1,670

65.75

D

1,410

55.51

E

587

23.11

F

2,480

97.64

G

3,880

152.76

H

813

32.01

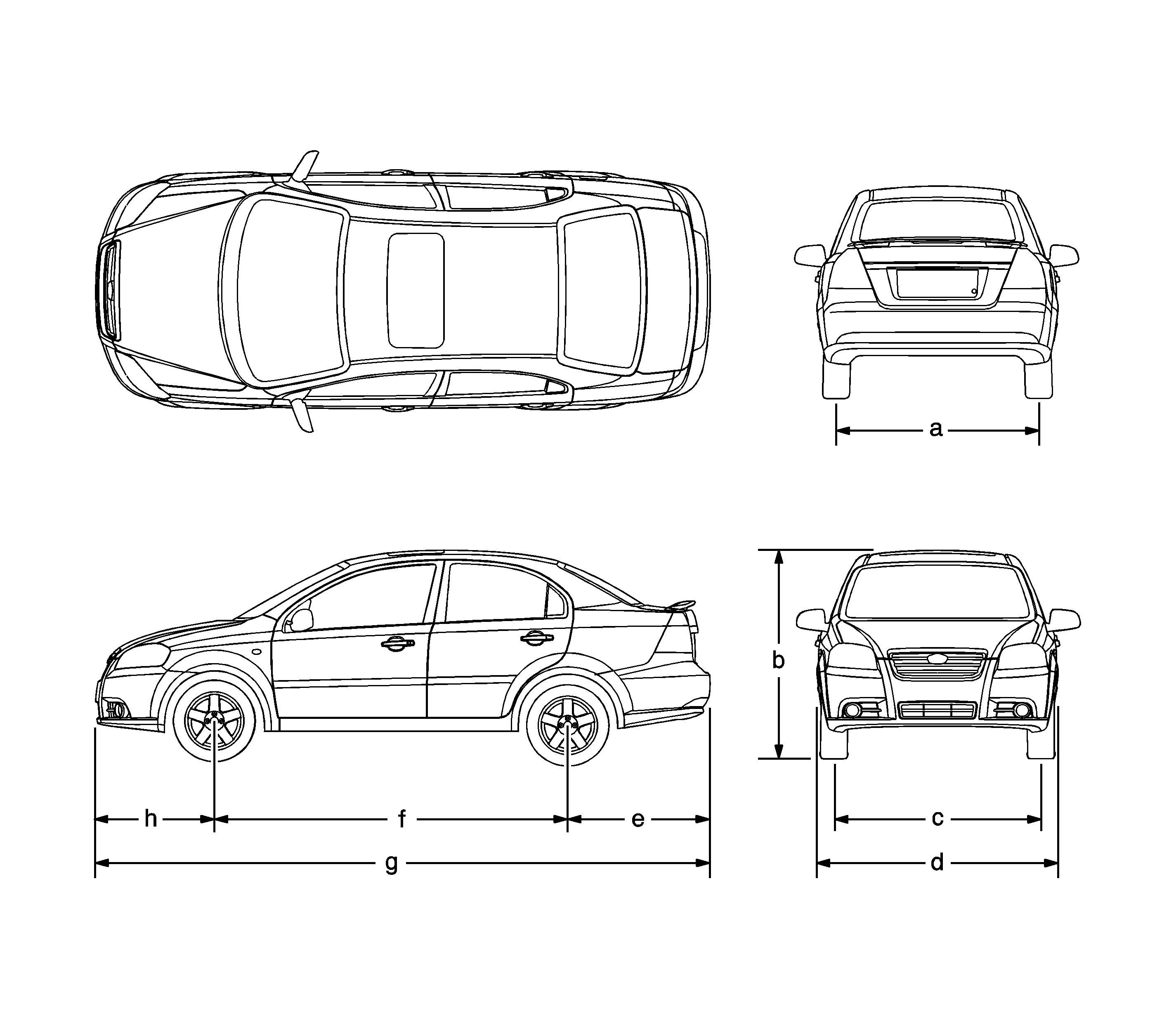
Notch Back


Object Number: 1769527  Size: LF

Points

Dimensions (mm)

Dimensions (in)

A

1,4305

56.30

B

1,505

59.25

C

1,450

57.09

D

1,710

67.32

E

997

39.25

F

2,480

97.64

G

4,310

169.69

H

833

32.80