GM Service Manual Online
For 1990-2009 cars only
Makes
🢒
Pontiac
🢒
2007
🢒
Wave
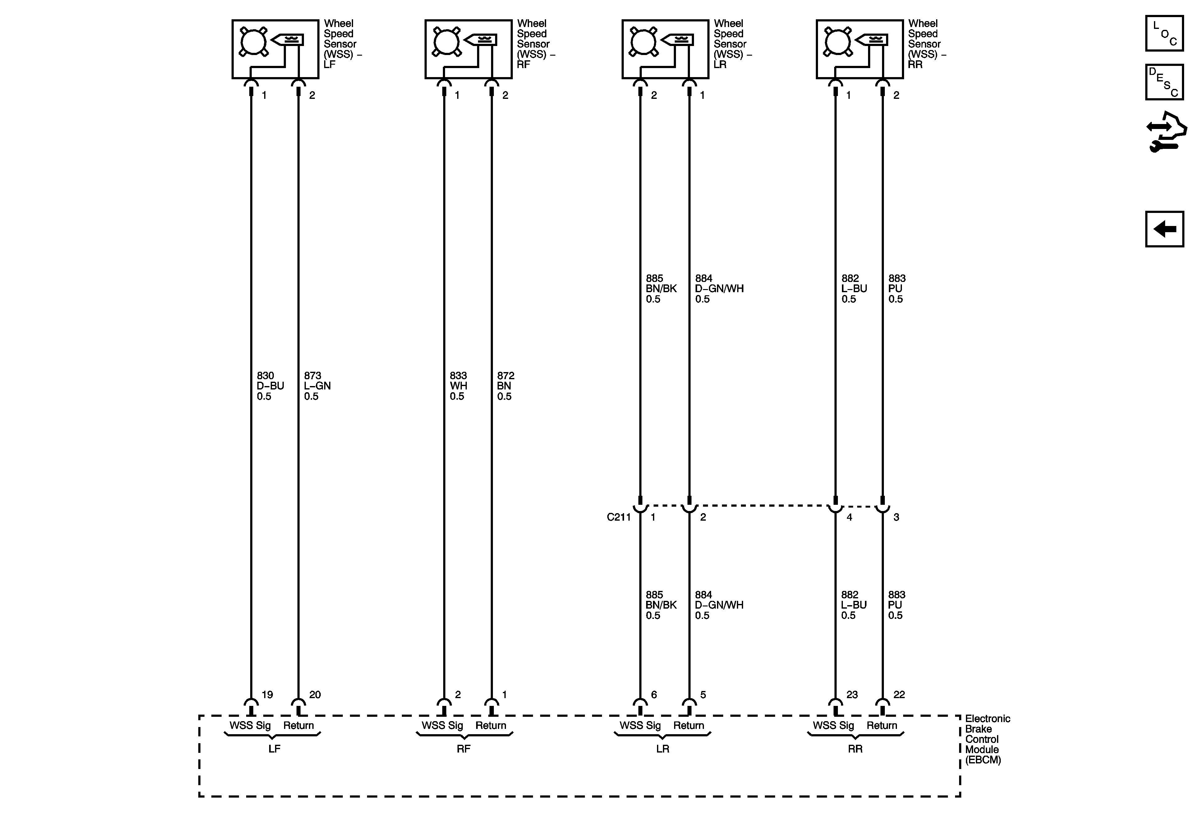
🢒 ABS Wheel Speed Sensor
ABS Wheel Speed Sensor
Wheel Speed Sensors
Master Electrical Component List (Hatchback)
ABS Description and Operation
Control Module References
ABS Power, Ground and Inputs