Important: Remember to remove all paint and other impurities from the surface of the material you intend to weld for reliable results.
Spot welding is also known as resistance spot welding and it is the most suitable method of welding for automobiles. It has 3 main features:
| • | The welding can be performed instantaneously |
| • | It exercises very little effect on the original material |
| • | It reduces the generation of distortion to the absolute minimum |
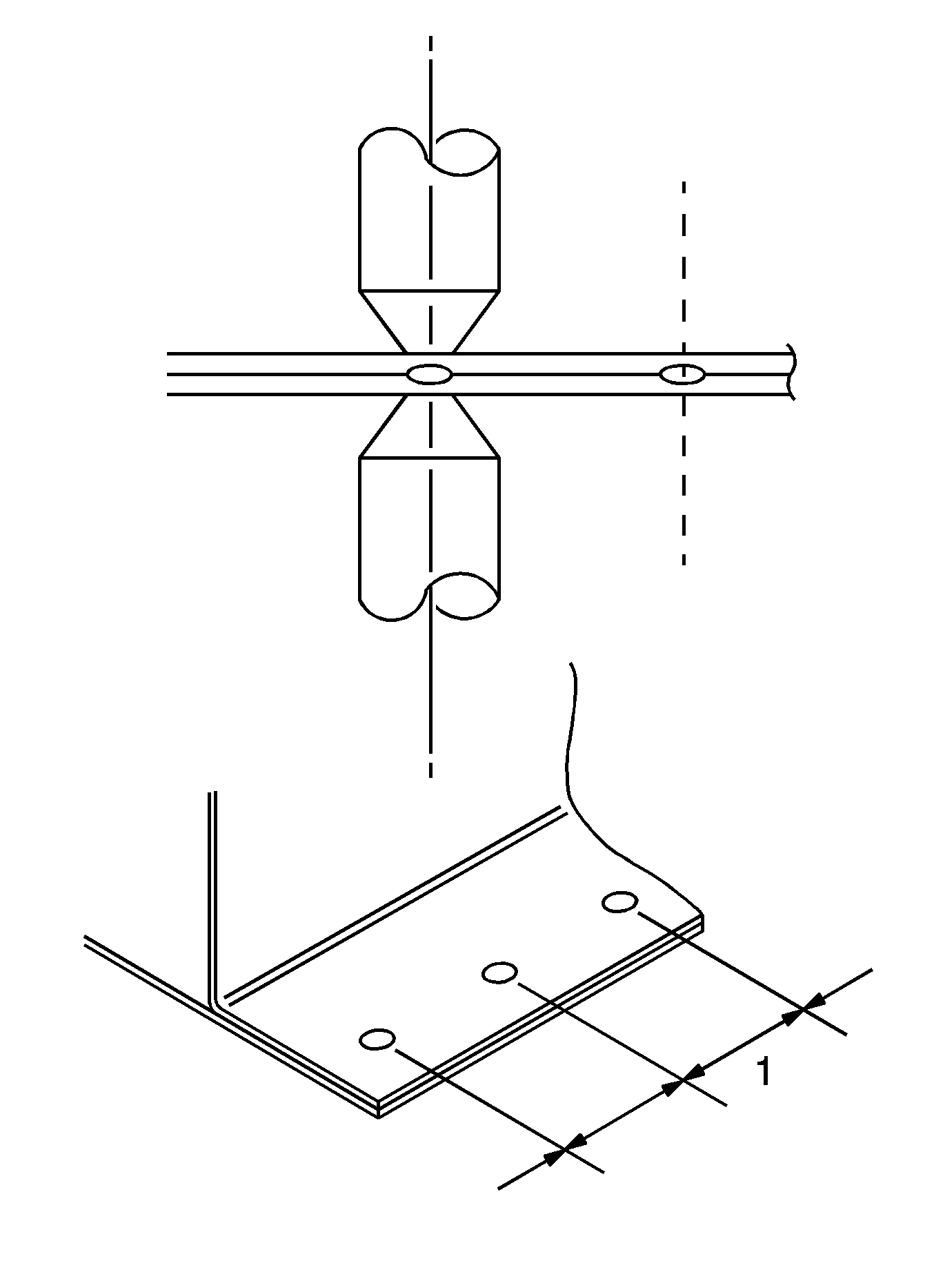
When performing spot welding (3), make absolutely sure that you conform to the conditions governed by the current (2), conductivity time (1), welding pressure, holding time, and shutdown time recommended for the spot welder.
When the welding intervals (1) are too small, this leads to branching, making it impossible to maintain the desired soldering state.
-- | Metric | English |
|---|---|---|
Plate Thickness | 0.6 mm | 0.024 in |
Minimum Intervals | 0.9 mm | 0.035 in |
1.2 mm | 0.047 in | |
1.6 mm | 0.063 in | |
11 mm | 0.433 in | |
16 mm | 0.630 in | |
20 mm | 0.787 in | |
24 mm | 0.944 in |
-- | Metric | English |
|---|---|---|
Plate Thickness | 0.6 mm | 0.024 in |
Minimum Tip Diameter (1) | 0.9 mm | 0.035 in |
1.2 mm | 0.047 in | |
1.6 mm | 0.063 in | |
4.5 mm | 0.177 in | |
5.0 mm | 0.197 in | |
5.5 mm | 0.217 in | |
6.0 mm | 0.236 in |
Even if you perform the welding in accordance with the conditions, the strength of the welded sections may fluctuate widely with drops in the voltage and other factors. The quality of the welding cannot be evaluated unless the welded sections are destroyed.
Provide yourself with a steel plate of the same thickness and conduct a destruction test.
| • | If holes appear in the steel plates (1, 4), this means that the welding is standard strength. |
| • | Drive a wedge (2) between 2 panels near the nugget. If the welded parts do not come apart and the diameter of the nugget (3) appears more than 3 mm, the welding should be satisfactory. |
Important: It is difficult to perform spot welding in the following circumstances.
• When it is not possible to remove any rust or paint attached to the welding surfaces. • When the tip of the spot welder cannot be inserted into the welding section. • When the welding surfaces can be seen from the outside and welding will impair the exterior appearance.
In all these cases, it is recommended that the gas welding method be employed. However, if it is not possible to perform spot welding because of space restrictions, plug welding based on the arc welding method may be performed instead. Here the welding sections must be close together.
Gas welding is indispensable for body repair because of the broad range of its applications from joining the body panels, cutting the materials that construct the body and applying heat to reform panels and also because it is easy to get hold of the tools. However, this method requires experience.