GM Service Manual Online
For 1990-2009 cars only
Connector 1: A/C Compressor Clutch (LMU)
Connector 2: A/C Compressor Clutch (without LMU)
Connector 3: A/C Engine Coolant Temperature (ECT) Sensor (C68)
Connector 4: A/C Refrigerant Pressure Sensor
Connector 5: Accelerator Pedal Position (APP) Sensor (LDT/LXV)
Connector 6: Air Temperature Actuator (C68)
Connector 7: Air Temperature Sensor - Inside (C68)
Connector 8: Ambient Air Temperature Sensor (U68)
Connector 9: Ashtray Lamp
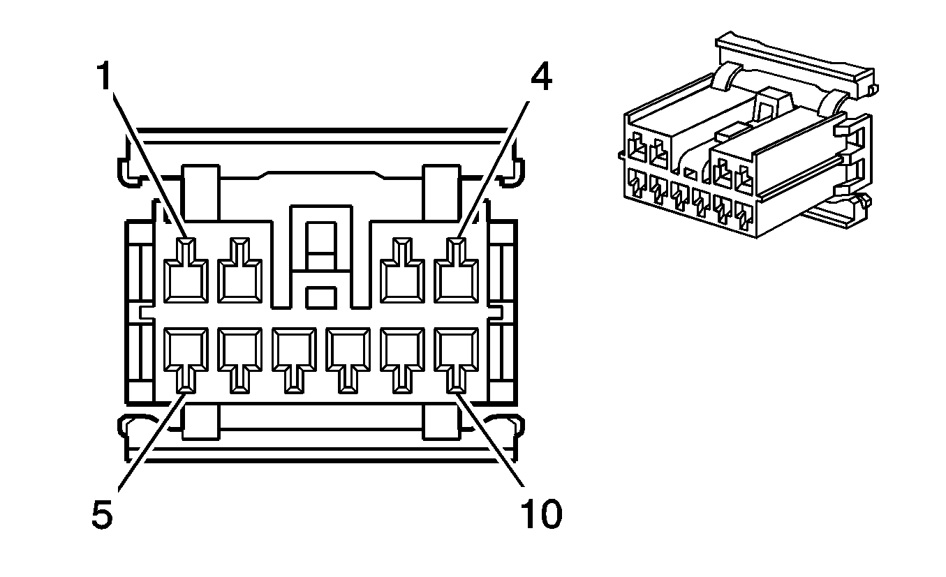
Connector 10: Automatic Transmission
Connector 11: Automatic Transmission Input Shaft Speed (ISS) Sensor
Connector 12: Automatic Transmission Shift Lever
Connector 13: Automatic Transmission Shift Lever Position Indicator
Connector 14: Automatic Transmission Shift Program Switch
Connector 15: Auxiliary Power Outlet
Connector 16: Backup Lamp (Hatchback with WHB)
Connector 17: Backup Lamp Switch (M/T without LMU)
Connector 18: Backup Lamp Switch (LMU with M/T)
Connector 19: Blower Motor
Connector 20: Blower Motor Control Module (C68)
Connector 21: Blower Motor Resistor
Connector 22: Blower Motor Switch (without C68)
Connector 23: Brake Fluid Level Switch
Connector 24: Camshaft Position (CMP) Actuator Solenoid Valve - Exhaust (LDT/LXV)
Connector 25: Camshaft Position (CMP) Actuator Solenoid Valve - Intake (LDT/LXV)
Connector 26: Camshaft Position (CMP) Sensor - Exhaust (LDT/LXV)
Connector 27: Camshaft Position (CMP) Sensor - Intake (LDT/LXV)
Connector 28: Camshaft Position (CMP) Sensor (LMU)
Connector 29: Camshaft Position (CMP) Sensor (L95/LXT)
Connector 30: Camshaft Position (CMP) Sensor (LV8)
Connector 31: Cellular Telephone Microphone (UE1)
Connector 32: Cellular Telephone Microphone (UV8)
Connector 33: Center High Mounted Stop Lamp (CHMSL) (TS6)
Connector 34: Center High Mounted Stop Lamp (CHMSL) (Notchback with T43)
Connector 35: Cigar Lighter
Connector 36: Clock
Connector 37: Clutch Pedal Position (CPP) Switch (WHB with MLM)
Connector 38: Cooling Fan
Connector 39: Courtesy/Reading Lamp (without Sunroof)
Connector 40: Crankshaft Position (CKP) Sensor (LDT/LXV)
Connector 41: Crankshaft Position (CKP) Sensor (without LDT/LXV)
Connector 42: Data Link Connector (DLC)
Connector 43: Data Link Connector (DLC) 2 (JM4)
Connector 44: Door Handle Switch - Driver (LHD with AU3)
Connector 45: Door Handle Switch - Driver (RHD) (AU3)
Connector 46: Door Handle Switch - Passenger (LHD with AU3)
Connector 47: Door Handle Switch - Passenger (RHD with AU3)
Connector 48: Door Lock Actuator - Driver (AU3)
Connector 49: Door Lock Actuator - Left Rear (AU3)
Connector 50: Door Lock Actuator - Liftgate (AU3)
Connector 51: Door Lock Actuator - Passenger (AU3)
Connector 52: Door Lock Actuator - Right Rear (AU3)
Connector 53: Electronic Brake Control Module (EBCM) (JM4)
Connector 54: Engine Control Module (ECM) - Sirius D42 (1.2L) (LMU)
Connector 55: Engine Control Module (ECM) X1 (1.5L) (LV8)
Connector 56: Engine Control Module (ECM) X2 (1.5L) (LV8)
Connector 57: Engine Control Module (ECM) X1 (1.4L, 1.6L) (L95, LXT)
Connector 58: Engine Control Module (ECM) X2 (1.4L, 1.6L) (L95, LXT)
Connector 59: Engine Control Module (ECM) X1 (1.4L) (LDT)
Connector 60: Engine Control Module (ECM) X2 (1.4L) (LDT)
Connector 61: Engine Control Module (ECM) X1 (1.6L) (LXV)
Connector 62: Engine Control Module (ECM) X2 (1.6L) (LXV)
Connector 63: Engine Coolant Temperature (ECT) Sensor
Connector 64: Engine Coolant Temperature (ECT) Sensor (LDT/LXV)
Connector 65: Engine Coolant Temperature (ECT) Sensor 2 (LDT/LXV)
Connector 66: Engine Coolant Thermostat (LDT/LXV)
Connector 67: Engine Oil Level (EOL) Sensor (NT4)
Connector 68: Engine Oil Pressure (EOP) Switch (L95/LV8/LXT)
Connector 69: Engine Oil Pressure (EOP) Switch (LDT/LXV)
Connector 70: Evaporative Emissions (EVAP) Canister Purge Solenoid Valve (LMU)
Connector 71: Evaporative Emissions (EVAP) Canister Purge Solenoid Valve (LDT)
Connector 72: Evaporative Emissions (EVAP) Canister Purge Solenoid Valve (LXV)
Connector 73: Evaporative Emissions (EVAP) Canister Purge Solenoid Valve (L95/LV8/LXT)
Connector 74: Evaporative Emissions (EVAP) Canister Vent Solenoid Valve (LXV)
Connector 75: Evaporator Temperature Sensor (without LDT/WHB)
Connector 76: Exhaust Gas Recirculation (EGR) Valve (LMU)
Connector 77: Exhaust Gas Recirculation (EGR) Valve (L95/LXT)
Connector 78: Fog Lamp - Left Front (T96)
Connector 79: Fog Lamp - Right Front (T96)
Connector 80: Folding Mirror Unit (Notchback with Folding Mirrors)
Connector 81: Fuel Injector 1 (LDT/LXV)
Connector 82: Fuel Injector 2 (LDT/LXV)
Connector 83: Fuel Injector 3 (LDT/LXV)
Connector 84: Fuel Injector 4 (LDT/LXV)
Connector 85: Fuel Injector 1 (LMU/LV8)
Connector 86: Fuel Injector 2 (LMU/LV8)
Connector 87: Fuel Injector 3 (LMU/LV8)
Connector 88: Fuel Injector 4 (LMU/LV8)
Connector 89: Fuel Injector 1 (L95/LXT with NN1)
Connector 90: Fuel Injector 2 (L95/LXT with NN1)
Connector 91: Fuel Injector 3 (L95/LXT with NN1)
Connector 92: Fuel Injector 4 (L95/LXT with NN1)
Connector 93: Fuel Injector 1 (L95/LXT without NN1)
Connector 94: Fuel Injector 2 (L95/LXT without NN1)
Connector 95: Fuel Injector 3 (L95/LXT without NN1)
Connector 96: Fuel Injector 4 (L95/LXT without NN1)
Connector 97: Fuel Pump and Sender Assembly
Connector 98: Fuel Tank Pressure (FTP) Sensor (NQU)
Connector 99: Fuel Tank Pressure (FTP) Sensor (WHB)
Connector 100: Generator (L95/LV8/LXT)
Connector 101: Generator (LDT/LXV)
Connector 102: Generator (LMU)
Connector 103: Hazard Warning Switch
Connector 104: Headlamp - Left
Connector 105: Headlamp - Right
Connector 106: Headlamp Leveling Actuator - Left (T84)
Connector 107: Headlamp Leveling Actuator - Right (T84)
Connector 108: Headlamp Leveling Switch (Except North America)
Connector 109: Headlamp Switch
Connector 110: Heated Oxygen Sensor (HO2S) 1 (LTD/LXV)
Connector 111: Heated Oxygen Sensor (HO2S) 1 (L95/LXT without NN1)
Connector 112: Heated Oxygen Sensor (HO2S) 1 (L95/LXT with NN1)
Connector 113: Heated Oxygen Sensor (HO2S) 1 (LMU)
Connector 114: Heated Oxygen Sensor (HO2S) 2 (L95/LXT/LDT/LXV with NOU/NT4/NU2)
Connector 115: Heated Oxygen Sensor (HO2S) 2 (L95/LV8/LXT with NT3)
Connector 116: Heated Seat Element - Driver Cushion (C37)
Connector 117: Hood Ajar Switch
Connector 118: Horn - Left
Connector 119: Horn - Right (Hatchback)
Connector 120: HVAC Control Module X1 (C68)
Connector 121: HVAC Control Module X2 (C68)
Connector 122: HVAC Control Module (C60)
Connector 123: I/P Compartment Lamp Switch (C99)
Connector 124: I/P Dimmer Switch
Connector 125: Ignition Control Module (ICM) (LDT/LXV)
Connector 126: Ignition Control Module (ICM) (without LDT/LXV)
Connector 127: Ignition Key Alarm Switch (without WHB)
Connector 128: Ignition Key Illumination Lamp (without WHB)
Connector 129: Ignition Lock Cylinder Control Actuator (WHB with MLQ)
Connector 130: Ignition Relay (with WHB)
Connector 131: Ignition Switch (with WHB)
Connector 132: Ignition Switch (without WHB)
Connector 133: Inflatable Restraint Front End Sensor - Left (WHB)
Connector 134: Inflatable Restraint Front End Sensor - Right (WHB)
Connector 135: Inflatable Restraint Front Passanger Presence System (PPS) Sensor (C98)
Connector 136: Inflatable Restraint I/P Module (WHB with C98)
Connector 137: Inflatable Restraint I/P Module (AK5)
Connector 138: Inflatable Restraint I/P Module Disable Switch (C99)
Connector 139: Inflatable Restraint Sensing and Diagnostic Module (SDM) (with WHB)
Connector 140: Inflatable Restraint Sensing and Diagnostic Module (SDM) (without WHB)
Connector 141: Inflatable Restraint Side Impact Module - Left (AJ7)
Connector 142: Inflatable Restraint Side Impact Module - Right (AJ7)
Connector 143: Inflatable Restraint Side Impact Sensor (SIS) - Left (AJ7 with C98)
Connector 144: Inflatable Restraint Side Impact Sensor (SIS) - Left (AJ7 without C98)
Connector 145: Inflatable Restraint Side Impact Sensor (SIS) - Right (AJ7 with C98)
Connector 146: Inflatable Restraint Side Impact Sensor (SIS) - Right (AJ7 without C98)
Connector 147: Inflatable Restraint Steering Wheel Module (WHB with C98)
Connector 148: Inflatable Restraint Steering Wheel Module (AJ3 without C98)
Connector 149: Inflatable Restraint Steering Wheel Module Coil (AJ3 with UV8/WHB)
Connector 150: Instrument Panel Cluster (IPC) X1 (with WHB)
Connector 151: Instrument Panel Cluster (IPC) X2 (with WHB)
Connector 152: Instrument Panel Cluster (IPC) X1 (without WHB)
Connector 153: Instrument Panel Cluster (IPC) X2 (without WHB)
Connector 154: Intake Air Temperature (IAT) Sensor (without WHB)
Connector 155: Intake Air Temperature (IAT) Sensor - HVAC (C68)
Connector 156: Knock Sensor (KS) (LDT/LXV)
Connector 157: Knock Sensor (KS) (LMU)
Connector 158: Knock Sensor (KS) (L95/LV8/LXT)
Connector 159: Lamp Driver Module
Connector 160: License Lamp
Connector 161: Manifold Absolute Pressure (MAP) Sensor (LDT/LXV)
Connector 162: Manifold Absolute Pressure (MAP) Sensor (LMU)
Connector 163: Manifold Absolute Pressure (MAP) Sensor (LV8)
Connector 164: Mass Air Flow (MAF)/Intake Air Temperature (IAT) Sensor (LXV)
Connector 165: Mode Actuator (C68)
Connector 166: Octane Selection Switch (LDT/LXV)
Connector 167: Octane Selection Switch (L95/LXT)
Connector 168: Octane Selection Switch (LMU/LV8)
Connector 169: OnStar X1 (UE1)
Connector 170: OnStar X2 (UE1)
Connector 171: OnStar Backup Battery (UE1)
Connector 172: OnStar Button Assembly (UE1)
Connector 173: Outside Rearview Mirror - Driver (Hatchback with DM7)
Connector 174: Outside Rearview Mirror - Driver (Notchback with DM7)
Connector 175: Outside Rearview Mirror - Passenger (Hatchback with DM7)
Connector 176: Outside Rearview Mirror - Passenger (Notchback with DM7)
Connector 177: Outside Rearview Mirror Switch
Connector 178: Overhead Console Courtesy/Reading Lamps
Connector 179: Park Lamp - Left Front (Hatchback with NA)
Connector 180: Park Lamp - Right Front (Hatchback with NA)
Connector 181: Park/Neutral Position (PNP) Switch (LMU)
Connector 182: Park/Neutral Position (PNP) Switch (without LMU)
Connector 183: Passenger Airbag Disable Switch
Connector 184: Passenger Presence System (PPS) Sensor
Connector 185: Radio (UY4)
Connector 186: Radio X1 (without UY4)
Connector 187: Radio X2 (without UY4)
Connector 188: Radio Antenna X1 (UE1)
Connector 189: Radio Antenna X2 (UE1)
Connector 190: Radio Antenna X1 (XMR)
Connector 191: Radio Antenna X2 (XMR)
Connector 192: Rear Compartment Lamp
Connector 193: Rear Compartment Lid Ajar Switch
Connector 194: Rear Compartment Lid Latch Release Actuator (Notchback)
Connector 195: Rear Compartment Lid Latch Switch (Hatchback)
Connector 196: Rear Window Defogger Grid X1 (Hatchback)
Connector 197: Rear Window Defogger Grid X2 (Hatchback)
Connector 198: Rear Window Defogger Grid (Notchback with UE1)
Connector 199: Rear Window Defogger Grid ( Notchback without UE1)
Connector 200: Rear Window Washer Fluid Pump (Hatchback)
Connector 201: Rear Window Wiper Motor (Hatchback with C25)
Connector 202: Rear Window Wiper Motor (Hatchback with C16)
Connector 203: Recirculation Actuator (C60)
Connector 204: Recirculation Actuator (C68)
Connector 205: Remote Control Door Lock Receiver (RCDLR) (UA5)
Connector 206: Rough Road Sensor (without JM4)
Connector 207: Seat Belt Pretensioner - Driver (A70)
Connector 208: Seat Belt Pretensioner - Passenger (A70)
Connector 209: Seat Belt Switch
Connector 210: Speaker - Left Front
Connector 211: Speaker - Left Rear
Connector 212: Speaker - Left Tweeter
Connector 213: Speaker - Right Front
Connector 214: Speaker - Right Rear
Connector 215: Speaker - Right Tweeter
Connector 216: Starter Relay (MLQ without WHB)
Connector 217: Stop Lamp Switch
Connector 218: Sunload Sensor (C68)
Connector 219: Sunroof Control Module (CF5)
Connector 220: Tail Lamp - Left (Hatchback with T9E)
Connector 221: Tail Lamp - Left (Notchback)
Connector 222: Tail Lamp - Right (Hatchback with T9E)
Connector 223: Tail Lamp - Right (Notchback)
Connector 224: Theft Deterrent Alarm
Connector 225: Theft Detterent Module (TDM) (BAH with WHB)
Connector 226: Theft Detterent Module (TDM) (BAH without WHB)
Connector 227: Throttle Body (LMU)
Connector 228: Throttle Body (LDT/LXV)
Connector 229: Tire Pressure Module (UJ9)
Connector 230: Transmission Control Module (TCM) X1
Connector 231: Transmission Control Module (TCM) X2
Connector 232: Turn Signal Lamp - Left Front (T84)
Connector 233: Turn Signal Lamp - Left Front (FL2)
Connector 234: Turn Signal Lamp - Right Front (T84)
Connector 235: Turn Signal Lamp - Right Front (FL2)
Connector 236: Turn Signal/Hazard Flasher Module
Connector 237: Turn Signal/Multifunction Switch
Connector 238: Turn Signal Repeater Lamp - Left (Hatchback without NA)
Connector 239: Turn Signal Repeater Lamp - Left (Hatchback with NA)
Connector 240: Turn Signal Repeater Lamp - Right (Hatchback without NA)
Connector 241: Turn Signal Repeater Lamp - Right (Hatchback with NA)
Connector 242: Vehicle Speed Sensor (VSS) (LDT/LXV with MLM)
Connector 243: Vehicle Speed Sensor (VSS) (L95/LXT with M/T)
Connector 244: Vehicle Speed Sensor (VSS) (LMU/LV8 with M/T)
Connector 245: Vehicle Speed Sensor (VSS) (XG2)
Connector 246: Vehicle Speed Sensor (VSS) (without XG2)
Connector 247: Wheel Speed Sensor (WSS) - Left Front (JM4)
Connector 248: Wheel Speed Sensor (WSS) - Left Rear (JM4)
Connector 249: Wheel Speed Sensor (WSS) - Right Front (JM4)
Connector 250: Wheel Speed Sensor (WSS) - Right Rear (JM4)
Connector 251: Window Motor - Driver (A31/A32)
Connector 252: Window Motor - Driver (LHD with ABZ)
Connector 253: Window Motor - Driver (RHD with ABZ)
Connector 254: Window Motor - Left Rear (A31)
Connector 255: Window Motor - Passenger (A31)
Connector 256: Window Motor - Right Rear (A31)
Connector 257: Window Switch - Driver (ABZ)
Connector 258: Window Switch - Driver (A31)
Connector 259: Window Switch - Driver (A32)
Connector 260: Window Switch - Left Rear (A31)
Connector 261: Window Switch - Passenger (A31)
Connector 262: Window Switch - Right Rear (A31)
Connector 263: Windshield Washer Fluid Pump
Connector 264: Windshield Wiper Motor
Connector 265: Windshield Wiper/Washer Switch X1
Connector 266: Windshield Wiper/Washer Switch X2

A/C Compressor Clutch (LMU)


Object Number: 1497744  Size: CH

Connector Part Information

  • OEM: MG 610041
  • Service: N/A
  • Description: 1-Way F 250 Series, KET

A/C Compressor Clutch (LMU)

Pin

Wire

Circuit

Function

1

OG/BK

812

A/C Compressor Clutch Supply Voltage

A/C Compressor Clutch (without LMU)


Object Number: 1334534  Size: CH

Connector Part Information

  • OEM: 12162017
  • Service: N/A
  • Description: 2-Way F Metri-Pack 150 Series, Sealed (GY)

A/C Compressor Clutch (without LMU)

Pin

Wire

Circuit

Function

A

OG/BK

812

A/C Compressor Clutch Supply Voltage

B

BK

51

Ground (LDT/LXV)

BK

250

Ground (L95/LV8/LXT)

A/C Engine Coolant Temperature (ECT) Sensor (C68)


Object Number: 1830936  Size: CH

Connector Part Information

  • OEM: MG 620490
  • Service: N/A
  • Description: 2-Way F

A/C Engine Coolant Temperature (ECT) Sensor (C68)

Pin

Wire

Circuit

Function

1

D-GN/RD

--

Coolant Temperature Sensor Signal

2

D-BU/WH

--

Low Reference

A/C Refrigerant Pressure Sensor


Object Number: 1688761  Size: CH

Connector Part Information

  • OEM: 12078090
  • Service: 88988301
  • Description: 3-Way F Metri-Pack 150 Series (BK)

A/C Refrigerant Pressure Sensor

Pin

Wire

Circuit

Function

1

L-GN

432

5-Volt Reference (LMU)

OG/BK

1031

5-Volt Reference (L95/LV8/LXT)

L-BU

1031

5-Volt Reference (LDT/LXV)

2

L-BU

733

Low Reference (LMU)

L-BU

1937

Low Reference (L95/LV8/LXT)

BN

1937

Low Reference (LDT/LXV)

3

OG/BK

203

A/C Refrigerant Pressure Sensor Signal (LMU)

L-BU

203

A/C Refrigerant Pressure Sensor Signal (L95/LV8/LXT)

PU

203

A/C Refrigerant Pressure Sensor Signal (LDT/LXV)

Accelerator Pedal Position (APP) Sensor (LDT/LXV)


Object Number: 1468516  Size: CH

Connector Part Information

  • OEM: 174923-2
  • Service: N/A
  • Description: 6-Way F 070 SRS Series, AMP (BK)

Accelerator Pedal Position (APP) Sensor (LDT/LXV)

Pin

Wire

Circuit

Function

1

YE/RD

1161

APP Sensor 2 Signal

2

D-GN

718

Low Reference

3

YE

1162

APP Sensor 1 Signal

4

RD

645

Low Reference

5

D-BU

474

5-Volt Reference

6

GY

596

5-Volt Reference

Air Temperature Actuator (C68)


Object Number: 1715243  Size: CH

Connector Part Information

  • OEM: MG 651444
  • Service: N/A
  • Description: 3-Way F 030 Series, KET (WH)

Air Temperature Actuator (C68)

Pin

Wire

Circuit

Function

1

RD/D-BU

--

5-Volt Reference

2

BK

--

Ground

3

D-BU

--

Signal

Air Temperature Sensor - Inside (C68)


Object Number: 1468403  Size: CH

Connector Part Information

  • OEM: MG 620630
  • Service: N/A
  • Description: 2-Way M

Air Temperature Sensor - Inside (C68)

Pin

Wire

Circuit

Function

1

WH/BK

--

Inside Air Temperature Sensor Signal

2

D-BU/WH

--

Low Reference

Ambient Air Temperature Sensor (U68)


Object Number: 2184094  Size: CH

Connector Part Information

  • OEM: PB 295-02020
  • Service: N/A
  • Description: 2-Way F NMWP 04F-B Assembly

Ambient Air Temperature Sensor (U68)

Pin

Wire

Circuit

Function

1

YE

61

Outside Ambient Air Temperature Sensor Signal

2

L-GN/BK

735

Low Reference

Ashtray Lamp


Object Number: 1413061  Size: CH

Connector Part Information

  • OEM: MG 610070
  • Service: N/A
  • Description: 2-Way F 090 (2.3 mm) Series (WH)

Ashtray Lamp

Pin

Wire

Circuit

Function

1

BN/WH

--

Illumination Supply Voltage

2

BK

--

Ground

Automatic Transmission


Object Number: 1481269  Size: CH

Connector Part Information

  • OEM: 7283-1407-40
  • Service: N/A
  • Description: 10-Way, Yazaki (GY)

Automatic Transmission

Pin

Wire

Circuit

Function

1

PU

898

Transmission Fluid Temperature Sensor Signal

2

PK

1224

Timing Valve Control

3

OG

1226

Pressure Control Solenoid Control

4

D-BU

1225

Torque Converter Clutch Solenoid Control

5

L-GN

1222

Shift Solenoid 1 Valve Control

6

OG/BK

586

Transmission Fluid Temperature Sensor Low Reference

7

--

--

Not Used

8

YE/BK

1227

Low Reference

9

--

--

Not Used

10

YE/BK

1223

Shift Solenoid 2 Valve Control

Automatic Transmission Input Shaft Speed (ISS) Sensor


Object Number: 1481270  Size: CH

Connector Part Information

  • OEM: 7283-8125-90
  • Service: N/A
  • Description: 2-Way F, Yazaki (BU)

Automatic Transmission Input Shaft Speed (ISS) Sensor

Pin

Wire

Circuit

Function

1

OG

6253

Input Shaft Speed (ISS) Sensor Low Signal

2

WH

6254

Input Shaft Speed (ISS) Sensor High Signal

Automatic Transmission Shift Lever


Object Number: 1467039  Size: CH

Connector Part Information

  • OEM: MG 610396
  • Service: N/A
  • Description: 4-Way F Series Sealed, KET (WH)

Automatic Transmission Shift Lever

Pin

Wire

Circuit

Function

1

OG/BK

434

Automatic Transmission Shift Lock Control (-WHB)

BN

1075

Park Position Switch Signal (WHB)

2

BK

650

Ground

3

OG/BK

434

Automatic Transmission Shift Lock Control (-WHB)

BK

650

Ground (WHB)

4

PU

878

Stop Lamp Switch Signal (-WHB)

OG/BK

434

Automatic Transmission Shift Lock Control (WHB)

Automatic Transmission Shift Lever Position Indicator


Object Number: 1467020  Size: CH

Connector Part Information

  • OEM: MG 610070
  • Service: N/A
  • Description: 2-Way F 090 (2.3 mm) Series, KET (WH)

Automatic Transmission Shift Lever Position Indicator

Pin

Wire

Circuit

Function

1

BN/WH

309

Right Park Lamp Supply Voltage

2

D-GN

230

Instrument Panel Lamps Dimming Control

Automatic Transmission Shift Program Switch


Object Number: 1467047  Size: CH

Connector Part Information

  • OEM: MG 610366
  • Service: N/A
  • Description: 4-Way F PCB 040 Series, KET (WH)

Automatic Transmission Shift Program Switch

Pin

Wire

Circuit

Function

1

D-GN/WH

1135

A/T Shift Lock Control Solenoid Supply Voltage

2

BK

650

Ground

3

BN/WH

309

Right Park Lamp Supply Voltage

4

D-GN

230

Instrument Panel Lamps Dimming Control

Auxiliary Power Outlet


Object Number: 1467007  Size: CH

Connector Part Information

  • OEM: 174197-1
  • Service: N/A
  • Description: 2-Way F HSG Series, (Tyco) (BK)

Auxiliary Power Outlet

Pin

Wire

Circuit

Function

1

BK

450

Ground

2

YE

143

Accessory Voltage

YE

143

Accessory Voltage (UQN)

Backup Lamp (Hatchback with WHB)


Object Number: 387351  Size: CH

Connector Part Information

  • OEM: 35843
  • Service: N/A
  • Description: 2-Way Lamp Socket, Sealed Molex (WH)

Backup Lamp (Hatchback with WHB)

Pin

Wire

Circuit

Function

--

WH

841

Ignition 2 Voltage

--

BK

24

Backup Lamp Supply Voltage

Backup Lamp Switch (M/T without LMU)


Object Number: 2000927  Size: CH

Connector Part Information

  • OEM: AK 7207
  • Service: N/A
  • Description: 2-Way F Metri-Pack 150 Series, (BK)

Backup Lamp Switch (M/T without LMU)

Pin

Wire

Circuit

Function

1

BN

841

Ignition 2 Voltage (-WHB)

BK

51

Ground (WHB)

2

L-GN

24

Backup Lamp Supply Voltage

Backup Lamp Switch (LMU with M/T)


Object Number: 1891421  Size: CH

Connector Part Information

  • OEM: MG 610320
  • Service: N/A
  • Description: 2-Way F SWP Series, KET (BK)

Backup Lamp Switch (LMU with M/T)

Pin

Wire

Circuit

Function

1

BN

841

Ignition 2 Voltage

2

L-GN

24

Backup Lamp Supply Voltage

Blower Motor


Object Number: 1467007  Size: CH

Connector Part Information

  • OEM: MG 610043
  • Service: N/A
  • Description: 2-Way F 250 Series, KET (NA)

Blower Motor

Pin

Wire

Circuit

Function

1

BK

650

Ground (C60)

D-BU/RD

--

Blower Motor Low Control (C68)

2

OG

52

Blower Motor High Control (C60)

RD/WH

--

Blower Motor High Control (C68)

Blower Motor Control Module (C68)


Object Number: 1835057  Size: CH

Connector Part Information

  • OEM: MG 610267
  • Service: N/A
  • Description: 4-Way F

Blower Motor Control Module (C68)

Pin

Wire

Circuit

Function

1

D-BU/YE

--

Blower Motor Speed Control

2

D-BU/RD

--

Blower Motor Control

3

--

--

Not Used

4

BK

--

Ground

Blower Motor Resistor


Object Number: 1835057  Size: CH

Connector Part Information

  • OEM: MG 610267
  • Service: N/A
  • Description: 4-Way F 250 D/L Series, KET (NA)

Blower Motor Resistor

Pin

Wire

Circuit

Function

1

YE

60

Blower Motor Low Control

2

OG

52

Blower Motor High Control

3

BN

63

Blower Motor Medium 1 Control

4

L-BU

72

Medium 2 Blower Motor Control

Blower Motor Switch (without C68)


Object Number: 1467013  Size: CH

Connector Part Information

  • OEM: MG 610049-5
  • Service: N/A
  • Description: 6-Way F 250 Series, KET (BK)

Blower Motor Switch (without C68)

Pin

Wire

Circuit

Function

1

OG

362

Upper Mode Valve Solenoid Control

2

OG

300

Ignition 3 Voltage

3

L-BU

72

Medium 2 Blower Motor Control

4

YE

60

Low Blower Motor Control

5

BN

63

Blower Motor Medium 1 Control

6

OG

52

Blower Motor High Control

Brake Fluid Level Switch


Object Number: 1891421  Size: CH

Connector Part Information

  • OEM: MG 610320-5
  • Service: N/A
  • Description: 2-Way

Brake Fluid Level Switch

Pin

Wire

Circuit

Function

1

BN

33

Brake Warning Indicator Control

2

BK

50

Ground (LHD)

BK

250

Ground (RHD)

Camshaft Position (CMP) Actuator Solenoid Valve - Exhaust (LDT/LXV)


Object Number: 2173571  Size: CH

Connector Part Information

  • OEM: 284556
  • Service: N/A
  • Description: 2-Way F 1.5 Series Sealed, Tyco (GY)

Camshaft Position (CMP) Actuator Solenoid Valve - Exhaust (LDT/LXV)

Pin

Wire

Circuit

Function

1

BN

5282

Camshaft Phaser Exhaust Solenoid (1)

2

OG/BK

1732

Low Reference (-WHB)

PK

1729

Low Reference (WHB)

Camshaft Position (CMP) Actuator Solenoid Valve - Intake (LDT/LXV)


Object Number: 2173571  Size: CH

Connector Part Information

  • OEM: 284556
  • Service: N/A
  • Description: 2-Way F 1.5 Series Sealed, Tyco (GY)

Camshaft Position (CMP) Actuator Solenoid Valve - Intake (LDT/LXV)

Pin

Wire

Circuit

Function

1

BN

5272

Camshaft Phaser Intake Solenoid (2)

2

OG/BK

1732

Low Reference (-WHB)

PK

1730

Low Reference (WHB)

Camshaft Position (CMP) Sensor - Exhaust (LDT/LXV)


Object Number: 2182086  Size: CH

Connector Part Information

  • OEM: 805-121-522
  • Service: N/A
  • Description: 3-Way F 1.2 Series, Sealed (BK)

Camshaft Position (CMP) Sensor - Exhaust (LDT/LXV)

Pin

Wire

Circuit

Function

1

PU

1666

5-Volt Reference

2

BK

5276

Low Reference

3

YE

630

CMP Sensor Signal

Camshaft Position (CMP) Sensor - Intake (LDT/LXV)


Object Number: 2182086  Size: CH

Connector Part Information

  • OEM: 805-121-522
  • Service: N/A
  • Description: 3-Way F 1.2 Series, Sealed (BK)

Camshaft Position (CMP) Sensor - Intake (LDT/LXV)

Pin

Wire

Circuit

Function

1

PU

1667

5-Volt Reference

2

BK

5276

Low Reference

3

YE

633

CMP Sensor Signal

Camshaft Position (CMP) Sensor (LMU)


Object Number: 1467004  Size: CH

Connector Part Information

  • OEM: 85205-1
  • Service: N/A
  • Description: 3-Way F JR Power Timer Series (BK)

Camshaft Position (CMP) Sensor (LMU)

Pin

Wire

Circuit

Function

1

L-GN/WH

630

Camshaft Position (CMP) Sensor Signal

2

YE

1748

Low Reference

3

OG

1732

Ignition 1 Voltage

Camshaft Position (CMP) Sensor (L95/LXT)


Object Number: 1467004  Size: CH

Connector Part Information

  • OEM: 85205-1
  • Service: N/A
  • Description: 3-Way F JR Power Timer Series (BK)

Camshaft Position (CMP) Sensor (L95/LXT)

Pin

Wire

Circuit

Function

1

PK

539

Ignition 1 Voltage

2

BK

50

Low Reference

3

L-BU/BK

1748

Camshaft Position (CMP) Sensor Signal

Camshaft Position (CMP) Sensor (LV8)


Object Number: 1467004  Size: CH

Connector Part Information

  • OEM: 85205-1
  • Service: N/A
  • Description: 3-Way F JR Power Timer Series (BK)

Camshaft Position (CMP) Sensor (LV8)

Pin

Wire

Circuit

Function

1

L-BU/BK

1748

Camshaft Position (CMP) Sensor Signal

2

OG

52

Low Reference

3

PK

539

Ignition 1 Voltage

Cellular Telephone Microphone (UE1)


Object Number: 35441  Size: CH

Connector Part Information

  • OEM: 12047663
  • Service: 12085481
  • Description: 2-Way F Metri-Pack 150 Series

Cellular Telephone Microphone (UE1)

Pin

Wire

Circuit

Function

1

GY

655

Cellular Microphone Signal

2

D-GN

654

Cellular Telephone Microphone Low Reference

Cellular Telephone Microphone (UV8)


Object Number: 1413061  Size: CH

Connector Part Information

  • OEM: MG 610070
  • Service: N/A
  • Description: 2-Way F 090 (2.3 mm) Series, KET (WH)

Cellular Telephone Microphone (UV8)

Pin

Wire

Circuit

Function

1

L-BU/BK

659

Cellular Telephone Voice Low Reference

2

D-BU

658

Cellular Telephone Voice Signal

Center High Mounted Stop Lamp (CHMSL) (TS6)


Object Number: 1467036  Size: CH

Connector Part Information

  • OEM: MG 610392
  • Service: N/A
  • Description: 2-Way F SDL Series, KET (WH)

Center High Mounted Stop Lamp (CHMSL) (TS6)

Pin

Wire

Circuit

Function

1

BK

850

Ground

2

L-BU

20

Stop Lamp Supply Voltage

Center High Mounted Stop Lamp (CHMSL) (Notchback with T43)


Object Number: 1962093  Size: CH

Connector Part Information

  • OEM: MG 630679
  • Service: N/A
  • Description: 2-Way F 090 (2.3 mm) Series, KET (WH)

Center High Mounted Stop Lamp (CHMSL) (Notchback with T43)

Pin

Wire

Circuit

Function

1

L-BU

20

Stop Lamp Supply Voltage

2

BK

450

Ground

Cigar Lighter


Object Number: 1467075  Size: CH

Connector Part Information

  • OEM: MG 630685-5
  • Service: N/A
  • Description: 2-Way F 250 Series, KET (BK)

Cigar Lighter

Pin

Wire

Circuit

Function

1

BK

450

Ground

2

YE

143

Accessory Voltage

Clock


Object Number: 1455867  Size: CH

Connector Part Information

  • OEM: 5557-10R
  • Service: N/A
  • Description: 10-Way F Mini-Fit Jr Series, MLX (NA)

Clock

Pin

Wire

Circuit

Function

1

D-GN/WH

1358

DIC Switch Signal (AJ3-WHB)

2

--

--

Not Used

3

YE

749

Security Indicator Control

4

GY/BK

1357

Passenger Air Bag ON Indicator Control (AJ3)

5

D-GN/WH

1358

Passenger Air Bag OFF Indicator Control (AJ3)

6

PK

139

Ignition 1 Voltage

7

BN/WH

309

Right Park Lamp Supply Voltage

8

YE

43

Accessory Voltage

9

BK

650

Ground

10

RD/WH

540

Battery Positive Voltage

Clutch Pedal Position (CPP) Switch (WHB with MLM)


Object Number: 2184092  Size: CH

Connector Part Information

  • OEM: MG 612034
  • Service: N/A
  • Description: 3-Way F ASC Series, KET (WH)

Clutch Pedal Position (CPP) Switch (WHB with MLM)

Pin

Wire

Circuit

Function

1

D-BU

6338

Manual Transmission Clutch Position Sensor Signal Position

2

OG

7360

Manual Transmission Clutch Position Sensor Return

3

BN

7361

Manual Transmission Clutch Position Sensor Supply

Cooling Fan


Object Number: 1977737  Size: CH

Connector Part Information

  • OEM: 176146-2
  • Service: N/A
  • Description: 2-Way F 187 Series, Sealed Tyco (BK)

Cooling Fan

Pin

Wire

Circuit

Function

1

BK

50

Ground

2

GY

532

Cooling Fan Motor Supply Voltage

Courtesy/Reading Lamp (without Sunroof)


Object Number: 1467049  Size: CH

Connector Part Information

  • OEM: MG 610489
  • Service: N/A
  • Description: 2-Way F 090 (2.3 mm) Series, KET (NA)

Courtesy/Reading Lamp (without Sunroof)

Pin

Wire

Circuit

Function

1

GY

157

Courtesy Lamp Control

2

RD/WH

1340

Battery Positive Voltage

Crankshaft Position (CKP) Sensor (LDT/LXV)


Object Number: 816171  Size: CH

Connector Part Information

  • OEM: 1928403870
  • Service: 88953312
  • Description: 3-Way F Junior Power Timer Series, Sealed Bosch (BK)

Crankshaft Position (CKP) Sensor (LDT/LXV)

Pin

Wire

Circuit

Function

1

YE

1867

Crankshaft Position (CKP) Sensor Signal

2

BK

1869

Low Reference

3

PU

1868

5-Volt Reference

Crankshaft Position (CKP) Sensor (without LDT/LXV)


Object Number: 1467004  Size: CH

Connector Part Information

  • OEM: 85205-1
  • Service: N/A
  • Description: 3-Way F JR Power Timer Series, Tyco (BK)

Crankshaft Position (CKP) Sensor (without LDT/LXV)

Pin

Wire

Circuit

Function

1

D-BU/WH

1869

Crankshaft Position (CKP) Sensor Signal

2

YE/BK

1868

Low Reference

3

BK

50

Ground

Data Link Connector (DLC)


Object Number: 1356339  Size: CH

Connector Part Information

  • OEM: MG 610761
  • Service: N/A
  • Description: 16-Way F SP Series, KET (BK)

Data Link Connector (DLC)

Pin

Wire

Circuit

Function

1

D-GN

5060

Low Speed GMLAN Serial Data (WHB)

2-3

--

--

Not Used

4

BK

450

Ground

5

BK

450

Ground

6

D-GN

1807

Class 2 Serial Data (Primary) (WHB)

PU

1807

Class 2 Serial Data (Primary) (-WHB)

7

BK/WH

2051

Serial Data Signal

8

BK/WH

2051

Serial Data Signal (UA5)

9-13

--

--

Not Used

14

YE

710

Class 2 Serial Data (-WHB)

YE/BK

710

Class 2 Serial Data (WHB)

15

--

--

Not Used

16

RD/WH

240

Battery Positive Voltage

Data Link Connector (DLC) 2 (JM4)


Object Number: 1467076  Size: CH

Connector Part Information

  • OEM: MG 640329-5
  • Service: N/A
  • Description: 3-Way M SWP Series, KET (BK)

Data Link Connector (DLC) 2 (JM4)

Pin

Wire

Circuit

Function

1

BK

250

Ground

2

BK/WH

2051

Serial Data Signal

3

PK

539

Ignition + Voltage

Door Handle Switch - Driver (LHD with AU3)


Object Number: 1891414  Size: CH

Connector Part Information

  • OEM: AK 32421
  • Service: N/A
  • Description: 4-Way M Metri-Pack 150 Series, Packard (GY)

Door Handle Switch - Driver (LHD with AU3)

Pin

Wire

Circuit

Function

A

L-BU

195

Door Lock Control

B

BK

650

Ground

C

WH

194

Door Unlock Control

D

L-GN/RD

262

Driver Door Key Switch Signal

Door Handle Switch - Driver (RHD) (AU3)


Object Number: 1891414  Size: CH

Connector Part Information

  • OEM: AK 32421
  • Service: N/A
  • Description: 4-Way M Metri-Pack 150 Series, Packard (GY)

Door Handle Switch - Driver (RHD) (AU3)

Pin

Wire

Circuit

Function

A

L-GN/RD

262

Driver Door Key Switch Signal

B

WH

194

Door Unlock Control

C

BK

650

Ground

D

L-BU

195

Door Lock Control

Door Handle Switch - Passenger (LHD with AU3)


Object Number: 1891414  Size: CH

Connector Part Information

  • OEM: AK 32421
  • Service: N/A
  • Description: 4-Way M Metri-Pack 150 Series, Packard (GY)

Door Handle Switch - Passenger (LHD with AU3)

Pin

Wire

Circuit

Function

A

L-GN/RD

265

Passenger Door Key Switch Signal

B

--

--

Not Used

C

BK

650

Ground

D

--

--

Not Used

Door Handle Switch - Passenger (RHD with AU3)


Object Number: 1891414  Size: CH

Connector Part Information

  • OEM: AK 32421
  • Service: N/A
  • Description: 4-Way M Metri-Pack 150 Series, Packard (GY)

Door Handle Switch - Passenger (RHD with AU3)

Pin

Wire

Circuit

Function

A

--

--

Not Used

B

BK

650

Ground

C

--

--

Not Used

D

L-GN/RD

265

Passenger Door Key Switch Signal

Door Lock Actuator - Driver (AU3)


Object Number: 1688762  Size: CH

Connector Part Information

  • OEM: AK 6023
  • Service: N/A
  • Description: 2-Way F Metri-Pack 280 Series, Sealed Packard (BK)

Door Lock Actuator - Driver (AU3)

Pin

Wire

Circuit

Function

1

GY

295

Door Lock Actuator Lock Control

2

BN

294

Door Lock Actuator Unlock Control

Door Lock Actuator - Left Rear (AU3)


Object Number: 1688762  Size: CH

Connector Part Information

  • OEM: AK 6023
  • Service: N/A
  • Description: 2-Way F Metri-Pack 280 Series, Sealed Packard (BK)

Door Lock Actuator - Left Rear (AU3)

Pin

Wire

Circuit

Function

1

GY

295

Door Lock Actuator Lock Control

2

BN

294

Door Lock Actuator Unlock Control

Door Lock Actuator - Liftgate (AU3)


Object Number: 1830936  Size: CH

Connector Part Information

  • OEM: MG 620490
  • Service: N/A
  • Description: 2-Way M 090 Series, KET (WH)

Door Lock Actuator - Liftgate (AU3)

Pin

Wire

Circuit

Function

1

BN

294

Door Lock Actuator Unlock Control

2

GY

295

Door Lock Actuator Lock Control

Door Lock Actuator - Passenger (AU3)


Object Number: 1688762  Size: CH

Connector Part Information

  • OEM: AK 6023
  • Service: N/A
  • Description: 2-Way F Metri-Pack 280 Series, Sealed Packard (BK)

`


Door Lock Actuator - Passenger (AU3)

Pin

Wire

Circuit

Function

1

GY

295

Door Lock Actuator Lock Control

2

BN

294

Door Lock Actuator Unlock Control

Door Lock Actuator - Right Rear (AU3)


Object Number: 1688762  Size: CH

Connector Part Information

  • OEM: AK 6023
  • Service: N/A
  • Description: 2-Way F Metri-Pack 280 Series, Sealed Packard (BK)

Door Lock Actuator - Right Rear (AU3)

Pin

Wire

Circuit

Function

1

GY

295

Door Lock Actuator Lock Control

2

BN

294

Door Lock Actuator Unlock Control

Electronic Brake Control Module (EBCM) (JM4)


Object Number: 1883720  Size: CH

Connector Part Information

  • OEM:: 1612683-2
  • Service: N/A
  • Description: 26-Way F 060/187 Series, Tyco (BK)

Electronic Brake Control Module (EBCM) (JM4)

Pin

Wire

Circuit

Function

1

RD

40

Battery Positive Voltage

2

BN

884

Left Rear Wheel Speed Sensor Signal

3

OG

885

Left Rear Wheel Speed Sensor Low Reference

4

--

--

Not Used

5

BN

833

Right Front Wheel Speed Sensor Low Reference

6

D-GN

872

Right Front Wheel Speed Sensor Signal

7

--

--

Not Used

8

L-BU

830

Left Front Wheel Speed Sensor Signal

9

YE

873

Left Front Wheel Speed Sensor Low Reference

10

L-GN/BK

867

ABS Indicator Failure Control

11

WH

883

Right Rear Wheel Speed Sensor Low Reference

12

BN

882

Right Rear Wheel Speed Sensor Signal

13

BK

50

Ground

14

RD

40

Battery Positive Voltage

15

--

--

Not Used

16

L-BU

20

Stop Lamp Supply Voltage

17

--

--

Not Used

18

BK/WH

2051

Serial Data Signal

19

PK

539

Ignition 1 Voltage

20-25

--

--

Not Used

26

BK

50

Ground

Engine Control Module (ECM) - Sirius D42 (1.2L) (LMU)


Object Number: 1500001  Size: CH

Connector Part Information

  • OEM: FC1
  • Service: N/A
  • Description: 90-Way Connector (BK)

Engine Control Module (ECM) - Sirius D42 (1.2L) (LMU)

Pin

Wire

Circuit

Function

1-2

--

--

Not Used

3

BK

50

Ground

4

--

--

Not Used

5

BN

697

Exhaust Gas Recirculation (EGR) Valve Control

6

L-GN

497

Fuel Pump Relay Control

7

BN

1741

Main Relay Control

8

D-GN

135

Engine Coolant Temperature (ECT) Gage Signal

9

D-BU

473

High Speed Cooling Fan Relay Control

10

D-GN

335

Low Speed Cooling Fan Relay Control

11

BK/WH

51

Ground

12

WH

1876

Low Reference

13

BN

469

Low Reference

14

PU

1666

Heated Oxygen Sensor (HO2S) 2 Low Reference

15

--

--

Not Used

16

L-BU

733

Low Reference

17

YE

748

Low Reference

18

--

--

Not Used

19

BN

808

Low Reference

20

OG/BK

203

A/C Pressure Sensor Signal

21

PK

427

Fuel Level Sensor Signal

22

L-GN/WH

630

Camshaft Position (CMP) Sensor Signal

23

WH/BK

--

Serial Data

24

BK

50

Ground

25

BK/WH

51

Ground

26

--

--

Not Used

27

BN

892

Octane Selector Switch

28

BK

50

Ground

29

PK

1739

Ignition 1 Voltage

30

RD/WH

440

Battery Positive Voltage

31

WH

423

Ignition Coil and 2 and 3 Control

32

OG

406

Ignition Coil and 1 and 4 Control

33

BK

50

Ground

34

--

--

Not Used

35

PK/BK

3113

Heated Oxygen Sensor (HO2S) 1 Signal

36-38

--

--

Not Used

39

BN/WH

419

Malfunction Indicator Lamp (MIL) Control

40

PU

30

Fuel Gage Control

41

PU/WH

67

A/C Clutch Relay Control (C60)

42

OG

496

Knock Sensor (KS) Signal

43

D-GN

534

Idle Motor Position Signal

44

D-GN/WH

1665

Heated Oxygen Sensor (HO2S) 1 Low Reference

45

GY

5763

Exhaust Gas Recirculation (EGR) Valve Control

46

L-BU

1936

Fuel Level Sensor Signal

47-48

--

--

Not Used

49

D-BU

732

Evaporator Temperature Sensor Signal

50

L-GN

432

5-Volt Reference

51

D-GN/WH

817

Vehicle Speed Signal

52

D-GN/WH

762

A/C Request Signal

53

L-BU

830

Rough Road Signal

54

D-BU/WH

1869

Crankshaft Position (CKP) Sensor Signal

55

PK

427

Idle Switch Position Signal

56

BK/WH

2051

Serial Data Signal

57

YE

710

CAN Serial Data Low

58

--

--

Not Used

59

L-BU/WH

1747

Fuel Injector 1 Control

60

L-GN/BK

1745

Fuel Injector 3 Control

61

L-BU

425

Idle Speed Motor Feed

62

D-BU

426

Idle Speed Motor Return

63

--

--

Not Used

64

BN

3122

Heated Oxygen Sensor (HO2S) 2 Signal

65

BN

428

EVAP Canister Purge Valve Solenoid Control

66

OG/BK

1733

Ignition 3 Voltage

67

BK

50

Ground

68

WH

121

Engine Speed Signal

69-73

--

--

Not Used

74

D-BU

417

Throttle Position (TP) Sensor Signal

75

GY/BK

433

Manifold Absolute Pressure (MAP) Sensor Signal

76

YE

410

Engine Coolant Temperature (ECT) Sensor Signal

77

--

--

Not Used

78

RD

468

Intake Air Temperature (IAT) Sensor Signal

79

GY

416

5-Volt Reference

80

--

--

Not Used

81

D-GN

890

Octane Selection Switch

82

--

--

Not Used

83

GY

1056

Power Steering Pressure Switch Signal

84

YE

873

Rough Road Sensor Return

85

YE/BK

1868

Low Reference

86-87

--

--

Not Used

88

PU

1807

CAN Serial Data High

89

BN

1744

Fuel Injector 4 Control

90

PK/BK

1746

Fuel Injector 2 Control

Engine Control Module (ECM) X1 (1.5L) (LV8)


Object Number: 1481265  Size: CH

Connector Part Information

  • OEM: 12129231
  • Service: N/A
  • Description: 32-Way Retainer Lock (BK)

Engine Control Module (ECM) X1 (1.5L) (LV8)

Pin

Wire

Circuit

Function

1

BK

50

Ground

2

BK

50

Ground

3

D-BU

496

Knock Sensor (KS) Signal

4-5

--

--

Not Used

6

YE/BK

--

Low Reference

7

L-BU

425

Throttle Position (TP) Sensor Signal

8

L-GN/BK

1745

Fuel Injector 3 Control

9

L-BU/WH

1747

Fuel Injector 1 Control

10

OG

52

Low Reference

11

YE

410

Engine Coolant (ECT) Temperature Sensor Signal

12

D-GN/WH

412

Oxygen Sensor (O2) Signal

13

D-BU

417

Idle Air Control (IAC) B High Control

14

--

--

Not Used

15

PK

427

5-Volt Reference

16

D-BU

732

Low Reference

17

BK

50

Ground

18

WH

423

Ignition Coil 2 and 3 Control

19

OG

406

Ignition Coil 1 and 4 Control

20

D-GN/WH

428

EVAP Canister Purge Valve Solenoid Control

21

D-BU/WH

1869

Crankshaft Position (CKP) Sensor Signal

22

PK/BK

1746

Fuel Injector 2 Control

23

BN

6118

Intake Air Temperature (IAT) Sensor Signal

24

D-GN

432

Manifold Absolute Pressure (MAP) Sensor Signal

25

L-BU/BK

1748

Camshaft Position (CMP) Sensor Signal

26

BN

1744

Fuel Injector 4 Control

27

BN

1665

Oxygen Sensor (O2) Low Reference

28

D-GN

534

Idle Air Control (IAC) A High Control

29

PK/BK

415

Idle Air Control (IAC) B Low Control

30

L-GN/BK

444

Idle Air Control (IAC) A Low Control

31

PU

719

5-Volt Reference

32

BN

808

Low Reference

Engine Control Module (ECM) X2 (1.5L) (LV8)


Object Number: 1468388  Size: CH

Connector Part Information

  • OEM: PED 12129232
  • Service: N/A
  • Description: 32-Way Retainer Lock (CL)

Engine Control Module (ECM) X2 (1.5L) (LV8)

Pin

Wire

Circuit

Function

1

L-BU

1937

Low Reference

2

RD/WH

440

Battery Positive Voltage

3

PK

1739

Ignition 1 Voltage

4-6

--

--

Not Used

7

L-BU

203

A/C Pressure Sensor Signal

8

D-GN

892

Octane Selection Signal 2

9

WH

121

Engine Speed Signal

10

D-GN/WH

732

A/C Request Signal

11

--

--

Not Used

12

D-BU

473

High Speed Cooling Fan Control

13

--

--

Not Used

14

PU

1807

CAN Serial Data High

15

BK/WH

2051

Serial Data Signal

16

--

--

Not Used

17

OG/BK

1031

5-Volt Reference

18

RD/WH

440

Battery Positive Voltage

19

D-BU

1936

Fuel Level Sensor Signal

20-21

--

--

Not Used

22

D-GN

890

Octane Selection Signal 1

23

D-GN/WH

817

Vehicle Speed Sensor (VSS) Signal (Manual Transmission)

24

D-GN

135

Engine Coolant Temperature (ECT) Gage Control

25

--

--

Not Used

26

L-GN

497

Fuel Pump Relay Control

27

GY/D-GN

355

Low Speed Cooling Fan Relay Control

28

PU/WH

67

A/C Clutch Relay Control

29

--

--

Not Used

30

YE

710

Can Serial Data Low

31

PU

30

Fuel Gage Control

32

BN/WH

419

MIL Control

Engine Control Module (ECM) X1 (1.4L, 1.6L) (L95, LXT)


Object Number: 1466972  Size: CH

Connector Part Information

  • OEM: 1-368434-1
  • Service: N/A
  • Description: 64-Way F ECU 64P Series, Tyco (BN)

Engine Control Module (ECM) X1 (1.4L, 1.6L) (L95, LXT)

Pin

Wire

Circuit

Function

1

RD/WH

440

Battery Positive Voltage

2-4

--

--

Not Used

5

D-GN

892

Octane Selector Switch Signal

6

D-GN/WH

817

Vehicle Speed Signal (M/T)

7

BN

834

Rough Road Signal with ABS (JM4)

8-11

--

--

Not Used

12

D-BU

473

High Speed Cooling Fan Relay Control

13

YE

492

Intake Manifold Tuning Valve Control

14

PU

1807

CAN Serial Data High

15

YE

710

CAN Serial Data Low

16

BK

50

Ground

17

RD/WH

440

Battery Positive Voltage

18

PK

1739

Ignition 1 Voltage

19-20

--

--

Not Used

21

D-GN

602

Rough Road Signal (-ABS)

22

L-BU

203

Air Conditioning Refrigerant Pressure Switch Signal

23

--

--

Not Used

24

D-GN

135

Engine Coolant Temperature Gage Control

25

WH

121

Engine Speed Signal

26-27

--

--

Not Used

28

GY/D-GN

355

Low Speed Cooling Fan Relay Control

29

PU/WH

67

Air Conditioning Compressor Clutch Relay Control

30

PU

30

Fuel Gage Control

31

--

--

Not Used

32

BK/WH

2051

Serial Data Signal

33

--

--

Not Used

34

L-BU

1937

Low Reference

35

D-GN/WH

762

Air Conditioning Request Signal

36

BN

413

Heated Oxygen Sensor 2 Signal

37-49

--

--

Not Used

50

OG/BK

1031

5-Volt Reference

51

D-BU

1936

Fuel Level Sensor Signal

52

--

--

Not Used

53

PU

1670

Heated Oxygen Sensor 2 Low Reference

54

L-GN

497

Fuel Pump Relay Control

55-63

--

--

Not Used

64

BN/WH

419

Malfunction Indicator Lamp Control

Engine Control Module (ECM) X2 (1.4L, 1.6L) (L95, LXT)


Object Number: 1501851  Size: CH

Connector Part Information

  • OEM: 0-368434-1
  • Service: N/A
  • Description: 64-Way F ECU 64P Series, Tyco (BK)

Engine Control Module (ECM) X2 (1.4L, 1.6L) (L95, LXT)

Pin

Wire

Circuit

Function

1

WH

423

Ignition Coil 2 and 3 Control

2

BN

1671

Heated Oxygen Sensor 2 Heater Control

3

PK

539

Ignition 1 Voltage

4

BN

452

EVAP Canister Purge Solenoid Control

5

YE/BK

1868

Low Reference

6

L-BU

425

Throttle Position Sensor Signal

7

BN

6118

Intake Air Temperature (IAT) Sensor Signal

8

L-GN

432

Exhaust Gas Recirculation (EGR) Valve Signal

9

GY

5763

Exhaust Gas Recirculation (EGR) Valve Position Sensor Signal

10

--

--

Not Used

11

BN

1744

Fuel Injector #4 Control

12

GN/WH

428

Heated Oxygen Sensor 1 Low Reference

13

D-GN

534

High Idle Switch Output

14

PK/BK

415

Idle Air Control (IAC) Valve Coil B Low Control

15

L-GN/BK

444

Idle Air Control (IAC) Valve Coil A Low Control

16

PU

719

5-Volt Reference

17

--

--

Not Used

18

D-BU

496

Knock Sensor Signal

19

WH

257

Exhaust Gas Recirculation Valve Control

20

--

--

Not Used

21

D-BU/WH

1869

Crankshaft Position Sensor Signal

22

PK/BK

1746

Fuel Injector 2 Control

23

--

--

Not Used

24

L-GN/BK

1745

Fuel Injector 3 Control

25

L-BU/WH

1747

Fuel Injector 1 Control

26

L-BU/BK

1748

Camshaft Position Sensor Signal

27

--

--

Not Used

28

YE

410

Engine Coolant Temperature Sensor Signal

29

BN

1665

Heated Oxygen Sensor 1 Signal

30

D-BU

417

Idle Air Control (IAC) Valve Coil B High Control

31

--

--

Not Used

32

PK

427

5-Volt Reference

33

WH

423

Ignition Coil 2 and 3 Control

34

--

--

Not Used

35

OG

406

Ignition Coil 1 and 4 Control

36

--

--

Not Used

37

BK

50

Ground

38

BK

50

Ground

39

BK

50

Ground

40

BK

50

Ground

41

BK

50

Ground

42-47

--

--

Not Used

48

BN/WH

469

Low Reference

49-50

--

--

Not Used

51

OG

406

Ignition Coil 1 and 4 Control

52

WH

257

Exhaust Gas Recirculation Valve Control

53-63

--

--

Not Used

64

BN

808

Low Reference

Engine Control Module (ECM) X1 (1.4L) (LDT)


Object Number: 1715237  Size: CH

Connector Part Information

  • OEM:15452126
  • Service: N/A
  • Description: 73-Way F Micro Pack 064 Series, Sealed (BK)

Engine Control Module (ECM) X1 (1.4L) (LDT)

Pin

Wire

Circuit

Function

1

RD/WH

440

Battery Positive Voltage

2

--

--

Not Used

3

PK

539

Ignition 1 Voltage

4-9

--

--

Not Used

10

L-BU

830

Rough Road Sensor Signal

11

YE

873

Rough Road Sensor Return

12

WH

1162

APP Sensor 2 Signal

13

GY

121

Engine Speed Signal

14-15

--

--

Not Used

16

YE

710

CAN Bus High Serial Data

17

--

--

Not Used

18

BN

20

Brake Switch Signal

19-21

--

--

Not Used

22

OG

1733

Ignition 1 Voltage

23-24

--

--

Not Used

25

PU

203

A/C High Side Pressure Sensor Signal

26

--

--

Not Used

27

D-BU

1161

APP Sensor 1 Signal

28

BN/BK

1030

Fuel Tank Pressure (FTP) Sensor Signal

29

--

--

Not Used

30

BN

413

Heated Oxygen Sensor (HO2S) 1 Hi Signal

31

--

--

Not Used

32

PU

1807

CAN Bus Low Serial Data

33-34

--

--

Not Used

35

GY

596

5-Volt Reference

36

GY

474

5-Volt Reference

37

BN

1937

Low Reference

38

--

--

Not Used

39

YE

645

Low Reference

40

BN

415

Engine Coolant Temperature Sensor 2 Signal

41

L-BU

817

Vehicle Speed Signal

42-44

--

--

Not Used

45

L-BU

834

Low Reference

46

BN

1671

Oxygen Sensor 2 Heater Low Control

47

--

--

Not Used

48

BN

419

Malfunction Indicator Lamp Control

49

GY

1936

Fuel Level Sensor Signal

50

--

--

Not Used

51

PU/WH

67

A/C Compressor Relay Control

52

WH

30

Fuel Gage Control

53

--

--

Not Used

54

D-GN/WH

718

Low Reference

55

WH

1977

Low Reference

56-57

--

--

Not Used

58

L-BU

1031

5-Volt Reference

59

BN

1937

Low Reference

60

YE

1578

EVAP Canister Purge Solenoid Control

61

--

--

Not Used

62

BN

441

MAIN Relay Control

63-64

--

--

Not Used

65

D-GN/WH

762

A/C Request Signal

66

D-BU

473

Ignition Coil B Control

67

GY/D-GN

355

Oxygen Sensor 1 Heater Low Control

68

WH

135

Ground

69-70

--

--

Not Used

71

L-GN

497

Fuel Pump Relay Control

72

BK/WH

2051

Serial Data Signal

73

BK

50

Ground

Engine Control Module (ECM) X2 (1.4L) (LDT)


Object Number: 1715237  Size: CH

Connector Part Information

  • OEM: PE155848
  • Service: N/A
  • Description: 73-Way F Micro Pack 064 Series, Sealed (GY)

Engine Control Module (ECM) X2 (1.4L) (LDT)

Pin

Wire

Circuit

Function

1

RD

423

Ignition Coil A Control

2

WH

428

Low Reference

3

PU

427

Low Reference

4

L-BU

426

5-Volt Reference

5

PU

1868

Crankshaft Position (CKP) Sensor Signal

6

WH

433

5-Volt Reference

7

PU

1666

Camshaft Position (CMP) Sensor - Exhaust Signal

8

--

--

Not Used

9

WH

6118

5-Volt Reference

10

BN

1665

Heated Oxygen Sensor (HO2S) 1 Hi Signal

11

--

--

Not Used

12

OG

496

Knock Sensor Signal

13

--

--

Not Used

14

GY

53

Oxygen Sensor 1 Heater Low Control

15-16

--

--

Not Used

17

BK

405

Ignition Coil B Control

18

BK

5276

Camshaft Position (CMP) Sensor - Intake Signal

19-20

--

--

Not Used

21

YE

1867

Low Reference

22

--

--

Not Used

23

PU

1667

5-Volt Reference

24

BN

808

Low Reference

25

--

--

Not Used

26

WH

425

Throttle Position Sensor 1 Signal

27

L-BU

469

Manifold Absolute Pressure (MAP) Sensor Signal

28

WH

1876

Low Reference

29

BN

410

5-Volt Reference

30-32

--

--

Not Used

33

D-BU

424

Ignition Coil C Control

34

BK

5276

5-Volt Reference

35

BK

1869

5-Volt Reference

36-38

--

--

Not Used

39

BN/BK

486

Throttle Position Sensor 2 Signal

40-44

--

--

Not Used

45

BN

892

Octane Selector Switch Signal

46

D-GN

890

Octane Selector Switch Signal

47-52

--

--

Not Used

53

PU

406

Ignition Coil D Control

54

BN

5272

Camshaft Position (CMP) Actuator Solenoid Valve - Intake Control Signal

55

YE

630

Low Reference

56

YE

633

Low Reference

57

WH

452

EVAP Canister Purge Solenoid Control

58

BN

465

Camshaft Position (CMP) Actuator Solenoid Valve - Exhaust Control Signal

59

BN

5282

5-Volt Reference

60

--

--

Not Used

61

L-BU

581

ETC Motor Close

62

--

--

Not Used

63

WH

1746

Fuel Injector 2 Control

64

L-GN/BK

1745

Fuel Injector 3 Control

65

L-BU/WH

1747

Fuel Injector 1 Control

66

BN

1744

Fuel Injector 4 Control

67

D-BU

528

ETC Motor Open

68-73

--

--

Not Used

Engine Control Module (ECM) X1 (1.6L) (LXV)


Object Number: 1590948  Size: CH

Connector Part Information

  • OEM: 54395602
  • Service: N/A
  • Description: 56-Way F Connector Assembly (BK)

Engine Control Module (ECM) X1 (1.6L) (LXV)

Pin

Wire

Circuit

Function

1

BN

419

Malfunction Indicator Lamp Control

2

L-GN

497

Fuel Pump Relay Control

3

OG

1733

Ignition 1 Voltage

4

PU/WH

67

A/C Compressor Relay Control

5

GY

474

Low Reference

6

YE

1578

EVAP Canister Vent Solenoid Control

7

L-GN/BK

822

Low Reference (MLM)

8-9

--

--

Not Used

10

PU

1807

CAN Bus High Serial Data - Terminated

11

YE

710

CAN Bus Low Serial Data - Terminated

12

RD/WH

440

Battery Positive Voltage

13

--

--

Not Used

14

PK

539

Ignition 1 Voltage

15

D-BU

473

FAN HI Relay Control

16

BN

441

MAIN Relay Control

17-18

--

--

Not Used

19

GY

596

5-Volt Reference

20

YE

645

Low Reference

21

D-GN/WH

718

Low Reference

22

--

--

Not Used

23

OG

7360

Low Reference (MLM)

24

BN

456

Low Reference

25

BN

20

Brake Switch Signal

26

BN

323

Neutral Start Signal

27

L-BU

817

Vehicle Speed Sensor (VSS) Signal (MLM)

28

L-BU

24

Backup Lamp Supply Voltage (MLM)

29

L-GN

323

Starter Relay Control

30-31

--

--

Not Used

32

BN

7361

5-Volt Reference (MLM)

33

L-BU

1031

5-Volt Reference

34

L-BU

1031

5-Volt Reference

35

--

--

Not Used

36

BN

7007

Vehicle Wake Up Signal

37

--

--

Not Used

38

BN

1973

Low Reference

39

--

--

Not Used

40

WH

1162

APP Sensor 2 Signal

41

PU

203

A/C High Side Pressure Sensor Signal

42

D-BU

1161

APP Sensor 1 Signal

43

BN

465

Cold Start Fuel Injector Control

44

D-GN

355

FAN LOW Relay Control

45

BN

1937

Low Reference

46

WH

1977

Low Reference

47

D-GN

605

5-Volt Reference (MLM)

48-50

--

--

Not Used

51

L-BU

469

MAF Sensor Signal

52

GY

1936

Fuel Level Sensor Signal

53

BN

415

Engine Coolant Temperature (ECT) Sensor 2 Signal

54

WH

455

Intake Air Temperature (IAT) Sensor Signal

55

L-BU

1030

Fuel Tank Pressure (FTP) Sensor Signal

56

D-BU

6338

Clutch Pedal Position (CPP) Sensor Signal (MLM)

Engine Control Module (ECM) X2 (1.6L) (LXV)


Object Number: 1715237  Size: CH

Connector Part Information

  • OEM: 54397302
  • Service: N/A
  • Description: 73-Way F Connector Assembly (BK)

Engine Control Module (ECM) X2 (1.6L) (LXV)

Pin

Wire

Circuit

Function

1

D-GN

225

Generator L Terminal

2

--

--

Not Used

3

BN

413

Heated Oxygen Sensor (HO2S) 2 Hi Signal

4

BN

1665

Heated Oxygen Sensor (HO2S) 1 Hi Signal

5

BN/BK

486

Throttle Position Sensor 1 Signal

6-7

--

--

Not Used

8

L-BU

469

Manifold Absolute Pressure (MAP) Sensor Signal

9

WH

425

Throttle Position Sensor 2 Signal

10

PU

1670

Low Reference

11

YE

630

Camshaft Position (CMP) Sensor - Exhaust Signal

12

BN

1744

Fuel Injector 4

13

PK

1729

Low Reference

14

BN

5282

Camshaft Position (CMP) Actuator Solenoid Valve-Exhaust Control Signal

15

PK

1730

Low Reference

16

WH

1746

Fuel Injector 2

17

--

--

Not Used

18

PU

1868

5-Volt Reference

19

--

--

Not Used

20

WH

428

Low Reference

21

OG

23

Generator F Terminal

22-23

--

--

Not Used

24

D-GN

31

Engine Oil Pressure Switch

25

BN

410

Engine Coolant Temperature (ECT) Sensor Signal

26

YE

1867

Crankshaft Position (CKP) Sensor Signal

27

YE

633

Camshaft Position (CMP) Sensor - Intake Signal

28-31

--

--

Not Used

32

BN

5272

Camshaft Position (CMP) Actuator Solenoid Valve - Intake Control Signal

33

PU

1666

5-Volt Reference

34

--

--

Not Used

35

OG

496

Knock Sensor Signal

36

WH

433

5-Volt Reference

37-38

--

--

Not Used

39

BK

5276

Low Reference

40

BK

5276

Low Reference

41-44

--

--

Not Used

45

BK

1869

Low Reference

46

D-BU

424

Ignition Coil C Control

47

PU

406

Ignition Coil D Control

48

--

--

Not Used

49

YE

131

Low Reference

50

L-BU/WH

1747

Fuel Injector 1

51

L-GN/BK

1745

Fuel Injector 3

52

BN

1671

Oxygen Sensor 2 Heater Low Control

53

--

--

Not Used

54

PU

1667

5-Volt Reference

55

WH

1876

Knock Sensor Signal

56

PU

427

5-Volt Reference

57-59

--

--

Not Used

60

L-BU

426

Low Reference

61

--

--

Not Used

62

BN

808

Low Reference

63

--

--

Not Used

64

WH

808

Low Reference

65

--

--

Not Used

66

WH

452

EVAP Canister Purge Solenoid Control

67

--

--

Not Used

68

L-BU

581

ETC Motor Close

69

D-BU

528

ETC Motor Open

70

RD

423

Ignition Coil A Control

71

BK

405

Ignition Coil B Control

72

GY

53

Oxygen Sensor 1 Heater Low Control

73

BK

50

Ground

Engine Coolant Temperature (ECT) Sensor


Object Number: 62426  Size: CH

Connector Part Information

  • OEM: PED 12040753
  • Service: N/A
  • Description: 2-Way F Metri-Pack 150 Series Sealed, Pull To Seat (BK)

Engine Coolant Temperature (ECT) Sensor

Pin

Wire

Circuit

Function

A

YE

--

Engine Coolant Temperature (ECT) Sensor Signal

B

BN

--

Low Reference

Engine Coolant Temperature (ECT) Sensor (LDT/LXV)


Object Number: 1869767  Size: CH

Connector Part Information

  • OEM: 967644-1
  • Service: N/A
  • Description: 2-Way F 0.64 MQS Series, Sealed (AMP) (BK)

Engine Coolant Temperature (ECT) Sensor (LDT/LXV)

Pin

Wire

Circuit

Function

1

WH

808

Low Reference (WHB)

BN

808

Low Reference (-WHB)

2

BN

410

Engine Coolant Temperature (ECT) Sensor Signal

Engine Coolant Temperature (ECT) Sensor 2 (LDT/LXV)


Object Number: 1869767  Size: CH

Connector Part Information

  • OEM: 0-936059-1
  • Service: N/A
  • Description: 2-Way F 0.64 MQS Series , Sealed Tyco (BK)

Engine Coolant Temperature (ECT) Sensor 2 (LDT/LXV)

Pin

Wire

Circuit

Function

1

BN

415

Engine Coolant Temperature (ECT) Sensor Signal

2

WH

1977

Low Reference

Engine Coolant Thermostat (LDT/LXV)


Object Number: 2184097  Size: CH

Connector Part Information

  • OEM: 1928403920
  • Service: N/A
  • Description: 2-Way F, Sealed Bosch (BK)

Engine Coolant Thermostat (LDT/LXV)

Pin

Wire

Circuit

Function

1

BN

465

Engine Coolant Thermostat Signal

2

OG/BK

1732

Ignition Voltage Reference

Engine Oil Level (EOL) Sensor (NT4)


Object Number: 2001235  Size: CH

Connector Part Information

  • OEM: 936059
  • Service: N/A
  • Description: 2-Way F SLD (2.8 mm) Series, Sealed AMP (BK)

Engine Oil Level (EOL) Sensor (NT4)

Pin

Wire

Circuit

Function

1

WH

550

Ground

2

OG

551

Oil Level Sensor Signal

Engine Oil Pressure (EOP) Switch (L95/LV8/LXT)


Object Number: 95764  Size: CH

Connector Part Information

  • OEM: ZPF 1-2
  • Service: N/A
  • Description: 1-Way F Sealed, Tyco (BK)

Engine Oil Pressure (EOP) Switch (L95/LV8/LXT)

Pin

Wire

Circuit

Function

1

BN

31

Oil Pressure Indicator Control

Engine Oil Pressure (EOP) Switch (LDT/LXV)


Object Number: 2184095  Size: CH

Connector Part Information

  • OEM: MG 610278
  • Service: N/A
  • Description: 1-Way F SWP Series Sealed, KET (BK)

Engine Oil Pressure (EOP) Switch (LDT/LXV)

Pin

Wire

Circuit

Function

1

D-GN

31

Oil Pressure Indicator Control

Evaporative Emissions (EVAP) Canister Purge Solenoid Valve (LMU)


Object Number: 1467003  Size: CH

Connector Part Information

  • OEM: 85202-1
  • Service: N/A
  • Description: 2-Way F Junior Power Timer Series, Sealed (AMP) (BK)

Evaporative Emissions (EVAP) Canister Purge Solenoid Valve (LMU)

Pin

Wire

Circuit

Function

1

BN

428

Low Reference

2

OG

1732

5-Volt Reference

Evaporative Emissions (EVAP) Canister Purge Solenoid Valve (LDT)


Object Number: 1467003  Size: CH

Connector Part Information

  • OEM: 85202-1
  • Service: N/A
  • Description: 2-Way F Junior Power Timer Series, Sealed (AMP) (BK)

Evaporative Emissions (EVAP) Canister Purge Solenoid Valve (LDT)

Pin

Wire

Circuit

Function

1

WH

452

Low Reference

2

OG/BK

1732

Battery Positive Voltage

Evaporative Emissions (EVAP) Canister Purge Solenoid Valve (LXV)


Object Number: 684829  Size: CH

Connector Part Information

  • OEM: 12124037
  • Service: 12101858
  • Description: 2-Way F Metri-Pack 150 Series, Sealed (BK)

Evaporative Emissions (EVAP) Canister Purge Solenoid Valve (LXV)

Pin

Wire

Circuit

Function

A

WH

452

Low Reference

B

OG/BK

1732

5-Volt Reference

Evaporative Emissions (EVAP) Canister Purge Solenoid Valve (L95/LV8/LXT)


Object Number: 684795  Size: CH

Connector Part Information

  • OEM: 12052643
  • Service: N/A
  • Description: 2-Way F Metri-Pack 150 Series, Sealed (RD)

Evaporative Emissions (EVAP) Canister Purge Solenoid Valve (L95/LV8/LXT)

Pin

Wire

Circuit

Function

A

BN

428

EVAP Canister Purge Valve Solenoid Control

B

PK

539

Ignition 1 Voltage

Evaporative Emissions (EVAP) Canister Vent Solenoid Valve (LXV)


Object Number: 684829  Size: CH

Connector Part Information

  • OEM: 32229
  • Service: N/A
  • Description: 2-Way F Metri-Pack 150 Series, Sealed (BK)

Evaporative Emissions (EVAP) Canister Vent Solenoid Valve (LXV)

Pin

Wire

Circuit

Function

A

YE

1578

Fuel Temperature Signal

B

RD/WH

1340

Battery Positive Voltage

Evaporator Temperature Sensor (without LDT/WHB)


Object Number: 1467036  Size: CH

Connector Part Information

  • OEM: MG 610392
  • Service: N/A
  • Description: 2-Way F Series, Sealed KET (WH)

Evaporator Temperature Sensor (without LDT/WHB)

Pin

Wire

Circuit

Function

1

D-BU

732

Evaporator Temperature Sensor Signal

2

L-BU

733

Low Reference

Exhaust Gas Recirculation (EGR) Valve (LMU)


Object Number: 684863  Size: CH

Connector Part Information

  • OEM: 12186139
  • Service: 15306027
  • Description: 5-Way F Metri-Pack 150 Series, Sealed (GY)

Exhaust Gas Recirculation (EGR) Valve (LMU)

Pin

Wire

Circuit

Function

A

BN

697

EGR Valve Supply Voltage

B

BN

808

Low Reference

C

GY

5763

Exhaust Gas Recirculation Valve Sensor Signal

D

GY

416

5-Volt Reference

E

OG

1732

5-Volt Reference

Exhaust Gas Recirculation (EGR) Valve (L95/LXT)


Object Number: 684863  Size: CH

Connector Part Information

  • OEM: 12186139
  • Service: 15306027
  • Description: 5-Way F Metri-Pack 150 Series, Sealed (GY)

Exhaust Gas Recirculation (EGR) Valve (L95/LXT)

Pin

Wire

Circuit

Function

A

WH

257

EGR Solenoid High Control

B

BN/WH

469

Low Reference

C

GY

5763

Exhaust Gas Recirculation Valve Sensor Signal

D

PU

719

Low Reference

E

PK

539

Ignition 1 Voltage

Fog Lamp - Left Front (T96)


Object Number: 1986038  Size: CH

Connector Part Information

  • OEM: PB 625-02027
  • Service: N/A
  • Description: 2-Way F NMWP02F-B Series, Sealed KUM (BK)

Fog Lamp - Left Front (T96)

Pin

Wire

Circuit

Function

1

YE

1769

Fog Lamp Supply Voltage

2

BK

50

Ground

Fog Lamp - Right Front (T96)


Object Number: 1986038  Size: CH

Connector Part Information

  • OEM: PB 625-02027
  • Service: N/A
  • Description: 2-Way F NMWP02F-B Series, Sealed KUM (BK)

Fog Lamp - Right Front (T96)

Pin

Wire

Circuit

Function

1

YE

1769

Fog Lamp Supply Voltage

2

BK

250

Ground

Folding Mirror Unit (Notchback with Folding Mirrors)


Object Number: 1466974  Size: CH

Connector Part Information

  • OEM: 173850
  • Service: N/A
  • Description: 8-Way (WH)

Folding Mirror Unit (Notchback with Folding Mirrors)

Pin

Wire

Circuit

Function

1

D-GN/BK

--

Fold Signal

2

--

--

Not Used

3

RD/WH

--

Battery Positive Voltage

4

BN

--

Ignition 2 Voltage

5

BK

--

Ground

6

--

--

Not Used

7

BN

--

Folding Mirror Motor Feed

8

OG

--

Folding Mirror Motor Feed

Fuel Injector 1 (LDT/LXV)


Object Number: 1527729  Size: CH

Connector Part Information

  • OEM: 15419715
  • Service: 88988313
  • Description: 2-Way F GT 150 Series, Sealed (GY)

Fuel Injector 1 (LDT/LXV)

Pin

Wire

Circuit

Function

A

OG

1733

Ignition 1 Voltage

B

L-BU/WH

1747

Fuel Injector 1 Control

Fuel Injector 2 (LDT/LXV)


Object Number: 1527729  Size: CH

Connector Part Information

  • OEM: 15419715
  • Service: 88988313
  • Description: 2-Way F GT 150 Series, Sealed (GY)

Fuel Injector 2 (LDT/LXV)

Pin

Wire

Circuit

Function

A

OG

1733

Ignition 1 Voltage

B

WH

1746

Fuel Injector 2 Control

Fuel Injector 3 (LDT/LXV)


Object Number: 1527729  Size: CH

Connector Part Information

  • OEM: 15419715
  • Service: 88988313
  • Description: 2-Way F GT 150 Series, Sealed (GY)

Fuel Injector 3 (LDT/LXV)

Pin

Wire

Circuit

Function

A

OG

1733

Ignition 1 Voltage

B

L-GN/BK

1745

Fuel Injector 3 Control

Fuel Injector 4 (LDT/LXV)


Object Number: 1527729  Size: CH

Connector Part Information

  • OEM: 15419715
  • Service: 88988313
  • Description: 2-Way F GT 150 Series, Sealed (GY)

Fuel Injector 4 (LDT/LXV)

Pin

Wire

Circuit

Function

A

OG

1733

Ignition 1 Voltage

B

BN

1744

Fuel Injector 4 Control

Fuel Injector 1 (LMU/LV8)


Object Number: 1466998  Size: CH

Connector Part Information

  • OEM: AMP 368468-1
  • Service: N/A
  • Description: 2-Way F Injector Plug Assembly, Tyco (BK)

Fuel Injector 1 (LMU/LV8)

Pin

Wire

Circuit

Function

1

PK

539

Ignition 1 Voltage

2

L-BU/WH

1747

Fuel Injector 1 Control

Fuel Injector 2 (LMU/LV8)


Object Number: 1466998  Size: CH

Connector Part Information

  • OEM: AMP 368468-1
  • Service: N/A
  • Description: 2-Way F Injector Plug Assembly, Tyco (BK)

Fuel Injector 2 (LMU/LV8)

Pin

Wire

Circuit

Function

1

PK

539

Ignition 1 Voltage

2

PK/BK

1746

Fuel Injector 2 Control

Fuel Injector 3 (LMU/LV8)


Object Number: 1466998  Size: CH

Connector Part Information

  • OEM: AMP 368468-1
  • Service: N/A
  • Description: 2-Way F Injector Plug Assembly, Tyco (BK)

Fuel Injector 3 (LMU/LV8)

Pin

Wire

Circuit

Function

1

PK

539

Ignition 1 Voltage

2

L-GN/BK

1745

Fuel Injector 3 Control

Fuel Injector 4 (LMU/LV8)


Object Number: 1466998  Size: CH

Connector Part Information

  • OEM: AMP 368468-1
  • Service: N/A
  • Description: 2-Way F Injector Plug Assembly, Tyco (BK)

Fuel Injector 4 (LMU/LV8)

Pin

Wire

Circuit

Function

1

PK

539

Ignition 1 Voltage

2

BN

1744

Fuel Injector 4 Control

Fuel Injector 1 (L95/LXT with NN1)


Object Number: 366123  Size: CH

Connector Part Information

  • OEM: 15326181
  • Service: 88988814
  • Description: 2-Way F Micro-Pack 064 Series Sealed, (BK)

Fuel Injector 1 (L95/LXT with NN1)

Pin

Wire

Circuit

Function

A

PK

539

Ignition 1 Voltage

B

L-BU/WH

1747

Fuel Injector 1 Control

Fuel Injector 2 (L95/LXT with NN1)


Object Number: 366123  Size: CH

Connector Part Information

  • OEM: 15326181
  • Service: 88988814
  • Description: 2-Way F Micro-Pack 064 Series Sealed, (BK)

Fuel Injector 2 (L95/LXT with NN1)

Pin

Wire

Circuit

Function

A

PK

539

Ignition 1 Voltage

B

PK/BK

1746

Fuel Injector 2 Control

Fuel Injector 3 (L95/LXT with NN1)


Object Number: 366123  Size: CH

Connector Part Information

  • OEM: 15326181
  • Service: 88988814
  • Description: 2-Way F Micro-Pack 064 Series Sealed, (BK)

Fuel Injector 3 (L95/LXT with NN1)

Pin

Wire

Circuit

Function

A

PK

539

Ignition 1 Voltage

B

L-GN/BK

1745

Fuel Injector 3 Control

Fuel Injector 4 (L95/LXT with NN1)


Object Number: 366123  Size: CH

Connector Part Information

  • OEM: 15326181
  • Service: 88988814
  • Description: 2-Way F Micro-Pack 064 Series Sealed, (BK)

Fuel Injector 4 (L95/LXT with NN1)

Pin

Wire

Circuit

Function

A

PK

539

Ignition 1 Voltage

B

BN

1744

Fuel Injector 4 Control

Fuel Injector 1 (L95/LXT without NN1)


Object Number: 1527729  Size: CH

Connector Part Information

  • OEM: 15419715
  • Service: 88988313
  • Description: 2-Way F GT 150 Series Sealed, (GY)

Fuel Injector 1 (L95/LXT without NN1)

Pin

Wire

Circuit

Function

A

PK

539

Ignition 1 Voltage

B

L-BU/WH

1747

Fuel Injector 1 Control

Fuel Injector 2 (L95/LXT without NN1)


Object Number: 1527729  Size: CH

Connector Part Information

  • OEM: 15419715
  • Service: 88988313
  • Description: 2-Way F GT 150 Series Sealed, (GY)

Fuel Injector 2 (L95/LXT without NN1)

Pin

Wire

Circuit

Function

A

PK

539

Ignition 1 Voltage

B

PK/BK

1746

Fuel Injector 2 Control

Fuel Injector 3 (L95/LXT without NN1)


Object Number: 1527729  Size: CH

Connector Part Information

  • OEM: 15419715
  • Service: 88988313
  • Description: 2-Way F GT 150 Series Sealed, (GY)

Fuel Injector 3 (L95/LXT without NN1)

Pin

Wire

Circuit

Function

A

PK

539

Ignition 1 Voltage

B

L-GN/BK

1745

Fuel Injector 3 Control

Fuel Injector 4 (L95/LXT without NN1)


Object Number: 1527729  Size: CH

Connector Part Information

  • OEM: 15419715
  • Service: 88988313
  • Description: 2-Way F GT 150 Series Sealed, (GY)

Fuel Injector 4 (L95/LXT without NN1)

Pin

Wire

Circuit

Function

A

PK

539

Ignition 1 Voltage

B

BN

1744

Fuel Injector 4 Control

Fuel Pump and Sender Assembly


Object Number: 1967474  Size: CH

Connector Part Information

  • OEM: 936159-1
  • Service: N/A
  • Description: 6-Way F Junior Power Timer Series, Sealed Tyco (WH)

Fuel Pump and Sender Assembly

Pin

Wire

Circuit

Function

1

D-BU

1936

Fuel Level Sensor Signal

2

BK

850

Ground

3

BN

1723

Fuel Pump Supply Voltage

4

PK

539

Ignition Voltage

5

YE

172

Low Fuel Indicator Control

6

L-BU

1937

Low Reference

Fuel Tank Pressure (FTP) Sensor (NQU)


Object Number: 339127  Size: CH

Connector Part Information

  • OEM: 174357-2
  • Service: N/A
  • Description: 3-Way F J MK-II Series (AMP), Sealed (BK)

Fuel Tank Pressure (FTP) Sensor (NQU)

Pin

Wire

Circuit

Function

1

L-BU

1937

Low Reference

2

BN/BK

1030

Fuel Tank Pressure Sensor Signal (TNK)

3

RD/WH

1031

5-Volt Reference (TNK)

Fuel Tank Pressure (FTP) Sensor (WHB)


Object Number: 516611  Size: CH

Connector Part Information

  • OEM: 12059595
  • Service: 12059595
  • Description: 3-Way F Metri-Pack 150 Series, Sealed (BK)

Fuel Tank Pressure (FTP) Sensor (WHB)

Pin

Wire

Circuit

Function

A

L-BU

1937

Low Reference

B

BN/BK

1030

Fuel Tank Pressure Sensor Signal

C

RD/WH

1031

5-Volt Reference

Generator (L95/LV8/LXT)


Object Number: 697046  Size: CH

Connector Part Information

  • OEM: 12186568
  • Service: N/A
  • Description: 4-Way F Metri-Pack 150 Series, Sealed (BK)

Generator (L95/LV8/LXT)

Pin

Wire

Circuit

Function

A

--

--

Not Used

B

BN

25

Charge Indicator Signal

C

PK

1739

Ignition 1 Voltage

D

--

--

Not Used

Generator (LDT/LXV)


Object Number: 62426  Size: CH

Connector Part Information

  • OEM: 12040753
  • Service:12040753
  • Description: 2-Way F Metri-Pack 150 Series, Sealed (BK)

Generator (LDT/LXV)

Pin

Wire

Circuit

Function

A

L-BU

25

Charge Indicator Signal (-WHB)

D-GN

225

Generator Turn On Signa (WHB)

B

PK

539

Ignition 1 Voltage (-WHB)

OG

23

Generator Field Duty Cycle Signal (WHB)

Generator (LMU)


Object Number: 62426  Size: CH

Connector Part Information

  • OEM: 12040753
  • Service:12040753
  • Description: 2-Way F Metri-Pack 150 Series, Sealed (BK)

Generator (LMU)

Pin

Wire

Circuit

Function

A

BN

25

Charge Indicator Signal

B

PK

1739

Ignition 1 Voltage

Hazard Warning Switch


Object Number: 1835998  Size: CH

Connector Part Information

  • OEM: MG 612234-5
  • Service: N/A
  • Description: 10-Way F ASC Series, KET (BK)

Hazard Warning Switch

Pin

Wire

Circuit

Function

1

--

--

Not Used

2

D-GN

230

Instrument Panel Lamps Dimming Control

3

BN/WH

309

Illumination Supply Voltage

4

--

--

Not Used

5

L-BU

14

Left Turn Signal Lamps Supply Voltage

6

D-BU

15

Right Turn Signal Lamps Supply Voltage

7

L-BU

1508

Turn Signal Switch Signal

8

RD/WH

1440

Battery Positive Voltage

9

PU

16

Turn Signal Flasher Signal

PU

16

Turn Signal Flasher Signal

10

PK

339

Ignition 1 Voltage

Headlamp - Left


Object Number: 1481284  Size: CH

Connector Part Information

  • OEM: OPES-PH2
  • Service: N/A
  • Description: 3-Way Connector F (WH)

Headlamp - Left

Pin

Wire

Circuit

Function

1

BN/WH

312

Left Headlamp Low Beam Supply Voltage

2

L-GN/BK

311

Left Headlamp High Beam Supply Voltage

3

BK

50

Ground

Headlamp - Right


Object Number: 1481284  Size: CH

Connector Part Information

  • OEM: OPES-PH2
  • Service: N/A
  • Description: 3-Way Connector F (WH)

Headlamp - Right

Pin

Wire

Circuit

Function

1

YE

712

Right Headlamp Low Beam Supply Voltage

2

D-GN/WH

711

Right Headlamp High Beam Supply Voltage

3

BK

250

Ground

Headlamp Leveling Actuator - Left (T84)


Object Number: 1258004  Size: CH

Connector Part Information

  • OEM: MG 641234-5
  • Service: N/A
  • Description: 3-Way F SSD Series, Sealed KET (BK)

Headlamp Leveling Actuator - Left (T84)

Pin

Wire

Circuit

Function

1

BK

250

Ground

2

D-GN

189

Headlamp Leveling Motor Feed

3

PU

709

Park Lamp Feed - Left

Headlamp Leveling Actuator - Right (T84)


Object Number: 1258004  Size: CH

Connector Part Information

  • OEM: MG 641234-5
  • Service: N/A
  • Description: 3-Way F SSD Series, Sealed KET (BK)

Headlamp Leveling Actuator - Right (T84)

Pin

Wire

Circuit

Function

1

BK

250

Ground

2

D-GN

189

Headlamp Leveling Motor Feed

3

BN/WH

309

Park Lamp Feed - Right

Headlamp Leveling Switch (Except North America)


Object Number: 1468511  Size: CH

Connector Part Information

  • OEM: 5557-06R
  • Service: N/A
  • Description: 6-Way Mini Fit Conn. Rec. Housing (WH)

Headlamp Leveling Switch (Except North America)

Pin

Wire

Circuit

Function

1

BN/WH

--

Right Park Lamp Supply Voltage

2

L-GN/BK

--

Headlamp Low Beam Supply Voltage

3

D-GN

--

Headlamp Leveling Motor Supply Voltage

4

BN/WH

--

Ground

5

--

--

Not Used

6

BK

--

Ground

Headlamp Switch


Object Number: 2182084  Size: CH

Connector Part Information

  • OEM: 5559-06P
  • Service: N/A
  • Description: 6-Way Mini-Fit Series, MLX (NA)

Headlamp Switch

Pin

Wire

Circuit

Function

1

BK

450

Ground

2

BK/WH

1352

Headlamp Control

3

BK/WH

450

Ground

4

--

--

Not Used

5

D-GN/WH

1317

Fog Lamp Relay Control

6

L-BU

74

Park Lamp Switch Signal

Heated Oxygen Sensor (HO2S) 1 (LTD/LXV)


Object Number: 1466979  Size: CH

Connector Part Information

  • OEM: 174257-2
  • Service: N/A
  • Description: 4-Way F 070 J MK-2 Series, Sealed Tyco (BK)

Heated Oxygen Sensor (HO2S) 1 (LTD/LXV)

Pin

Wire

Circuit

Function

1

BN

1665

Heated Oxygen Sensor (HO2S) 1 Signal

2

OG/BK

1732

5-Volt Reference - Ignition

3

WH

428

Heated Oxygen Sensor (HO2S) 1 Signal Return

4

GY

53

Low Reference

Heated Oxygen Sensor (HO2S) 1 (L95/LXT without NN1)


Object Number: 1466979  Size: CH

Connector Part Information

  • OEM: 174257-2
  • Service: N/A
  • Description: 4-Way F 070 J MK-2 Series, Sealed Tyco (BK)

Heated Oxygen Sensor (HO2S) 1 (L95/LXT without NN1)

Pin

Wire

Circuit

Function

1

BN

1665

Heated Oxygen Sensor (HO2S) 1 Signal

2

BK

50

Ground

3

D-GN/WH

428

Heated Oxygen Sensor (HO2S) 1 Signal Return

4

PK

539

Ignition 1 Voltage

Heated Oxygen Sensor (HO2S) 1 (L95/LXT with NN1)


Object Number: 684854  Size: CH

Connector Part Information

  • OEM: 12162144
  • Service: 12102741
  • Description: 4-Way F Metri-Pack 150 Series, Sealed (BK)

Heated Oxygen Sensor (HO2S) 1 (L95/LXT with NN1)

Pin

Wire

Circuit

Function

A

D-GN/WH

428

Heated Oxygen Sensor (HO2S) 1 Signal Return

B

BN

1665

Heated Oxygen Sensor (HO2S) 1 Signal

C

BK

50

Ground

D

PK

539

Ignition 1 Voltage

Heated Oxygen Sensor (HO2S) 1 (LMU)


Object Number: 1940131  Size: CH

Connector Part Information

  • OEM: 625-04027
  • Service: N/A
  • Description: 4-Way F NMWP04F-B Series, Sealed Mitsubishi (BK)

Heated Oxygen Sensor (HO2S) 1 (LMU)

Pin

Wire

Circuit

Function

1

D-CN/WH

1665

Heated Oxygen Sensor (HO2S) 1 Signal

2

PK/BK

3113

Low Reference

3

BN

469

Low Reference

4

OG

1732

5-Volt Reference

Heated Oxygen Sensor (HO2S) 2 (L95/LXT/LDT/LXV with NOU/NT4/NU2)


Object Number: 1940131  Size: CH

Connector Part Information

  • OEM: 625-04027
  • Service: N/A
  • Description: 4-Way F NMWP04F-B Series (Mitsubishi), Sealed (BK)

Heated Oxygen Sensor (HO2S) 2 (L95/LXT/LDT/LXV with NOU/NT4/NU2)

Pin

Wire

Circuit

Function

1

BN

413

Heated Oxygen Sensor (HO2S) 2 Signal

2

PK/BK

1739

Ignition 1 Voltage

3

PU

1670

Heated Oxygen Sensor (HO2S) 2 Low Reference

4

BN

1671

Heated Oxygen Sensor (HO2S) 2 Heater Control

Heated Oxygen Sensor (HO2S) 2 (L95/LV8/LXT with NT3)


Object Number: 684854  Size: CH

Connector Part Information

  • OEM: 12162144
  • Service: 12102741
  • Description: 4-Way F Metri-Pack 150 Series, Sealed (BK)

Heated Oxygen Sensor (HO2S) 2 (L95/LV8/LXT with NT3)

Pin

Wire

Circuit

Function

A

PU

1670

Heated Oxygen Sensor (HO2S) 2 Low Reference

B

BN

413

Heated Oxygen Sensor (HO2S) 2 Signal

C

BN

1671

Heated Oxygen Sensor (HO2S) 2 Heater Control

D

PK/BK

1739

Ignition 1 Voltage

Heated Seat Element - Driver Cushion (C37)


Object Number: 1467007  Size: CH

Connector Part Information

  • OEM: MG 610043
  • Service: N/A
  • Description: 2-Way F 250 Series, KET (NA)

Heated Seat Element - Driver Cushion (C37)

Pin

Wire

Circuit

Function

1

GY/BK

1501

Driver Heated Seat High/Low Signal

2

BK

450

Ground

Hood Ajar Switch


Object Number: 2170051  Size: CH

Connector Part Information

  • OEM: 1743695-2
  • Service: N/A
  • Description: 2-Way F Mark-II Series, Sealed Tyco (BK)

Hood Ajar Switch

Pin

Wire

Circuit

Function

1

PK/BK

109

Hood Ajar Switch Signal

2

RD/WH

440

Battery Positive Voltage

Horn - Left


Object Number: 1527729  Size: CH

Connector Part Information

  • OEM: 15419715
  • Service: See Catalog
  • Description: 2-Way GT 150 Series, Sealed (GY)

Horn - Left

Pin

Wire

Circuit

Function

A

BN

28

Horn Relay Control

B

BK

250

Ground

Horn - Right (Hatchback)


Object Number: 1527729  Size: CH

Connector Part Information

  • OEM: 15419715
  • Service: See Catalog
  • Description: 2-Way GT 150 Series, Sealed (GY)

Horn - Right (Hatchback)

Pin

Wire

Circuit

Function

A

BK

250

Ground

B

BN

28

Horn Relay Control

HVAC Control Module X1 (C68)


Object Number: 2178590  Size: CH

Connector Part Information

  • OEM: 179057-6
  • Service: N/A
  • Description: 20-Way F 040II/070II MK-II Series, Tyco (GY)

HVAC Control Module X1 (C68)

Pin

Wire

Circuit

Function

1

--

--

Not Used

2

L-GN

817

Vehicle Speed Signal

3

YE/BK

92

Windshield Wiper Motor High Speed

4-5

--

--

Not Used

6

RD/YE

--

PTC On

7

--

--

Not Used

8

WH/BK

--

Inside Air Temperature Sensor Signal

9

D-GN/YE

--

Ambient Air Temperature Sensor Signal

10

BK/YE

--

Intake Sensor Signal

11

YE/D-GN

762

A/C Request Signal

12-14

--

--

Not Used

15

D-BU

--

Water Sensor Signal

16

D-GN/RD

--

Coolant Temperature Sensor Signal

17-18

--

--

Not Used

19

YE/RD

--

Sunload Sensor Signal

20

D-BU/WH

735

Low Reference

HVAC Control Module X2 (C68)


Object Number: 2178591  Size: CH

Connector Part Information

  • OEM: 179054-6
  • Service: N/A
  • Description: 16-Way F 040 MK-II Series, Tyco (GY)

HVAC Control Module X2 (C68)

Pin

Wire

Circuit

Function

1

--

--

Not Used

2

YE/WH

239

Ignition 1 Voltage

3

WH/RD

540

Battery Positive Voltage

4

D-GN/BK

230

Instrument Panel Lamps Dimming Control

5

D-GN/WH

309

Right Park Lamp Supply Voltage

6

BN/RD

193

Rear Defog Relay Control

7

--

--

Not Used

8

RD/D-BU

--

VACTR (+)

9

--

--

Not Used

10

D-BU/YE

--

Blower Motor Speed Control

11

D-BU/RD

--

Blower Feedback

12

RD/WH

--

Ignition Voltage

13

BK

--

Ground

14-15

--

--

Not Used

16

D-GN

--

Fan Switch ON

HVAC Control Module (C60)


Object Number: 2178589  Size: CH

Connector Part Information

  • OEM: MG 610404
  • Service: N/A
  • Description: 10-Way F 090 II Series (WH)

HVAC Control Module (C60)

Pin

Wire

Circuit

Function

1

PK

239

Ignition 1 Voltage

2

BK

650

Ground

3

BN/WH

309

Right Park Lamp Supply Voltage

4

D-GN

230

Instrument Panel Lamps Dimming Control

5

OG

362

Upper Mode Valve Solenoid Control

6

D-GN/WH

762

A/C Request Signal

7

PK/WH

1648

Recirculation Door Control A (C60)

8

L-GN/BK

1647

Recirculation Door Control B (C60)

9

L-BU

292

Rear Defog Switch Signal (DWT)

WH

193

Rear Defog Relay Control (-DWT)

10

OG

267

Heated Mirror/Rear Defog Relay Coil Supply Voltage (DWT)

RD/WH

540

Battery Positive Voltage (-DWT)

I/P Compartment Lamp Switch (C99)


Object Number: 1467036  Size: CH

Connector Part Information

  • OEM: AK5306
  • Service: N/A
  • Description: 2-Way F Connector

I/P Compartment Lamp Switch (C99)

Pin

Wire

Circuit

Function

1

RD/WH

1340

Ignition 1 Voltage

2

PU

175

Glove Box Lamp Control

I/P Dimmer Switch


Object Number: 1467010  Size: CH

Connector Part Information

  • OEM: MG610045
  • Service: N/A
  • Description: 3-Way F 250 Series (NA)

I/P Dimmer Switch

Pin

Wire

Circuit

Function

1

D-GN

230

Instrument Panel Lamps Dimming Control

2

BK

450

Ground

3

BN/WH

309

Right Park Lamp Supply Voltage

Ignition Control Module (ICM) (LDT/LXV)


Object Number: 1283903  Size: CH

Connector Part Information

  • OEM: 15317367
  • Service: 15306317
  • Description: 7-Way F GT 150 Series, Sealed (BK)

Ignition Control Module (ICM) (LDT/LXV)

Pin

Wire

Circuit

Function

A

PK

539

Ignition 1 Voltage (WHB)

OG

1733

Ignition 1 Voltage (-WHB)

B

BK

51

Ground

C

YE

131

Low Reference (WHB)

D

RD

423

IC Timing Control

E

PU

406

IC Timing Control [B]

F

BK

405

Lower Air Temperature Sensor Signal

G

D-BU

424

IC Timing Signal

Ignition Control Module (ICM) (without LDT/LXV)


Object Number: 516611  Size: CH

Connector Part Information

  • OEM: 12059595
  • Service: 88986451
  • Description: 3-Way F Metri-Pack 150 Series, Sealed (BK)

Ignition Control Module (ICM) (without LDT/LXV)

Pin

Wire

Circuit

Function

A

WH

423

Ignition Coil (IC) Timing Control 2 and 3

B

PK

539

Ignition 1 Voltage (L95/LV8/LXT)

PK

739

Ignition 1 Voltage (LMU)

C

OG

406

Ignition Coil (IC) Timing Control 1 and 4

Ignition Key Alarm Switch (without WHB)


Object Number: 1413061  Size: CH

Connector Part Information

  • OEM: MG 610070
  • Service: N/A
  • Description: 2-Way F 090 (2.3 mm) Series (WH)

Ignition Key Alarm Switch (without WHB)

Pin

Wire

Circuit

Function

1

RD/WH

540

Battery Positive Voltage

2

L-GN

80

Key In Ignition Switch Signal

Ignition Key Illumination Lamp (without WHB)


Object Number: 1830956  Size: CH

Connector Part Information

  • OEM: MG 610207
  • Service: N/A
  • Description: 2-Way F 090 (2.3 mm) Series (WH)

Ignition Key Illumination Lamp (without WHB)

Pin

Wire

Circuit

Function

1

RD/WH

540

Battery Positive Voltage

2

D-GN/WH

900

Key Illumination Control

Ignition Lock Cylinder Control Actuator (WHB with MLQ)


Object Number: 1385747  Size: CH

Connector Part Information

  • OEM: 15332129
  • Service: 15306425
  • Description: 2-Way F GT 150 Series, (BK)

Ignition Lock Cylinder Control Actuator (WHB with MLQ)

Pin

Wire

Circuit

Function

A

L-GN

1076

Ignition Key Cylinder Solenoid Lock Inhibit

B

BK

450

Ground

Ignition Relay (with WHB)


Object Number: 1837413  Size: CH

Connector Part Information

  • OEM: AK 36907
  • Service: N/A
  • Description: 9-Way Metri-Pack 150 Series (BN)

Ignition Relay (with WHB)

Pin

Wire

Circuit

Function

1

--

--

Not used

2

BK

450

Ground

3

--

--

Not used

4

RD/BK

142

Battery Positive Voltage

5

--

--

Not used

6

L-BU

7003

Ignition Relay Output

7

--

--

Not used

8

PK

3

Ignition 1 Voltage

9

--

--

Not used

Ignition Switch (with WHB)


Object Number: 307727  Size: CH

Connector Part Information

  • OEM: IL-AG5-6S S3C1
  • Service: N/A
  • Description: 6-Way F (GN)

Ignition Switch (with WHB)

Pin

Wire

Circuit

Function

1

L-GN

7009

Ignition 0 Voltage - Acc/Run

2

RD/WH

240

Battery Positive Voltage

3

OG

7004

Ignition 1 Voltage - Run/Crank

4

RD/BK

7008

Ignition 3 Voltage - Run

5

BN

7007

Vehicle Wake Up Signal

6

--

--

Not Used

Ignition Switch (without WHB)


Object Number: 1891429  Size: CH

Connector Part Information

  • OEM: MG 650887
  • Service: N/A
  • Description: 6-Way F 250 III Series, KET (BK)

Ignition Switch (without WHB)

Pin

Wire

Circuit

Function

1

OG

300

Ignition 3 Voltage

2

RD/BK

42

Battery Positive Voltage

3

YE

5

Crank Voltage

4

PK

3

Ignition 1 Voltage

5

RD/BK

142

Battery Positive Voltage

6

BN

4

Accessory Voltage

Inflatable Restraint Front End Sensor - Left (WHB)


Object Number: 2179777  Size: CH

Connector Part Information

  • OEM: 54390240
  • Service: N/A
  • Description: 2-Way F 64 Series, FCI (GY)

Inflatable Restraint Front End Sensor - Left (WHB)

Pin

Wire

Circuit

Function

1

YE/BK

6169

Front Discriminating Sensor - Left - Low

2

YE

6168

Front Discriminating Sensor - Left - High

Inflatable Restraint Front End Sensor - Right (WHB)


Object Number: 2179777  Size: CH

Connector Part Information

  • OEM: 54390240
  • Service: N/A
  • Description: 2-Way F 64 Series, FCI (GY)

Inflatable Restraint Front End Sensor - Right (WHB)

Pin

Wire

Circuit

Function

1

L-GN

6777

Front Discriminating Sensor - Left - Low

2

BN/WH

6776

Front Discriminating Sensor - Left - High

Inflatable Restraint Front Passanger Presence System (PPS) Sensor (C98)


Object Number: 339127  Size: CH

Connector Part Information

  • OEM: 174357-2
  • Service: N/A
  • Description: 3-Way 070 Econoseal Series, Sealed Tyco (BK)

Inflatable Restraint Front Passanger Presence System (PPS) Sensor (C98)

Pin

Wire

Circuit

Function

1

PK

1739

Ignition 1 Voltage

2

BN/WH

5060

Low Speed GMLAN Serial Data

3

BK

250

Ground

Inflatable Restraint I/P Module (WHB with C98)


Object Number: 1879122  Size: CH

Connector Part Information

  • OEM: 54550400
  • Service: N/A
  • Description: 4-Way F 2.8 Series, FCI (YE)

Inflatable Restraint I/P Module (WHB with C98)

Pin

Wire

Circuit

Function

1

PU

3026

I/P Module - Stage 2 - Low Control

2

GY

3027

I/P Module - Stage 2 - High Control

3

WH/BK

1403

I/P Module - High Control

4

D-GN/WH

1404

I/P Module - Low Control

Inflatable Restraint I/P Module (AK5)


Object Number: 1481288  Size: CH

Connector Part Information

  • OEM: 60201724
  • Service: N/A
  • Description: 2-Way 2.8 Series, FCI (YE)

Inflatable Restraint I/P Module (AK5)

Pin

Wire

Circuit

Function

1

WH/D-GN

1403

I/P Module - High Control

2

D-GN/WH

1404

I/P Module - Low Control

Inflatable Restraint I/P Module Disable Switch (C99)


Object Number: 2001995  Size: CH

Connector Part Information

  • OEM: 54550400
  • Service: N/A
  • Description: 8-Way F 64 MQS Series, Tyco (YE)

Inflatable Restraint I/P Module Disable Switch (C99)

Pin

Wire

Circuit

Function

1

D-GN/WH

1358

DIC Switch Signal

2

BK

250

Ground

3

D-GN

2308

Passenger Air Bag Off Indicator Control

4

PU

175

Glove Box Lamp Control

5

BK

250

Ground

6-8

--

--

Not used

Inflatable Restraint Sensing and Diagnostic Module (SDM) (with WHB)


Object Number: 1468532  Size: CH

Connector Part Information

  • OEM: 8-0638595-5
  • Service: N/A
  • Description: 60-Way 64 GET Series, Sealed Tyco (YE)

Inflatable Restraint Sensing and Diagnostic Module (SDM) (with WHB)

Pin

Wire

Circuit

Function

1

BK

250

Ground

2

BK/WH

5060

Low Speed GMLAN Serial Data

3

--

--

Not Used

4

PK

3022

Steering Wheel Module - Stage2 - Low Control (C98)

OG/WH

2119

Seat Belt Pretensioner - Left - Low Control (-C98)

5

WH

3023

Steering Wheel Module - Stage2 - High Control (C98)

BN/WH

2118

Seat Belt Pretensioner - Left - High Control (-C98)

6

GY

3027

I/P Module - Stage 2 - High Control (C98)

L-GN

2116

Seat Belt Pretensioner - Right - High Control (-C98)

7

PU

3026

I/P Module - Stage 2 - Low Control (C98)

OG

2117

Seat Belt Pretensioner - Right - Low Control (-C98)

8

D-GN

348

Steering Wheel Module - Low Control

9

WH

347

Steering Wheel Module - High Control

10

WH/BK

1403

I/P Module - High Control

11

D-GN/WH

1404

I/P Module - Low Control

12

BN

2106

Side Impact Module - Left - Low Control

13

D-GN

2105

Side Impact Module - Left - High Control

14

GY

2103

Side Impact Module - Right - High Control

15

D-BU

2104

Side Impact Module - Right - Low Control

16

OG/WH

2119

Seat Belt Pretensioner - Left - Low Control (C98)

17

BN/WH

2118

Seat Belt Pretensioner - Left - High Control (C98)

18

L-GN

2116

Seat Belt Pretensioner - Right - High Control (C98)

19

OG

2117

Seat Belt Pretensioner - Right - Low Control (C98)

20-30

--

--

Not Used

31

RD/WH

240

Battery Positive Voltage

32

PK

139

Ignition 1 Voltage

33-35

--

--

Not Used

36

PU

6168

Middle Front Impact Sensing Module Supply Voltage

37

BK

6776

Middle Front Impact Sensing Module (2) Supply Voltage

38

RD

6169

Middle Front Impact Sensing Module Signal

39

D-GN

6777

Middle Front Impact Sensing Module (2) Signal

40

GY/BK

6621

Left Middle Side Impact Sensing Module Low Reference

41

L-GN/WH

6625

Right Middle Side Impact Sensing Module Low Reference

42

D-GN/WH

6620

Left Middle Side Impact Sensing Module Signal

43

L-BU/BK

6624

Right Middle Side Impact Sensing Module Signal

44-58

--

--

Not Used

59

BN/WH

238

Seat Belt Switch - Left

60

--

--

Not Used

Inflatable Restraint Sensing and Diagnostic Module (SDM) (without WHB)


Object Number: 1739061  Size: CH

Connector Part Information

  • OEM: 1417642
  • Service: N/A
  • Description: 75-Way, Tyco

Inflatable Restraint Sensing and Diagnostic Module (SDM) (without WHB)

Pin

Wire

Circuit

Function

1-25

--

--

Not Used

26

PK

139

Ignition Voltage

27

BN

358

SIR Indicator Lamp Control

28

BK

250

Ground

29

D-GN

348

Steering Wheel Module - Low Control

30

WH

347

Steering Wheel Module - High Control

31

WH/BK

1403

I/P Module - High Control

32

GN/WH

1404

I/P Module - Low Control

33

OG/WH

2119

Seat Belt Pretensioner - Left - Low Control (LHD)

OG

2117

Seat Belt Pretensioner - Right - Low Control (RHD)

34

BN/WH

2118

Seat Belt Pretensioner - Left - High Control (LHD)

L-GN

2116

Seat Belt Pretensioner - Right - High Control (RHD)

35

L-GN

2116

Seat Belt Pretensioner - Right - High Control (LHD)

BN/WH

2118

Seat Belt Pretensioner - Left - High Control (RHD)

36

OG

2117

Seat Belt Pretensioner - Right - Low Control (LHD)

OG/WH

2119

Seat Belt Pretensioner - Left - Low Control (RHD)

37

BN

2106

Side Impact Module - Left - Low Control (LHD)

D-BU

2104

Side Impact Module - Right - Low Control (RHD)

38

D-GN

2105

Side Impact Module - Left - High Control (LHD)

GY

2103

Side Impact Module - Right - High Control (RHD)

39

GY

2103

Side Impact Module - Right - High Control (LHD)

D-GN

2105

Side Impact Module - Left - High Control (RHD)

40

D-BU

2104

Side Impact Module - Right - Low Control (LHD)

BN

2106

Side Impact Module - Left - Low Control (RHD)

41-51

--

--

Not Used

52

YE

234

Seat Belt Indicator Control

53

--

--

Not Used

54

L-BU

327

SIR Serial Data

55

--

--

Not Used

56

D-GN/WH

1358

DIC Switch Signal

57

L-BU

2221

Vehicle Speed Sensor Signal

58

--

--

Not Used

59

L-GN

1845

Chime Control

60

D-GN

2308

Passenger Air Bag Off Indicator Control

61

BN/WH

238

Seat Belt Switch Signal

62-67

--

--

Not Used

68

L-GN/WH

6625

Right Middle Side Impact Sensing Module Low Reference (LHD)

GY/BK

6621

Left Middle Side Impact Sensing Module Low Reference (RHD)

69

L-BU/BK

6624

Right Middle Side Impact Sensing Module Signal (LHD)

D-GN/WH

6620

Left Middle Side Impact Sensing Module Signal (RHD)

70

D-GN/WH

6620

Left Middle Side Impact Sensing Module Signal (LHD)

L-BU/BK

6624

Right Middle Side Impact Sensing Module Signal (RHD)

71

GY/BK

6621

Left Middle Side Impact Sensing Module Low Reference (LHD)

L-GN/WH

6625

Right Middle Side Impact Sensing Module Low Reference (RHD)

72-75

--

--

Not Used

Inflatable Restraint Side Impact Module - Left (AJ7)


Object Number: 1957570  Size: CH

Connector Part Information

  • OEM: 7C83-5524-70
  • Service: N/A
  • Description: 2-Way F 040 III Series, Sealed Yazaki (YE)

Inflatable Restraint Side Impact Module - Left (AJ7)

Pin

Wire

Circuit

Function

1

BN

2106

Side Impact Module - Left - Low Control

2

D-GN

2105

Side Impact Module - Left - High Control

Inflatable Restraint Side Impact Module - Right (AJ7)


Object Number: 1957570  Size: CH

Connector Part Information

  • OEM: 7C83-5524-70
  • Service: N/A
  • Description: 2-Way F 040 III Series, Sealed Yazaki (YE)

Inflatable Restraint Side Impact Module - Right (AJ7)

Pin

Wire

Circuit

Function

1

D-BU

2104

Side Impact Module - Right - Low Control

2

GY

2103

Side Impact Module - Right - High Control

Inflatable Restraint Side Impact Sensor (SIS) - Left (AJ7 with C98)


Object Number: 1409647  Size: CH

Connector Part Information

  • OEM: 15356723
  • Service: 15306439
  • Description: 2-Way F GT 150 Series Sealed, Delphi (YE)

Inflatable Restraint Side Impact Sensor (SIS) - Left (AJ7 with C98)

Pin

Wire

Circuit

Function

1

GY/BK

6621

Left Side Impact Sensor - Low

2

D-GN/WH

6620

Left Side Impact Sensor - High

Inflatable Restraint Side Impact Sensor (SIS) - Left (AJ7 without C98)


Object Number: 1908462  Size: CH

Connector Part Information

  • OEM: 7283-6502-50
  • Service: N/A
  • Description: 2-Way F 040 III Series Sealed, Yazaki (OG)

Inflatable Restraint Side Impact Sensor (SIS) - Left (AJ7 without C98)

Pin

Wire

Circuit

Function

1

GY/BK

6621

Left Side Impact Sensor - Low

2

D-GN/WH

6620

Left Side Impact Sensor - High

Inflatable Restraint Side Impact Sensor (SIS) - Right (AJ7 with C98)


Object Number: 1409647  Size: CH

Connector Part Information

  • OEM: 15356723
  • Service: 15306439
  • Description: 2-Way F GT 150 Series Sealed, Delphi (YE)

Inflatable Restraint Side Impact Sensor (SIS) - Right (AJ7 with C98)

Pin

Wire

Circuit

Function

1

L-GN/WH

6625

Right Side Impact Sensor - Low

2

L-BU/BK

6624

Right Side Impact Sensor - High

Inflatable Restraint Side Impact Sensor (SIS) - Right (AJ7 without C98)


Object Number: 1908462  Size: CH

Connector Part Information

  • OEM: 7283-6502-50
  • Service: N/A
  • Description: 2-Way F 040 III Series Sealed (OG)

Inflatable Restraint Side Impact Sensor (SIS) - Right (AJ7 without C98)

Pin

Wire

Circuit

Function

1

L-GN/WH

6625

Right Side Impact Sensor - Low

2

L-BU/BK

6624

Right Side Impact Sensor - High

Inflatable Restraint Steering Wheel Module (WHB with C98)


Object Number: 1963315  Size: CH

Connector Part Information

  • OEM: 0-1411142-1
  • Service: N/A
  • Description: 4-Way F Socet, Tyco (YE)

Inflatable Restraint Steering Wheel Module (WHB with C98)

Pin

Wire

Circuit

Function

1

D-GN

348

Steering Wheel Module - Low Control

2

WH

347

Steering Wheel Module - High Control

3

PK

3022

Steering Wheel Module - Stage2 - Low Control

4

WH

3023

Steering Wheel Module - Stage2 - High Control

Inflatable Restraint Steering Wheel Module (AJ3 without C98)


Object Number: 1986039  Size: CH

Connector Part Information

  • OEM: 1393433-8
  • Service: N/A
  • Description: 2-Way F 070 Series, Tyco (YE)

Inflatable Restraint Steering Wheel Module (AJ3 without C98)

Pin

Wire

Circuit

Function

1

D-GN

348

Steering Wheel Module - Low Control

2

WH

347

Steering Wheel Module - High Control

Inflatable Restraint Steering Wheel Module Coil (AJ3 with UV8/WHB)


Object Number: 1884157  Size: CH

Connector Part Information

  • OEM: MG 651050
  • Service: N/A
  • Description: 8-Way F 090-II Series, KET (WH)

Inflatable Restraint Steering Wheel Module Coil (AJ3 with UV8/WHB)

Pin

Wire

Circuit

Function

1

D-BU

1796

Steering Wheel Controls Signal

2

BN/WH

372

Remote Radio Audio Output

3

D-GN

29

Horn Control

4

D-GN

652

Chime Module Bit2 Signal (UV8)

GY

397

Cruise Control On Switch Signal (K34)

5

L-BU

661

Right Courtesy Lamp Control (UV8)

6

L-BU

662

Radio Clock Signal (UV8)

7

D-BU/WH

653

Chime Module Bit1 Signal (UV8)

BN

717

Cruise Power Output (K34)

8

--

--

Not Used

Instrument Panel Cluster (IPC) X1 (with WHB)


Object Number: 2178592  Size: CH

Connector Part Information

  • OEM: 1534222-1
  • Service: N/A
  • Description: 32-Way F MQS Series, Tyco (GN)

Instrument Panel Cluster (IPC) X1 (with WHB)

Pin

Wire

Circuit

Function

1

BN

7007

Vehicle Wake Up Signal

2

RD/BK

7008

Ignition 3 Voltage - Run

3

D-BU

7002

Run Relay Out

4

BN/WH

309

Right Park Lamp Supply Voltage

5

D-GN

230

Instrument Panel Lamps Dimming Control

6

D-GN

5060

Low Speed GMLAN Serial Data

7-8

--

--

Not Used

9

OG/BK

434

Neutral Safety Switch Signal

10

BN/WH

238

Seat Belt Switch - Left (-AJ3)

11

--

--

Not Used

12

PU

1807

Class 2 Serial Data (Primary)

13

D-GN

1807

Class 2 Serial Data (Primary)

14

YE

710

Class 2 Serial Data

15

YE/BK

710

Class 2 Serial Data

16

BK

450

Ground

17

L-GN

7009

Ignition 0 Voltage - Acc/Run

18

OG

7004

Ignition 1 Voltage - Run/Crank

19

YE

111

Hazard Switch Signal

20

PU

638

Power Window Motor Driver Down Control

21

L-BU

7003

DLIS Relay Control

22

--

--

Not Used

23

RD/WH

340

Battery Positive Voltage

24

RD/WH

1340

Battery Positive Voltage

25

--

--

Not Used

26

YE

61

Outside Ambient Air Temperature Sensor Signal

27

PU

878

Cruise Control Release Signal

28

D-BU

7001

GMLAN

29

D-GN/WH

762

A/C Request Signal

30

GY

397

Cruise Control On Switch Signal

31

BN

717

Cruise Power Output

32

BK

650

Ground

Instrument Panel Cluster (IPC) X2 (with WHB)


Object Number: 2178592  Size: CH

Connector Part Information

  • OEM: 1534222-2
  • Service: N/A
  • Description: 32-Way F MQS Series, Tyco (BU)

Instrument Panel Cluster (IPC) X2 (with WHB)

Pin

Wire

Circuit

Function

1

YE

749

Security Indicator Control

2

BN

25

Charge Indicator Signal

3

L-GN

80

Key In Ignition Switch Signal

4

D-GN/WH

817

Vehicle Speed Signal

5

L-GN

1845

Chime Control

6

--

--

Not Used

7

GY/BK

1357

Instrument Panel Lamp Control

8

D-GN/WH

1358

DIC Switch Signal

9

BN

7020

Remote Control Door Reciver Signal

10

--

--

Not Used

11

YE

1769

Fog Lamp Switch Supply Voltage

12

D-GN/WH

1135

A/T Shift Lock Control Solenoid Supply Voltage

13

L-GN

867

ABS Indicator Failure Control

14

--

--

Not Used

15

BK

50

Ground

16

BK

650

Ground

17

--

--

Not Used

18

BN/WH

419

MIL Control

19

BN/WH

33

Brake Warning Indicator Control

20

--

--

Not Used

21

YE

172

Low Fuel Indicator Control

22

WH

629

High Beam Indicator - Feed - DRL

23

WH

156

Courtesy Lamp Low Control

24

YE

712

Left Headlamp Low Beam Supply Voltage

25

L-BU

14

Left Turn Signal Lamps Supply Voltage

26

D-BU

15

Right Turn Signal Lamps Supply Voltage

27-28

--

--

Not used

29

PU

156

Courtesy Lamp Low Control Signal

30-31

--

--

Not used

32

BK

650

Ground

Instrument Panel Cluster (IPC) X1 (without WHB)


Object Number: 1737344  Size: CH

Connector Part Information

  • OEM: 1565380-1
  • Service: N/A
  • Description: 28-Way F 025 Series, Tyco (NA)

Instrument Panel Cluster (IPC) X1 (without WHB)

Pin

Wire

Circuit

Function

1

YE

1769

Fog Lamp Switch Supply Voltage (T96)

2

L-GN

867

ABS Indicator Failure Control

3

--

--

Not Used

4

YE

1481

Transmission Auxiliary Hold Signal (MLQ)

5

PK

239

Ignition 1 Voltage

6

BK

450

Ground

7-9

--

--

Not Used

10

YE

61

Ambient Temperature Sensor Signal (C68)

11

BN/WH

309

Right Park Lamp Supply Voltage

12

D-GN

230

Instrument Panel Lamps Dimming Control

13

BN

31

Oil Pressure Indicator Control

14

BN/WH

419

MIL Control

15-18

--

--

Not Used

19

L-BU

14

Left Turn Signal Lamps Supply Voltage

20

D-GN

135

ECT Sensor Gauge Signal

21

WH

156

Courtesy Lamp Low Control

22

YE

172

Low Fuel Indicator Control

23

YE

712

Left Headlamp Low Beam Supply Voltage

24

RD/WH

1340

Battery Positive Voltage

25

--

--

Not Used

26

BN

25

Charge Indicator Control

27

WH

121

Engine Speed Signal

28

BK

50

Ground

Instrument Panel Cluster (IPC) X2 (without WHB)


Object Number: 1888197  Size: CH

Connector Part Information

  • OEM: 1318386-1
  • Service: N/A
  • Description: 16-Way F 025 Series, Tyco (NA)

Instrument Panel Cluster (IPC) X2 (without WHB)

Pin

Wire

Circuit

Function

1

BN/WH

33

Brake Warning Indicator Control

2-4

--

--

Not Used

5

BN

358

Air Bag Indicator Control

6

OG

122

Roof Off-Road Lamps Supply Voltage 1

7

--

--

Not Used

8

BK

450

Ground

9

OG

551

Oil Level Sensor

10

YE

234

Seat Belt Indicator Control (AJ3)

BN/WH

238

Seat Belt Indicator Control (-AJ3)

11

PU/WH

822

VSS Low Signal (T44)

12

D-GN/WH

817

Vehicle Speed Signal

13

--

--

Not Used

14

L-BU

2221

Vehicle Speed Sensor Signal

15

PU

30

Fuel Level Sensor Signal

16

D-BU

15

Right Turn Signal Lamps Supply Voltage

Intake Air Temperature (IAT) Sensor (without WHB)


Object Number: 1467003  Size: CH

Connector Part Information

  • OEM: AMP 85202-1
  • Service: N/A
  • Description: 2-Way Junior Power Timer Series, Sealed Tyco (BK)

Intake Air Temperature (IAT) Sensor (without WHB)

Pin

Wire

Circuit

Function

1

WH

6118

Intake Air Temperature (IAT) Sensor Signal

2

BN

808

Low Reference

Intake Air Temperature (IAT) Sensor - HVAC (C68)


Object Number: 1468403  Size: CH

Connector Part Information

  • OEM: MG 610392
  • Service: N/A
  • Description: 2-Way M

Intake Air Temperature (IAT) Sensor - HVAC (C68)

Pin

Wire

Circuit

Function

1

BK/YE

--

Intake Sensor Signal

2

D-BU/WH

--

Low Reference

Knock Sensor (KS) (LDT/LXV)


Object Number: 1467003  Size: CH

Connector Part Information

  • OEM: 85202-1
  • Service: N/A
  • Description: 2-Way F JPT Series, Sealed Tyco (BK)

Knock Sensor (KS) (LDT/LXV)

Pin

Wire

Circuit

Function

1

OG

496

Knock Sensor (KS) Signal

2

WH

1876

Low Reference

Knock Sensor (KS) (LMU)


Object Number: 1466993  Size: CH

Connector Part Information

  • OEM: AMP 368215-1
  • Service: N/A
  • Description: 3-Way F JPT Series, Sealed Tyco (GY)

Knock Sensor (KS) (LMU)

Pin

Wire

Circuit

Function

1

OG

496

Knock Sensor (KS) Signal

2

WH

1876

Low Reference

3

BK/WH

51

Shield Ground

Knock Sensor (KS) (L95/LV8/LXT)


Object Number: 1466993  Size: CH

Connector Part Information

  • OEM: AMP 368215-1
  • Service: N/A
  • Description: 3-Way F JPT Series, Sealed Tyco (GY)

Knock Sensor (KS) (L95/LV8/LXT)

Pin

Wire

Circuit

Function

1

OG

496

Knock Sensor (KS) Signal

2

BN

808

Low Reference

3

BN

808

Shield Ground

Lamp Driver Module


Object Number: 1466981  Size: CH

Connector Part Information

  • OEM: AK 368530-1
  • Service: N/A
  • Description: 6-Way F Econoseal J-Mark II (BK)

Lamp Driver Module

Pin

Wire

Circuit

Function

1

BK

50

Ground

2

RD

242

Battery Positive Voltage

3

BN

33

Brake Warning Indicator Control

4

--

--

Not Used

5

GY

875

Base Brake Failure Signal

6

L-GN

867

ABS Failure Indicator Signal

License Lamp


Object Number: 1962093  Size: CH

Connector Part Information

  • OEM: MG 630679
  • Service: N/A
  • Description: 2-Way F 090 (2.3 mm) Series, KET (WH)

License Lamp

Pin

Wire

Circuit

Function

1

BK

850

Ground

2

PU

709

Left Park Lamp Supply Voltage

Manifold Absolute Pressure (MAP) Sensor (LDT/LXV)


Object Number: 1331443  Size: CH

Connector Part Information

  • OEM: 1928403966
  • Service: 88988583
  • Description: 3-Way F Kompakt 280 Series, Sealed (Bosch) (BK)

Manifold Absolute Pressure (MAP) Sensor (LDT/LXV)

Pin

Wire

Circuit

Function

1

WH

433

5-Volt Reference

2

BN

808

Low Reference

3

L-BU

469

Manifold Absolute Pressure Sensor Signal

Manifold Absolute Pressure (MAP) Sensor (LMU)


Object Number: 684840  Size: CH

Connector Part Information

  • OEM: 12129946
  • Service: 88987997
  • Description: 3-Way F Metri-Pack 150 Series, Sealed (GY)

Manifold Absolute Pressure (MAP) Sensor (LMU)

Pin

Wire

Circuit

Function

A

BN

469

Low Reference

B

GY/BK

433

Manifold Absolute Pressure Sensor Signal

C

L-GN

432

5-Volt Reference

Manifold Absolute Pressure (MAP) Sensor (LV8)


Object Number: 516611  Size: CH

Connector Part Information

  • OEM: 12059595
  • Service: 88986451
  • Description: 3-Way F Metri-Pack 150 Series, Sealed (BK)

Manifold Absolute Pressure (MAP) Sensor (LV8)

Pin

Wire

Circuit

Function

A

D-BU

732

Low Reference

B

L-GN

432

MAP Sensor Signal

C

PU

719

5-Volt Reference

Mass Air Flow (MAF)/Intake Air Temperature (IAT) Sensor (LXV)


Object Number: 1715213  Size: CH

Connector Part Information

  • OEM: 1-928-405-138
  • Service: N/A
  • Description: 5-Way F 2.8 Timer Series (Bosch), Sealed (BK)

Mass Air Flow (MAF)/Intake Air Temperature (IAT) Sensor (LXV)

Pin

Wire

Circuit

Function

1

WH

455

Intake Air Temperature Sensor Signal

2

OG/BK

1732

5-Volt Reference

3

L-BU

469

Mass Air Flow Sensor Signal

4

BN

456

Low Reference

5

BK

51

Ground

Mode Actuator (C68)


Object Number: 1715243  Size: CH

Connector Part Information

  • OEM: MG 651444
  • Service: N/A
  • Description: 3-Way F 030 Series, KET (WH)

Mode Actuator (C68)

Pin

Wire

Circuit

Function

1

RD/D-BU

--

5-Volt Reference

2

BK

--

Ground

3

D-BU

--

Signal

Octane Selection Switch (LDT/LXV)


Object Number: 1467062  Size: CH

Connector Part Information

  • OEM: MG 620395
  • Service: N/A
  • Description: 3-Way M SDL Series, Sealed KET (WH)

Octane Selection Switch (LDT/LXV)

Pin

Wire

Circuit

Function

1

BN

892

Octane Selection Signal 1

2

BK

51

Ground

3

D-GN

890

Octane Selection Signal 2

Octane Selection Switch (L95/LXT)


Object Number: 1467062  Size: CH

Connector Part Information

  • OEM: MG 620395
  • Service: N/A
  • Description: 3-Way M SDL Series, Sealed KET (WH)

Octane Selection Switch (L95/LXT)

Pin

Wire

Circuit

Function

1

--

--

Not Used

2

BK

50

Ground

3

D-GN

892

Octane Selection Signal

Octane Selection Switch (LMU/LV8)


Object Number: 1467062  Size: CH

Connector Part Information

  • OEM: MG 620395
  • Service: N/A
  • Description: 3-Way M SDL Series, Sealed KET (WH)

Octane Selection Switch (LMU/LV8)

Pin

Wire

Circuit

Function

1

D-GN

890

Octane Selection Signal 2

2

BK

50

Ground

3

BN

892

Octane Selection Signal 1 (LMU)

D-GN

892

Octane Selection Signal 1 (LV8)

OnStar X1 (UE1)


Object Number: 655810  Size: CH

Connector Part Information

  • OEM: 0-0917981-1
  • Service: N/A
  • Description: 16-Way F 040/070 Hybrid MK-II Series, Tyco (WH)

OnStar X1 (UE1)

Pin

Wire

Circuit

Function

1

D-GN

5060

Low Speed GMLAN Serial Data

2

BN/WH

2517

Keypad Red LED Signal

3

YE/BK

2516

Keypad Green LED Signal

4-5

--

--

Not Used

6

L-GN/BK

2515

Keypad Supply Voltage

7

BK

450

Ground

8

BK

450

Ground

9

--

--

Not Used

10

PU

1807

Class 2 Serial Data (Primary)

11

D-GN/WH

2514

Keypad Signal

12

YE

710

Class 2 Serial Data

13

GY/BK

5167

Battery Backup Low Reference

14

RD/WH

5235

Battery Backup Supply Voltage

15

RD/WH

240

Battery Positive Voltage

16

RD/WH

240

Battery Positive Voltage

OnStar X2 (UE1)


Object Number: 814532  Size: CH

Connector Part Information

  • OEM: 0-0917975-7
  • Service: N/A
  • Description: 12-Way F 040/070 Hybrid MK-II Series, Tyco (YE)

OnStar X2 (UE1)

Pin

Wire

Circuit

Function

1

OG

667

Mono Out (+)

2

GY

668

Mono Out (-)

3

PU

1807

Class 2 Serial Data (Primary)

4

YE

710

Class 2 Serial Data

5-7

--

--

Not Used

8

D-GN

1782

Drain Wire

9

GY

655

Cellular Microphone Signal

10

D-GN

654

Cellular Telephone Microphone Low Reference

11-12

--

--

Not Used

OnStar Backup Battery (UE1)


Object Number: 82383  Size: CH

Connector Part Information

  • OEM: 12047662
  • Service: 12085535
  • Description: 2-Way F Metri-Pack 150 Series, Sealed (BK)

OnStar Backup Battery (UE1)

Pin

Wire

Circuit

Function

A

RD/WH

5235

Battery Backup Supply Voltage

B

GY/BK

5167

Battery Backup Low Reference

OnStar Button Assembly (UE1)


Object Number: 62439  Size: CH

Connector Part Information

  • OEM: 12047886
  • Service: 12101822
  • Description: 8-Way F Metri-Pack 150 Series (BK)

OnStar Button Assembly (UE1)

Pin

Wire

Circuit

Function

A

L-GN/BK

2515

Keypad Supply Voltage

B

D-GN/WH

2514

Keypad Signal

C-D

--

--

Not Used

E

BK

450

Ground

F

YE/BK

2516

Keypad Green LED Signal

G

BN/WH

2517

Keypad Red LED Signal

H

--

--

Not Used

Outside Rearview Mirror - Driver (Hatchback with DM7)


Object Number: 1957538  Size: CH

Connector Part Information

  • OEM: MG 651044
  • Service: N/A
  • Description: 6-Way F 090 II Series, KET (WH)

Outside Rearview Mirror - Driver (Hatchback with DM7)

Pin

Wire

Circuit

Function

1

BK

650

Ground

2

--

--

Not Used

3

L-BU

82

Driver Mirror Motor Left Control

4

GY

90

Passenger Mirror Motor Left Control

5

YE

88

Driver Mirror Motor Up Control

6

OG

267

Heated Mirror Element Supply Voltage

Outside Rearview Mirror - Driver (Notchback with DM7)


Object Number: 1391782  Size: CH

Connector Part Information

  • OEM: 173850
  • Service: N/A
  • Description: 8-Way 070 MLC Series, AMP (WH)

Outside Rearview Mirror - Driver (Notchback with DM7)

Pin

Wire

Circuit

Function

1

YE

190

Driver Folding Mirror Motor Extend Control

2

L-BU

191

Driver Folding Mirror Motor Retract Control

3

OG

267

Heated Mirror/Rear Defog Relay Coil Supply Voltage

4

GY

90

Passenger Mirror Motor Left Control

5

--

--

Not Used

6

YE

88

Driver Mirror Motor Up Control

7

L-BU

82

Driver Mirror Motor Left Control

8

BK

650

Ground

Outside Rearview Mirror - Passenger (Hatchback with DM7)


Object Number: 1957538  Size: CH

Connector Part Information

  • OEM: MG 651044
  • Service: N/A
  • Description: 6-Way F 090 II Series, KET (WH)

Outside Rearview Mirror - Passenger (Hatchback with DM7)

Pin

Wire

Circuit

Function

1

BK

650

Ground

2

--

--

Not Used

3

WH

81

Driver Mirror Motor Right Control

4

GY

90

Passenger Mirror Motor Left Control

5

L-GN

89

Driver Mirror Motor Down Control

6

OG

267

Heated Mirror/Rear Defog Relay Coil Supply Voltage

Outside Rearview Mirror - Passenger (Notchback with DM7)


Object Number: 1391782  Size: CH

Connector Part Information

  • OEM: 173850
  • Service: N/A
  • Description: 8-Way F 070 MLC Series, Tyco (WH)

Outside Rearview Mirror - Passenger (Notchback with DM7)

Pin

Wire

Circuit

Function

1

L-BU

5023

Passenger Folding Mirror Motor Retract Control (DM4)

2

YE

5004

Passenger Folding Mirror Motor Extend Control (DM4)

3

OG

267

Heated Mirror/Rear Defog Relay Coil Supply Voltage

4

GY

90

Passenger Mirror Motor Left Control

5

--

--

Not Used

6

L-GN

89

Driver Mirror Motor Down Control

7

WH

81

Driver Mirror Motor Right Control

8

BK

650

Ground

Outside Rearview Mirror Switch


Object Number: 1391782  Size: CH

Connector Part Information

  • OEM: 173850
  • Service: N/A
  • Description: 8-Way 070 ML Series, Tyco (WH)

Outside Rearview Mirror Switch

Pin

Wire

Circuit

Function

1

YE

88

Driver Mirror Motor Up Control

2

GY/BK

2232

Folding Mirrors Signal (DL7)

3

L-GN

89

Driver Mirror Motor Down Control

4

GY

90

Passenger Mirror Motor Left Control

5

L-BU

82

Driver Mirror Motor Left Control

6

BK

450

Ground

7

WH

81

Driver Mirror Motor Right Control

8

BN

641

Ignition 3 Voltage

Overhead Console Courtesy/Reading Lamps


Object Number: 1467046  Size: CH

Connector Part Information

  • OEM: MG 610402
  • Service: N/A
  • Description: 8-Way F SDL Series, KET (WH)

Overhead Console Courtesy/Reading Lamps

Pin

Wire

Circuit

Function

1

BN

100

Sunroof Switch Open Signal

2

YE

110

Sunroof Switch Close Signal

3

BN

641

Ignition 3 Voltage

4

BK

450

Ground

5

GY

157

Courtesy Lamp Control

6

--

--

Not Used

7

RD/WH

1340

Battery Positive Voltage

8

--

--

Not Used

Park Lamp - Left Front (Hatchback with NA)


Object Number: 1830934  Size: CH

Connector Part Information

  • OEM: 936184-2
  • Service: N/A
  • Description: 2-Way F.090 Series, Sealed Tyco (WH)

Park Lamp - Left Front (Hatchback with NA)

Pin

Wire

Circuit

Function

1

BK

50

Ground

2

PU

709

Left Park Lamp Supply Voltage

Park Lamp - Right Front (Hatchback with NA)


Object Number: 1830934  Size: CH

Connector Part Information

  • OEM: 936184-2
  • Service: N/A
  • Description: 2-Way F.090 Series, Sealed Tyco (WH)

Park Lamp - Right Front (Hatchback with NA)

Pin

Wire

Circuit

Function

1

BK

50

Ground

2

BN/WH

309

Right Park Lamp Supply Voltage

Park/Neutral Position (PNP) Switch (LMU)


Object Number: 872604  Size: CH

Connector Part Information

  • OEM: 7283-1909-40
  • Service: N/A
  • Description: 10-Way F, Yazaki (GY)

Park/Neutral Position (PNP) Switch (LMU)

Pin

Wire

Circuit

Function

1

BN

323

Neutral Start Signal

2

GY

773

Transmission Range Switch Signal C

3

BN/WH

771

Transmission Range Switch Signal A

4

BK

50

Ground

5

YE

1479

A/T Neutral Signal

6

YE/BK

772

Transmission Range Switch Signal B

7

PK

841

Ignition 1 Voltage

8

BN

24

Backup Lamp Supply Voltage

9

D-GN/WH

1932

Ignition Lock Cylinder Control Actuator Signal

10

--

--

Not Used

Park/Neutral Position (PNP) Switch (without LMU)


Object Number: 1481276  Size: CH

Connector Part Information

  • OEM: 7283-1296-40
  • Service: N/A
  • Description: 9-Way F, Yazaki (GY)

Park/Neutral Position (PNP) Switch (without LMU)

Pin

Wire

Circuit

Function

1

D-GN/WH

1932

Ignition Lock Cylinder Control Actuator Signal

2

L-GN

24

Backup Lamp Supply Voltage

3

PK

841

Ignition 1 Voltage (-WHB)

PK

50

Ground (WHB)

4

YE/BK

772

Transmission Range Switch Signal B

5

YE

1479

A/T Neutral Signal

6

BK

50

Ground

7

BN/WH

771

Transmission Range Switch Signal A

8

GY

773

Transmission Range Switch Signal C

9

BN

323

Neutral Start Signal

Passenger Airbag Disable Switch


Object Number: 2001995  Size: CH

Connector Part Information

  • OEM: 0-1743282-1
  • Service: N/A
  • Description: 8-Way F 0.64 MQS Series (BK)

Passenger Airbag Disable Switch

Pin

Wire

Circuit

Function

1

D-GN/WH

--

Passenger Airbag OFF Indicator Control

2

BK

--

Ground

3

D-GN

--

Occupant Sensor - Indicator Status - Off

4

PU

--

Manual Cutoff Switch

5

BK

--

Ground

6-8

--

--

Not Used

Passenger Presence System (PPS) Sensor


Object Number: 810084  Size: CH

Connector Part Information

  • OEM: 1-0967640-1
  • Service: N/A
  • Description: 4-Way F Connector (BK)

Passenger Presence System (PPS) Sensor

Pin

Wire

Circuit

Function

1

PK

--

Ignition 1 Voltage

2

D-BU/WH

--

SIR Defeat Indicator Lamp Output - Passenger

3

BK

--

Ground

4

--

--

Not Used

Radio (UY4)


Object Number: 1836010  Size: CH

Connector Part Information

  • OEM: 368136-1
  • Service: N/A
  • Description: 26-Way F 040/070 Hybrid Series, Tyco (NA)

Radio (UY4)

Pin

Wire

Circuit

Function

1

L-GN

200

Right Front Speaker Output (+)

2

D-BU

46

Right Rear Speaker Output (+)

3

BN/WH

309

Right Park Lamp Supply Voltage

4

YE

43

Accessory Voltage

5

D-GN

145

Antenna Relay Coil Supply Voltage

6

--

--

Not Used

7

D-BU

1796

Steering Wheel Controls Signal

8-9

--

--

Not Used

10

PK/BK

6434

CAN Bus High #2 Serial Data

11

BN

199

Left Rear Speaker Output (+)

12

BN

201

Left Front Speaker Output (+)

13

RD/WH

540

Battery Positive Voltage

14

D-GN

117

Right Front Speaker Output (-)

15

L-BU

115

Right Rear Speaker Output (-)

16

L-GN

24

Backup Lamp Supply Voltage

17-20

--

--

Not Used

21

BN/WH

33

Brake Warning Indicator Control

22

--

--

Not Used

23

GY/BK

6435

CAN Bus Low #2 Serial Data

24

YE

116

Left Rear Speaker Output (-)

25

GY

118

Left Front Speaker Output (-)

26

BK

650

Ground

Radio X1 (without UY4)


Object Number: 1590072  Size: CH

Connector Part Information

  • OEM: 15464950
  • Service: N/A
  • Description: 14-Way F GT 150 Micro 64 Modular, (BK)

Radio X1 (without UY4)

Pin

Wire

Circuit

Function

1

RD/WH

540

Battery Voltage

2

BN

201

Left Front Speaker Output (+)

3

L-GN

200

Right Front Speaker Output (+)

4-5

--

--

Not Used

6

D-GN

145

Antenna Relay Coil Supply Voltage (NB-UE1)

RD/WH

440

Battery Positive Voltage (UE1)

7

BN/WH

309

Park Lamp Feed - Right

8

BK

650

Ground

9

GY

118

Speaker Return - Left Front

10

D-GN

117

Speaker Return - Right Front

11

--

--

Not Used

12

BN/WH

372

Remote Radio Return - Audio

13

D-GN

5060

Low Speed GMLAN Serial Data (WHB)

14

D-GN

5060

Low Speed GMLAN Serial Data (WHB)

D-GN

230

Instrument Panel Lamps Dimming Control (-WHB)

Radio X2 (without UY4)


Object Number: 850856  Size: CH

Connector Part Information

  • OEM: 15394150
  • Service: 15394150
  • Description: 16-Way F Micro 64 Series, (BK)

Radio X2 (without UY4)

Pin

Wire

Circuit

Function

1

D-GN

230

Instrument Panel Lamps Dimming Control

2-4

--

--

Not Used

5

BN

199

Left Rear Speaker Output (+)

6

D-BU

46

Right Rear Speaker Output (+)

7

OG

667

Mono Mix In (+)

8-11

--

--

Not Used

12

D-BU

1796

Steering Wheel Controls Signal

13

YE

116

Left Rear Speaker Output (-)

14

L-BU

115

Right Rear Speaker Output (-)

15

GY

668

Mono Mix In (-)

16

YE

43

Accessory Voltage

Radio Antenna X1 (UE1)


Object Number: 1850604  Size: CH

Connector Part Information

  • OEM: GT13GM-1/1S-HU(22)
  • Service: N/A
  • Description: 3-Way F GT13 Coaxial Series, Hirose (WH)

Radio Antenna X1 (UE1)

Pin

Wire

Circuit

Function

1

RD/WH

440

Battery Positive Voltage

C

BK

5112

Radio Antena Coax

S

--

--

Not Used

Radio Antenna X2 (UE1)


Object Number: 1366585  Size: CH

Connector Part Information

  • OEM: 1438810-1
  • Service: N/A
  • Description: 1-Way F Coaxial Snap-Lock, Tyco (BK)

Radio Antenna X2 (UE1)

Pin

Wire

Circuit

Function

1

BK

5112

Radio Antena Coax

Radio Antenna X1 (XMR)


Object Number: 2182083  Size: CH

Connector Part Information

  • OEM: 638832-3
  • Service: N/A
  • Description: 1-Way F SMB RF Series, Tyco (BU)

Radio Antenna X1 (XMR)

Pin

Wire

Circuit

Function

1

BK

5113

Radio Antena Coax

Radio Antenna X2 (XMR)


Object Number: 1366585  Size: CH

Connector Part Information

  • OEM: 2FA1-NKRJ-C01-3
  • Service: N/A
  • Description: 1-Way F Coaxial Snap-Lock (BK)

Radio Antenna X2 (XMR)

Pin

Wire

Circuit

Function

1

BK

5113

Radio Antena Coax

Rear Compartment Lamp


Object Number: 1892155  Size: CH

Connector Part Information

  • OEM: 36277
  • Service: N/A
  • Description: 2-Way F 6.3 Faston Series, AK (GY)

Rear Compartment Lamp

Pin

Wire

Circuit

Function

1

RD/WH

1340

Battery Voltage

2

GY/BK

737

Rear Compartment Lamp Control (NB)

BK

737

Rear Compartment Lamp Control (HB)

Rear Compartment Lid Ajar Switch


Object Number: 2178587  Size: CH

Connector Part Information

  • OEM: 174463-1
  • Service: N/A
  • Description: 2-Way F 070 Multi-Lock 070 Series, Tyco (WH)

Rear Compartment Lid Ajar Switch

Pin

Wire

Circuit

Function

1

L-BU

263

Tamper Switch Signal

2

BK

450

Ground

Rear Compartment Lid Latch Release Actuator (Notchback)


Object Number: 1891376  Size: CH

Connector Part Information

  • OEM: MG 651032
  • Service: N/A
  • Description: 3-Way F 090 II Series, KET (NA)

Rear Compartment Lid Latch Release Actuator (Notchback)

Pin

Wire

Circuit

Function

1

BK

450

Ground

2

BN

253

Trunk Release Relay Control

3

GY/BK

737

Rear Compartment Lamp Control

Rear Compartment Lid Latch Switch (Hatchback)


Object Number: 1467020  Size: CH

Connector Part Information

  • OEM: MG 610070
  • Service: N/A
  • Description: 2-Way F 090 (2.3 mm) Series, KET (WH)

Rear Compartment Lid Latch Switch (Hatchback)

Pin

Wire

Circuit

Function

1

OG/BK

737

Rear Compartment Lamp Control

2

BK

850

Ground

Rear Window Defogger Grid X1 (Hatchback)


Object Number: 2178166  Size: CH

Connector Part Information

  • OEM: 174090-2
  • Service: N/A
  • Description: 1-Way F 250 Series, Tyco (BK)

Rear Window Defogger Grid X1 (Hatchback)

Pin

Wire

Circuit

Function

1

BK

1093

Rear Defog Element Supply Voltage

Rear Window Defogger Grid X2 (Hatchback)


Object Number: 2178166  Size: CH

Connector Part Information

  • OEM: 174090-2
  • Service: N/A
  • Description: 1-Way F 250 Series, Tyco (BK)

Rear Window Defogger Grid X2 (Hatchback)

Pin

Wire

Circuit

Function

1

BK

850

Rear Defog Element Supply Voltage

Rear Window Defogger Grid (Notchback with UE1)


Object Number: 2000624  Size: CH

Connector Part Information

  • OEM: MG 630063
  • Service: N/A
  • Description: 1-Way F 250 Series, KET (NA)

Rear Window Defogger Grid (Notchback with UE1)

Pin

Wire

Circuit

Function

1

RD

1093

Rear Defog Element Supply Voltage

Rear Window Defogger Grid ( Notchback without UE1)


Object Number: 1467007  Size: CH

Connector Part Information

  • OEM: MG 610043
  • Service: N/A
  • Description: 2-Way F 250 Series, KET (NA)

Rear Window Defogger Grid (Notchback without UE1)

Pin

Wire

Circuit

Function

1

RD

1093

Rear Defog Element Supply Voltage

2

D-GN

145

Antenna Relay Coil Supply Voltage

Rear Window Washer Fluid Pump (Hatchback)


Object Number: 1467079  Size: CH

Connector Part Information

  • OEM: MG 640605-2
  • Service: See Catalog
  • Description: 2-Way F 090 WP Series, KET (BK)

Rear Window Washer Fluid Pump (Hatchback)

Pin

Wire

Circuit

Function

1

BK

250

Ground

2

L-GN/BK

392

Rear Window Washer Pump Control

Rear Window Wiper Motor (Hatchback with C25)


Object Number: 1467039  Size: CH

Connector Part Information

  • OEM: MG 610396
  • Service: See Catalog
  • Description: 4-Way F SDL Series Sealed, KET (WH)

Rear Window Wiper Motor (Hatchback with C25)

Pin

Wire

Circuit

Function

1

PK

639

Ignition 1 Voltage

2

GY

393

Rear Window Wiper Motor Control

3

D-BU

58

Right Cornering Lamp Supply Voltage

4

BK

850

Ground

Rear Window Wiper Motor (Hatchback with C16)


Object Number: 2178588  Size: CH

Connector Part Information

  • OEM: MG 610896
  • Service: See Catalog
  • Description: 8-Way F SDL-II Series, KET (WH)

Rear Window Wiper Motor (Hatchback with C16)

Pin

Wire

Circuit

Function

1

GY

393

Rear Window Wiper Motor Control

2

L-GN/BK

392

Rear Window Washer Pump Control

3

BK

850

Ground

4-7

--

--

Not Used

8

PK

639

Ignition 1 Voltage

Recirculation Actuator (C60)


Object Number: 1467023  Size: CH

Connector Part Information

  • OEM: MG 610203
  • Service: N/A
  • Description: 7-Way F 118 (PA) Series, KET (NA)

Recirculation Actuator (C60)

Pin

Wire

Circuit

Function

1-4

--

--

Not Used

5

PK/WH

1648

Recirculation Door Control A

6

--

--

Not Used

7

L-GN/BK

1647

Recirculation Door Control B

Recirculation Actuator (C68)


Object Number: 1715243  Size: CH

Connector Part Information

  • OEM: MG 651444
  • Service: N/A
  • Description: 3-Way F 030 Series, KET (WH)

Recirculation Actuator (C68)

Pin

Wire

Circuit

Function

1

RD/D-BU

--

5-Volt Reference

2

BK

--

Ground

3

D-BU

--

Signal

Remote Control Door Lock Receiver (RCDLR) (UA5)


Object Number: 1467056  Size: CH

Connector Part Information

  • OEM: MG 611336
  • Service: N/A
  • Description: 26-Way F PCB Series, KET (WH)

Remote Control Door Lock Receiver (RCDLR) (UA5)

Pin

Wire

Circuit

Function

1

D-GN

29

Horn Control

2

BK

450

Ground

3

--

--

Not Used

4

L-BU

263

Tamper Switch Signal

5

OG/BK

737

Rear Compartment Lamp Control

6

--

--

Not Used

7

PK/BK

109

Hood Ajar Switch Signal

8

WH

156

Courtesy Lamp Low Control

9

L-BU

194

Door Unlock Control (Notchback -WHB)

10

GY/D-GN

355

Driver Door Lock Relay Lock Control

11

YE

356

Driver Door Lock Relay Unlock Control

12

L-BU

262

Driver Door Key Switch Signal

13

D-BU

15

Right Turn Signal Lamps Supply Voltage

14

BN

253

Trunk Release Relay Control

15

PK

239

Ignition 1 Voltage

16

--

--

Not Used

17

BK/WH

2051

Serial Data Signal

18

L-GN

80

Key In Ignition Switch Signal

19

YE

749

Security Indicator Control

20

PU

265

Passenger Door Key Switch Signal

21

--

--

Not Used

22

BN

7020

Remote Control Signal

23-24

--

--

Not Used

25

RD/WH

340

Battery Positive Voltage

26

L-BU

14

Left Turn Signal Lamps Supply Voltage

Rough Road Sensor (without JM4)


Object Number: 1466983  Size: CH

Connector Part Information

  • OEM: 174354-2
  • Service: N/A
  • Description: 2-Way M J-Mark II Series, Sealed Tyco (BK)

Rough Road Sensor (without JM4)

Pin

Wire

Circuit

Function

1

L-BU

830

Left Front Wheel Speed Sensor Signal

2

YE

873

Left Front Wheel Speed Sensor Low Reference

Seat Belt Pretensioner - Driver (A70)


Object Number: 1481290  Size: CH

Connector Part Information

  • OEM: V23540-M5302-Y22
  • Service: N/A
  • Description: 2-Way Connector (GN)

Seat Belt Pretensioner - Driver (A70)

Pin

Wire

Circuit

Function

1

OG/WH

2119

Seat Belt Pretensioner - Left - Low Control

2

BN/WH

2118

Seat Belt Pretensioner - Left - High Control

Seat Belt Pretensioner - Passenger (A70)


Object Number: 1481290  Size: CH

Connector Part Information

  • OEM: V23540-M5302-Y22
  • Service: N/A
  • Description: 2-Way Connector (GN)

Seat Belt Pretensioner - Passenger (A70)

Pin

Wire

Circuit

Function

1

GY

2117

Seat Belt Pretensioner - Right - Low Control

2

L-GN

2116

Seat Belt Pretensioner - Right - High Control

Seat Belt Switch


Object Number: 1467036  Size: CH

Connector Part Information

  • OEM: MG 610392
  • Service: N/A
  • Description: 2-Way F SDL Series, KET (WH)

Seat Belt Switch

Pin

Wire

Circuit

Function

1

BN/WH

238

Seat Belt Switch - Left

2

BK

650

Ground

Speaker - Left Front


Object Number: 1467007  Size: CH

Connector Part Information

  • OEM: MG 610043
  • Service: N/A
  • Description: 2-Way F 250 Series, KET (WH)

Speaker - Left Front

Pin

Wire

Circuit

Function

1

BN

201

Left Front Speaker Output (+)

2

GY

118

Left Front Speaker Output (-)

Speaker - Left Rear


Object Number: 1467007  Size: CH

Connector Part Information

  • OEM: MG 610043
  • Service: N/A
  • Description: 2-Way F 250 Series, KET (WH)

Speaker - Left Rear

Pin

Wire

Circuit

Function

1

YE

116

Left Rear Speaker Output (-)

2

BN

199

Left Rear Speaker Output (+)

Speaker - Left Tweeter


Object Number: 1467020  Size: CH

Connector Part Information

  • OEM: MG 610070
  • Service: N/A
  • Description: 2-Way F 090 (2.3 mm) Series, KET (WH)

Speaker - Left Tweeter

Pin

Wire

Circuit

Function

1

GY

118

Left Front Speaker Output (-)

2

BN

201

Left Front Speaker Output (+)

Speaker - Right Front


Object Number: 1467007  Size: CH

Connector Part Information

  • OEM: MG 610043
  • Service: N/A
  • Description: 2-Way F 250 Series, KET (WH)

Speaker - Right Front

Pin

Wire

Circuit

Function

1

L-GN

200

Right Front Speaker Output (+)

2

D-GN

117

Right Front Speaker Output (-)

Speaker - Right Rear


Object Number: 1467007  Size: CH

Connector Part Information

  • OEM: MG 610043
  • Service: N/A
  • Description: 2-Way F 250 Series, KET (WH)

Speaker - Right Rear

Pin

Wire

Circuit

Function

1

L-BU

115

Right Rear Speaker Output (+)

2

D-BU

46

Right Rear Speaker Output (-)

Speaker - Right Tweeter


Object Number: 1467020  Size: CH

Connector Part Information

  • OEM: MG 610070
  • Service: N/A
  • Description: 2-Way F 090 (2.3 mm) Series, KET (WH)

Speaker - Right Tweeter

Pin

Wire

Circuit

Function

1

D-GN

117

Right Front Speaker Output (-)

2

L-GN

200

Right Front Speaker Output (+)

Starter Relay (MLQ without WHB)


Object Number: 1837413  Size: CH

Connector Part Information

  • OEM: AK 36905
  • Service: N/A
  • Description: 9-Way Metri-Pack 150 Series (BU)

Starter Relay (MLQ without WHB)

Pin

Wire

Circuit

Function

1

--

--

Not used

2

YE

5

Crank Voltage

3

--

--

Not used

4

BN

323

Neutral Start Signal

5

--

--

Not used

6

PU

6

Starter Solenoid Crank Voltage

7

--

--

Not used

8

YE

5

Crank Voltage

YE

5

Crank Voltage

9

--

--

Not used

Stop Lamp Switch


Object Number: 1467027  Size: CH

Connector Part Information

  • OEM: MG 610267
  • Service: N/A
  • Description: 4-Way F 250 D/L Series, KET (NA)

Stop Lamp Switch

Pin

Wire

Circuit

Function

1

PU

878

Stop Lamp Supply Voltage

2

L-BU

20

Stop Lamp Supply Voltage

3

PK

239

Ignition 1 Voltage

4

RD/WH

340

Battery Positive Voltage

Sunload Sensor (C68)


Object Number: 1467049  Size: CH

Connector Part Information

  • OEM: 174056-2
  • Service: N/A
  • Description: 2-Way F 040 Series, Tyco (BK)

Sunload Sensor (C68)

Pin

Wire

Circuit

Function

1

D-BU/WH

--

Low Reference

2

YE/RD

--

Sunload Sensor Signal

Sunroof Control Module (CF5)


Object Number: 1468516  Size: CH

Connector Part Information

  • OEM: AMP 174923
  • Service: N/A
  • Description: 6-Way F 070 Series Multi-Lock, Tyco (WH)

Sunroof Control Module (CF5)

Pin

Wire

Circuit

Function

1

YE

110

Sunroof Switch Close Signal

2

--

--

Not Used

3

RD/WH

640

Battery Positive Voltage

4

BK

450

Ground

5

--

--

Not Used

6

BN

100

Sunroof Switch Open Signal

Tail Lamp - Left (Hatchback with T9E)


Object Number: 2178586  Size: CH

Connector Part Information

  • OEM: MG 610054
  • Service: N/A
  • Description: 8-Way F 090 (2.3 mm) Series, KET (NA)

Tail Lamp - Left (Hatchback with T9E)

Pin

Wire

Circuit

Function

1

--

--

Not Used

2

BK

450

Ground

3

BK

450

Ground

4

L-GN

24

Backup Lamp Supply Voltage

5

OG

122

Roof Off-Road Lamps Supply Voltage 1

6

L-BU

14

Left Turn Signal Lamps Supply Voltage

7

PU

709

Left Park Lamp Supply Voltage

8

L-BU

20

Stop Lamp Supply Voltage

Tail Lamp - Left (Notchback)


Object Number: 1761384  Size: CH

Connector Part Information

  • OEM: 936233-1
  • Service: N/A
  • Description: 8-Way F 090 Series, Tyco (BK)

Tail Lamp - Left (Notchback)

Pin

Wire

Circuit

Function

1

OG

122

Rear Fog Lamp Supply Voltage (TRA)

2

BK

450

Ground

BK

450

Ground

3

BK

450

Ground

4

L-GN

24

Backup Lamp Supply Voltage

5

L-BU

14

Left Turn Signal Lamps Supply Voltage

6

BN

20

Stop Lamp Supply Voltage

7

PU

709

Left Park Lamp Supply Voltage

PU

709

Left Park Lamp Supply Voltage (FL5)

8

PU

709

Left Park Lamp Supply Voltage (FL5)

Tail Lamp - Right (Hatchback with T9E)


Object Number: 2178586  Size: CH

Connector Part Information

  • OEM: MG 610054
  • Service: N/A
  • Description: 8-Way F 090 (2.3 mm) Series, KET (NA)

Tail Lamp - Right (Hatchback with T9E)

Pin

Wire

Circuit

Function

1

--

--

Not Used

2

BK

450

Ground

3

BK

450

Ground

4

L-GN

24

Backup Lamp Supply Voltage

5

--

--

Not Used

6

D-BU

15

Right Turn Signal Lamps Supply Voltage

7

BN/WH

309

Right Park Lamp Supply Voltage

8

L-BU

20

Stop Lamp Supply Voltage

Tail Lamp - Right (Notchback)


Object Number: 1761384  Size: CH

Connector Part Information

  • OEM: 936233-1
  • Service: N/A
  • Description: 8-Way F 090 Series, Tyco (BK)

Tail Lamp - Right (Notchback)

Pin

Wire

Circuit

Function

1

OG

122

Rear Fog Lamp Supply Voltage (TRA)

2

BK

450

Ground

BK

450

Ground

3

BK

450

Ground

4

L-GN

24

Backup Lamp Supply Voltage

5

D-BU

15

Right Turn Signal Lamps Supply Voltage

6

BN

20

Stop Lamp Supply Voltage

7

BN/WH

309

Right Park Lamp Supply Voltage

BN/WH

309

Right Park Lamp Supply Voltage (FL5)

8

BN/WH

309

Right Park Lamp Supply Voltage (FL5)

Theft Deterrent Alarm


Object Number: 1468380  Size: CH

Connector Part Information

  • OEM: KUM PB 625-02027
  • Service: N/A
  • Description: 2-Way F NMWP 04F-B Assembly (BK)

Theft Deterrent Alarm

Pin

Wire

Circuit

Function

1

YE

--

Arm Alarm Signal

2

RD/WH

--

Battery Positive Voltage

Theft Detterent Module (TDM) (BAH with WHB)


Object Number: 2184077  Size: CH

Connector Part Information

  • OEM: HS015-04015
  • Service: N/A
  • Description: 4-Way F 090 CS Series, KUM (WH)

Theft Detterent Module (TDM) (BAH with WHB)

Pin

Wire

Circuit

Function

1

RD/WH

240

Battery Positive Voltage

2

YE

43

Accessory Voltage

3

BK

450

Ground

4

D-GN

5060

Low Speed GMLAN Serial Data

Theft Detterent Module (TDM) (BAH without WHB)


Object Number: 1497622  Size: CH

Connector Part Information

  • OEM: 35508-0700
  • Service: N/A
  • Description: 7-Way F (WH)

Theft Detterent Module (TDM) (BAH without WHB)

Pin

Wire

Circuit

Function

1

PK

239

Ignition 1 Voltage

2

RD/WH

240

Battery Positive Voltage

3

--

--

Not Used

4

BK

450

Ground

5

L-BU/WH

1800

CKP Sensor 2 Signal

6

BK/WH

2051

Serial Data Signal

7

YE

749

Security Indicator Control

Throttle Body (LMU)


Object Number: 1466987  Size: CH

Connector Part Information

  • OEM: 174982-2
  • Service: N/A
  • Description: 8-Way F 070 J-Mark II Series Sealed, Tyco (BK)

Throttle Body (LMU)

Pin

Wire

Circuit

Function

1

L-BU

425

Idle Speed Motor Feed

2

GY

416

5-Volt Reference

3

--

--

Not Used

4

D-GN

534

Idle Motor Position

5

D-BU

426

Idle Speed Motor Return

6

PK

427

Idle Switch Position

7

D-BU

417

Throttle Position Signal

8

BN

808

Low Reference

Throttle Body (LDT/LXV)


Object Number: 1664617  Size: CH

Connector Part Information

  • OEM: 15355297
  • Service: N/A
  • Description: 6-Way F GT 150 Series, Sealed (BK)

Throttle Body (LDT/LXV)

Pin

Wire

Circuit

Function

A

YE

581

Throttle Actuator Control (TAC) Motor Control - 1

B

D-BU

528

Throttle Actuator Control (TAC) Motor Control - 2

C

PU

427

5-Volt Reference

D

WH

425

TP Sensor 2 Signal

E

L-BU

426

Low Reference

F

BN/BK

486

TP Sensor 1 Signal

Tire Pressure Module (UJ9)


Object Number: 1972923  Size: CH

Connector Part Information

  • OEM: 64002-1215
  • Service: N/A
  • Description: 12-Way F 040 Series, Molex (GY)

Tire Pressure Module (UJ9)

Pin

Wire

Circuit

Function

1

RD/WH

540

Battery Positive Voltage

2

GN/WH

817

Vehicle Speed Signal

3

BK/WH

2051

Serial Data Signal

4

BN/WH

33

Brake Warning Indicator Control

5

L-BU

74

Park Lamp Switch Signal

6

--

--

Not Used

7

BN

25

Charge Indicator Control

8

PK

239

Ignition 1 Voltage

9

D-GN

29

Horn Control

10

D-BU

7001

Low Tire Pressure Indicator Control

11

BK

450

Ground

12

--

--

Not Used

Transmission Control Module (TCM) X1


Object Number: 1481278  Size: CH

Connector Part Information

  • OEM: 1318756-1
  • Service: N/A
  • Description: 24-Way F 025/090 Series, AMP (WH)

Transmission Control Module (TCM) X1

Pin

Wire

Circuit

Function

1

BK

50

Ground

2

YE/BK

1227

Low Reference

3

--

--

Not Used

4

OG

1226

Pressure Control Solenoid Control

5

D-BU

1225

Torque Converter Clutch Solenoid Control

6

PK

239

Ignition 1 Voltage (-NA)

RD/WH

440

Battery Positive Voltage (NA)

7

YE

710

Class 2 Serial Data

8

YE

710

Class 2 Serial Data (NA)

9-10

--

--

Not Used

11

PU

898

Transmission Fluid Temperature Sensor Signal

12

OG/BK

586

Transmission Fluid Temperature Sensor Low Reference

13

--

--

Not Used

14

PK

1224

Timing Valve Control

15

YE/BK

1223

Shift Solenoid 2 Valve Control

16

L-GN

1222

Shift Solenoid 1 Valve Control

17

PU

1807

Class 2 Serial Data (Primary)

18

PU

1807

Class 2 Serial Data (Primary) (NA)

19-22

--

--

Not Used

23

BK

50

Ground

24

RD/WH

440

Battery Positive Voltage (-WHB)

YE

111

Vehicle Wake Up Signal (WHB)

Transmission Control Module (TCM) X2


Object Number: 1481277  Size: CH

Connector Part Information

  • OEM: 1318757-1
  • Service: N/A
  • Description: 26-Way F 025/090 Series, AMP (WH)

Transmission Control Module (TCM) X2

Pin

Wire

Circuit

Function

1

L-GN

24

Backup Lamp Supply Voltage

2

--

--

Not Used

3

YE

1481

Hold Motor Indicator Control (-WHB)

4

D-GN/WH

1135

Transmission Hold Signal (-WHB)

5

--

--

Not Used

6

WH

6254

Input Shaft Speed (ISS) Sensor High Signal

7

BN/WH

771

Transmission Range Switch Signal A

8

YE

1479

Park/Neutral Position (PNP) Switch Neutral Signal

9-15

--

--

Not Used

16

OG

6253

Input Shaft Speed (ISS) Sensor Low Signal

17

--

--

Not Used

18

GY

773

Transmission Range Switch Signal C

19

YE/BK

772

Transmission Range Switch Signal B

20

D-GN/WH

1932

Ignition Lock Cylinder Control Actuator Signal

21

PK

239

Ignition 1 Voltage (WHB)

22

L-BU

20

Stop Lamp Supply Voltage

23

BK/WH

2051

Serial Data Signal (-WHB)

24

--

--

Not Used

25

D-GN/WH

8175

Vehicle Speed Signal

26

--

--

Not Used

Turn Signal Lamp - Left Front (T84)


Object Number: 1830934  Size: CH

Connector Part Information

  • OEM: 936184-2
  • Service: N/A
  • Description: 2-Way F 090 Series, Tyco (BK)

Turn Signal Lamp - Left Front (T84)

Pin

Wire

Circuit

Function

1

BK

50

Ground

2

L-BU

14

Left Turn Signal Supply Voltage

Turn Signal Lamp - Left Front (FL2)


Object Number: 1830929  Size: CH

Connector Part Information

  • OEM: 936187-2
  • Service: N/A
  • Description: 3-Way F 090 Series, Sealed Tyco (BK)

Turn Signal Lamp - Left Front (FL2)

Pin

Wire

Circuit

Function

1

PU

709

Park Lamp Feed

2

BK

50

Ground

3

L-BU

14

Left Turn Signal Supply Voltage

Turn Signal Lamp - Right Front (T84)


Object Number: 1830934  Size: CH

Connector Part Information

  • OEM: 936184-2
  • Service: N/A
  • Description: 2-Way F 090 Series, Tyco (BK)

Turn Signal Lamp - Right Front (T84)

Pin

Wire

Circuit

Function

1

BK

250

Ground

2

D-BU

15

Right Turn Signal Supply Voltage

Turn Signal Lamp - Right Front (FL2)


Object Number: 1830929  Size: CH

Connector Part Information

  • OEM: 936187-2
  • Service: N/A
  • Description: 3-Way F 090 Series, Sealed Tyco (BK)

Turn Signal Lamp - Right Front (FL2)

Pin

Wire

Circuit

Function

1

BN/WH

309

Park Lamp Feed

2

BK

250

Ground

3

D-BU

15

Right Turn Signal Supply Voltage

Turn Signal/Hazard Flasher Module


Object Number: 1837413  Size: CH

Connector Part Information

  • OEM: AK 36906
  • Service: N/A
  • Description: 9-Way Metri-Pack 150 Series (GN)

Turn Signal/Hazard Flasher Module

Pin

Wire

Circuit

Function

1-3

--

--

Not used

4

BK

450

Ground

5

--

--

Not used

6

L-BU

1508

Turn/Hazard Module Supply Voltage

7

--

--

Not used

8

PU

16

Turn Signal Flasher Signal

9

--

--

Not used

Turn Signal/Multifunction Switch


Object Number: 1467023  Size: CH

Connector Part Information

  • OEM: MG 610203
  • Service: N/A
  • Description: 7-Way F 118 (PA) Series, KET (NA)

Turn Signal/Multifunction Switch

Pin

Wire

Circuit

Function

1

L-BU

14

Left Turn Signal Lamps Supply Voltage

2

PU

16

Turn Signal Flasher Signal

3

D-BU

15

Right Turn Signal Lamps Supply Voltage

4

L-BU

1346

Headlamp Supply Voltage

L-BU

1346

Headlamp Supply Voltage (WHB)

5

WH

352

Headlamp Relay Coil Supply Voltage

6

BK/WH

1352

Headlamp Control

BK/WH

1352

Headlamp Control

7

BK

450

Ground

Turn Signal Repeater Lamp - Left (Hatchback without NA)


Object Number: 1891421  Size: CH

Connector Part Information

  • OEM: MG 610320-5
  • Service: N/A
  • Description: 2-Way F SWP Series, KET (BK)

Turn Signal Repeater Lamp - Left (Hatchback without NA)

Pin

Wire

Circuit

Function

1

L-BU

14

Left Turn Signal Supply Voltage

2

BK

50

Ground

Turn Signal Repeater Lamp - Left (Hatchback with NA)


Object Number: 1830934  Size: CH

Connector Part Information

  • OEM: 936184-1
  • Service: N/A
  • Description: 2-Way F 090 Series, Tyco (WH)

Turn Signal Repeater Lamp - Left (Hatchback with NA)

Pin

Wire

Circuit

Function

1

L-BU

14

Left Turn Signal Supply Voltage

2

BK

50

Ground

Turn Signal Repeater Lamp - Right (Hatchback without NA)


Object Number: 1891421  Size: CH

Connector Part Information

  • OEM: MG 610320-5
  • Service: N/A
  • Description: 2-Way F SWP Series, KET (BK)

Turn Signal Repeater Lamp - Right (Hatchback without NA)

Pin

Wire

Circuit

Function

1

D-BU

15

Right Turn Signal Supply Voltage

2

BK

250

Ground

Turn Signal Repeater Lamp - Right (Hatchback with NA)


Object Number: 1830934  Size: CH

Connector Part Information

  • OEM: 936184-1
  • Service: N/A
  • Description: 2-Way F 090 Series, Tyco (WH)

Turn Signal Repeater Lamp - Right (Hatchback with NA)

Pin

Wire

Circuit

Function

1

D-BU

15

Right Turn Signal Supply Voltage

2

BK

250

Ground

Vehicle Speed Sensor (VSS) (LDT/LXV with MLM)


Object Number: 516611  Size: CH

Connector Part Information

  • OEM: 12059595
  • Service: 12059595
  • Description: 3-Way F Metri-Pack 150 Series, Sealed (BK)

Vehicle Speed Sensor (VSS) (LDT/LXV with MLM)

Pin

Wire

Circuit

Function

A

BK

51

Ground (-WHB)

L-GN/BK

822

Low Reference (WHB)

B

L-BU

817

Vehicle Speed Signal

C

PK

539

Ignition 1 Voltage (-WHB)

D-GN

605

5-Volt Reference (WHB)

Vehicle Speed Sensor (VSS) (L95/LXT with M/T)


Object Number: 516611  Size: CH

Connector Part Information

  • OEM: 12059595
  • Service: 12059595
  • Description: 3-Way F Metri-Pack 150 Series, Sealed (BK)

Vehicle Speed Sensor (VSS) (L95/LXT with M/T)

Pin

Wire

Circuit

Function

A

BK

50

Ground

B

D-GN/WH

817

Vehicle Speed Signal

C

PK

739

Ignition 1 Voltage

Vehicle Speed Sensor (VSS) (LMU/LV8 with M/T)


Object Number: 516611  Size: CH

Connector Part Information

  • OEM: 12059595
  • Service: 12059595
  • Description: 3-Way F Metri-Pack 150 Series, Sealed (BK)

Vehicle Speed Sensor (VSS) (LMU/LV8 with M/T)

Pin

Wire

Circuit

Function

A

BK

50

Ground

B

D-GN/WH

817

Vehicle Speed Signal

C

PK

1739

Ignition 1 Voltage

Vehicle Speed Sensor (VSS) (XG2)


Object Number: 1258004  Size: CH

Connector Part Information

  • OEM: MG 641234-5
  • Service: N/A
  • Description: 3-Way F, KET (BK)

Vehicle Speed Sensor (VSS) (XG2)

Pin

Wire

Circuit

Function

1

PK

239

Ignition 1 Voltage

2

BK

50

Ground

3

D-GN/WH

817

Vehicle Speed Signal

Vehicle Speed Sensor (VSS) (without XG2)


Object Number: 1481279  Size: CH

Connector Part Information

  • OEM: 7283-1232-30
  • Service: N/A
  • Description: 3-Way F, Yazaki (BK)

Vehicle Speed Sensor (VSS) (without XG2)

Pin

Wire

Circuit

Function

1

PK

239

Ignition 1 Voltage

2

BK

50

Ground

3

D-GN/WH

817

Vehicle Speed Signal

Wheel Speed Sensor (WSS) - Left Front (JM4)


Object Number: 1466983  Size: CH

Connector Part Information

  • OEM: 174354-2
  • Service: N/A
  • Description: 2-Way M J-Mark II Series, Sealed Tyco (BK)

Wheel Speed Sensor (WSS) - Left Front (JM4)

Pin

Wire

Circuit

Function

1

L-BU

830

Left Front Wheel Speed Sensor Signal

2

YE

873

Left Front Wheel Speed Sensor Low Reference

Wheel Speed Sensor (WSS) - Left Rear (JM4)


Object Number: 1466983  Size: CH

Connector Part Information

  • OEM: 174354-2
  • Service: N/A
  • Description: 2-Way M J-Mark II Series, Sealed Tyco (BK)

Wheel Speed Sensor (WSS) - Left Rear (JM4)

Pin

Wire

Circuit

Function

1

BN

884

Left Rear Wheel Speed Sensor Signal

2

OG

885

Left Rear Wheel Speed Sensor Low Reference

Wheel Speed Sensor (WSS) - Right Front (JM4)


Object Number: 1466983  Size: CH

Connector Part Information

  • OEM: 174354-2
  • Service: N/A
  • Description: 2-Way M J-Mark II Series, Sealed Tyco (BK)

Wheel Speed Sensor (WSS) - Right Front (JM4)

Pin

Wire

Circuit

Function

1

BN

833

Right Front Wheel Speed Sensor Low Reference

2

D-GN

872

Right Front Wheel Speed Sensor Signal

Wheel Speed Sensor (WSS) - Right Rear (JM4)


Object Number: 1466983  Size: CH

Connector Part Information

  • OEM: 174354-2
  • Service: N/A
  • Description: 2-Way M J-Mark II Series, Sealed Tyco (BK)

Wheel Speed Sensor (WSS) - Right Rear (JM4)

Pin

Wire

Circuit

Function

1

BN

882

Right Rear Wheel Speed Sensor Signal

2

WH

883

Right Rear Wheel Speed Sensor Low Reference

Window Motor - Driver (A31/A32)


Object Number: 1413001  Size: CH

Connector Part Information

  • OEM: 936224-1
  • Service: N/A
  • Description: 2-Way F 090-III Series, AMP (WH)

Window Motor - Driver (A31/A32)

Pin

Wire

Circuit

Function

1

BN

165

Power Window Motor Left Front Down Control

2

D-BU

164

Power Window Motor Left Front Up Control

Window Motor - Driver (LHD with ABZ)


Object Number: 583112  Size: CH

Connector Part Information

  • OEM: PB 625-06027
  • Service: N/A
  • Description: 6-Way F 090 NMWP Series, KUM (BK)

Window Motor - Driver (LHD with ABZ)

Pin

Wire

Circuit

Function

1

L-GN/BK

580

Battery Positive Voltage

2

BN

165

Power Window Motor Left Front Down Control

3

--

--

Not Used

4

BK

650

Ground

5

D-BU

164

Power Window Motor Left Front Up Control

6

BN/WH

6166

Front Door Window Short Time Down Control

Window Motor - Driver (RHD with ABZ)


Object Number: 1902503  Size: CH

Connector Part Information

  • OEM: MG 610335
  • Service: N/A
  • Description: 6-Way F SWP Series, KET (NA)

Window Motor - Driver (RHD with ABZ)

Pin

Wire

Circuit

Function

1

--

--

Not Used

2

BN

165

Power Window Motor Left Front Down Control

3

L-GN/BK

580

Battery Positive Voltage

4

BN/WH

6166

Front Door Window Short Time Down Control

5

D-BU

164

Power Window Motor Left Front Up Control

6

BK

650

Ground

Window Motor - Left Rear (A31)


Object Number: 1891421  Size: CH

Connector Part Information

  • OEM: MG 610320-0
  • Service: N/A
  • Description: 2-Way F SWP Series, KET (NA)

Window Motor - Left Rear (A31)

Pin

Wire

Circuit

Function

1

BN

669

Power Window Motor Left Rear Down Control

2

D-GN

668

Power Window Motor Left Rear Up Control

Window Motor - Passenger (A31)


Object Number: 1413001  Size: CH

Connector Part Information

  • OEM: 936224-1
  • Service: N/A
  • Description: 2-Way F 090-III Series, AMP (NA)

Window Motor - Passenger (A31)

Pin

Wire

Circuit

Function

1

BN

667

Power Window Motor Right Front Down Control

2

D-BU

666

Power Window Motor Right Front Up Control

Window Motor - Right Rear (A31)


Object Number: 1891421  Size: CH

Connector Part Information

  • OEM: MG 610320-0
  • Service: N/A
  • Description: 2-Way F SWP Series, KET (NA)

Window Motor - Right Rear (A31)

Pin

Wire

Circuit

Function

1

BN

669

Power Window Motor Left Rear Down Control

2

D-GN

668

Power Window Motor Left Rear Up Control

Window Switch - Driver (ABZ)


Object Number: 1902504  Size: CH

Connector Part Information

  • OEM: MG 612240
  • Service: N/A
  • Description: 14-Way F ASC Series, KET (WH)

Window Switch - Driver (ABZ)

Pin

Wire

Circuit

Function

1

D-BU

164

Power Window Motor Left Front Up Control

2

BN

165

Power Window Motor Left Front Down Control

3

L-GN/BK

580

Battery Positive Voltage

4

L-BU

166

Power Window Master Switch Right Front Up Signal (LHD)

BN

167

Power Window Master Switch Right Front Down Signal (RHD)

5

BN/WH

6166

Front Door Window Short Time Down Control

BN/WH

6166

Front Door Window Short Time Down Control

6

BN

167

Power Window Master Switch Right Front Down Signal (LHD)

D-BU

1307

Power Window Master Switch Lockout Signal (RHD)

7

D-BU

1307

Power Window Master Switch Lockout Signal (LHD)

L-BU

166

Power Window Motor Right Front Down Control (RHD)

8

D-GN

168

Power Window Master Switch Left Rear Up Signal

9

BN/WH

6166

Front Door Window Short Time Down Control

10

L-GN/BK

580

Battery Positive Voltage

11

BK

650

Ground

12

PU

169

Power Window Master Switch Left Rear Down Signal

13

L-GN

170

Power Window Master Switch Right Rear Up Signal

14

PU

171

Power Window Master Switch Right Rear Down Signal

Window Switch - Driver (A31)


Object Number: 1902504  Size: CH

Connector Part Information

  • OEM: MG 612240
  • Service: N/A
  • Description: 14-Way F ASC Series, KET (WH)

Window Switch - Driver (A31)

Pin

Wire

Circuit

Function

1

PU

171

Power Window Master Switch Right Rear Down Signal

2

--

--

Not Used

3

L-GN

170

Power Window Master Switch Right Rear Up Signal

4

PU

169

Power Window Master Switch Left Rear Down Signal

5

L-GN/BK

--

Not Used

6

D-GN

168

Power Window Master Switch Left Rear Up Signal

7

BN

167

Power Window Master Switch Right Front Down Signal (LHD)

BN

165

Power Window Motor Left Front Down Control (RHD)

8

BK

650

Ground

9

L-BU

166

Power Window Master Switch Right Front Up Signal (LHD)

D-BU

164

Power Window Motor Left Front Up Control (RHD)

10

D-BU

1307

Power Window Master Switch Lockout Control

11

--

--

Not Used

12

BN

165

Power Window Motor Left Front Down Control (LHD)

BN

167

Power Window Master Switch Right Front Down Signal (RHD)

13

L-GN/BK

580

Battery Positive Voltage

14

D-BU

164

Power Window Motor Left Front Up Control (LHD)

L-BU

166

Power Window Master Switch Right Front Up Signal (RHD)

Window Switch - Driver (A32)


Object Number: 1902505  Size: CH

Connector Part Information

  • OEM: MG 612231
  • Service: N/A
  • Description: 8-Way F ASC Series, KET (WH)

Window Switch - Driver (A32)

Pin

Wire

Circuit

Function

1

D-BU

164

Power Window Motor Left Front Up Control (LHD)

L-BU

166

Power Window Master Switch Right Front Up Signal (RHD)

2

--

--

Not Used

3

BN

167

Power Window Master Switch Right Front Down Signal (LHD)

BN

165

Power Window Motor Left Front Down Control (RHD)

4

--

--

Not Used

5

L-GN/BK

580

Battery Positive Voltage

6

BN

165

Power Window Motor Left Front Down Control (LHD)

BN

167

Power Window Master Switch Right Front Down Signal (RHD)

7

L-BU

166

Power Window Master Switch Right Front Up Signal (LHD)

D-BU

164

Power Window Motor Left Front Up Control (RHD)

8

BK

650

Ground

Window Switch - Left Rear (A31)


Object Number: 1908545  Size: CH

Connector Part Information

  • OEM: MG 612228
  • Service: N/A
  • Description: 6-Way F ASC Series, KET (WH)

Window Switch - Left Rear (A31)

Pin

Wire

Circuit

Function

1

D-GN

168

Power Window Master Switch Left Rear Up Signal

2

PU

169

Power Window Master Switch Left Rear Down Signal

3

D-BU

668

Power Window Motor Left Rear Up Control

4

D-BU

1307

Power Window Master Switch Lockout Signal

5

--

--

Not Used

6

BN

669

Power Window Motor Left Rear Down Control

Window Switch - Passenger (A31)


Object Number: 1908545  Size: CH

Connector Part Information

  • OEM: MG 612228
  • Service: N/A
  • Description: 6-Way F ASC Series, KET (WH)

Window Switch - Passenger (A31)

Pin

Wire

Circuit

Function

1

L-BU

166

Power Window Master Switch Right Front Up Signal

2

PU

167

Power Window Master Switch Right Front Down Signal

3

D-BU

666

Power Window Motor Right Front Up Control

4

D-BU

1307

Power Window Master Switch Lockout Signal

5

--

--

Not Used

6

BN

667

Power Window Motor Right Front Down Control

Window Switch - Right Rear (A31)


Object Number: 1908545  Size: CH

Connector Part Information

  • OEM: MG 612228
  • Service: N/A
  • Description: 6-Way F ASC Series, KET (WH)

Window Switch - Right Rear (A31)

Pin

Wire

Circuit

Function

1

D-GN

168

Power Window Master Switch Left Rear Up Signal

2

PU

169

Power Window Master Switch Left Rear Down Signal

3

D-BU

668

Power Window Motor Left Rear Up Control

4

D-BU

1307

Power Window Master Switch Lockout Signal

5

--

--

Not Used

6

BN

669

Power Window Motor Left Rear Down Control

Windshield Washer Fluid Pump


Object Number: 1467079  Size: CH

Connector Part Information

  • OEM: MG 640605-5
  • Service: See Catalog
  • Description: 2-Way F 090 WP Series, KET (WH)

Windshield Washer Pump

Pin

Wire

Circuit

Function

1

BK

50

Ground

2

PK

94

Windshield Washer Switch Signal

Windshield Wiper Motor


Object Number: 2184098  Size: CH

Connector Part Information

  • OEM: 936257-2
  • Service: See Catalog
  • Description: 6-Way F MCP-E SLD Series, Sealed Tyco (BK)

Windshield Wiper Motor

Pin

Wire

Circuit

Function

1

--

--

Not Used

2

BN

96

Windshield Wiper Switch Pulse Delay Signal

3

PK

639

Ignition 3 Voltage

4

BK

50

Ground

5

PU

92

Windshield Wiper Motor High Speed

6

D-GN

95

Windshield Wiper Motor Low Speed

Windshield Wiper/Washer Switch X1


Object Number: 1468431  Size: CH

Connector Part Information

  • OEM: MG 610154
  • Service: N/A
  • Description: 9-Way 118 Series, KET (NA)

Windshield Wiper/Washer Switch X1

Pin

Wire

Circuit

Function

1

GY

393

Rear Window Wiper Motor Control (C25)

2

L-GN/BK

392

Rear Window Washer Pump Control (C25)

3

D-BU

58

Rear Window Wiper Auto Stop (C25)

D-BU

58

Rear Window Wiper Auto Stop (-C98)

4

PK

94

Windshield Washer Switch Signal

5

PU

92

Windshield Wiper Motor High Speed

PU

92

Windshield Wiper Motor High Speed (C68)

6

L-BU

97

Windshield Wiper Switch Mist/Off/Low Signal

7

D-GN/RD

91

Windshield Wiper Switch Signal 2

8

PK

639

Ignition 1 Voltage

D-BU

58

Rear Window Wiper Auto Stop (-C98)

9

D-GN

95

Windshield Wiper Motor High Speed

Windshield Wiper/Washer Switch X2


Object Number: 1908514  Size: CH

Connector Part Information

  • OEM: 0-0368501-1
  • Service: N/A
  • Description: 4-Way 070 Mulit-Lock Series, Tyco (WH)

Windshield Wiper/Washer Switch X2

Pin

Wire

Circuit

Function

1

YE

112

Windshield Wiper Switch Signal 1

2

BK/RD

450

Ground

3

D-BU

1977

Rear Fog Lamp Relay Control (T9E)

4

BK/RD

450

Ground (T9E)