GM Service Manual Online
For 1990-2009 cars only

Removal Procedure

  1. Remove the air cleaner outlet duct. Refer to Air Cleaner Resonator Outlet Duct Replacement .

  2. Object Number: 1297815  Size: SH
  3. Disconnect the electrical connector from the secondary air injection (AIR) reaction solenoid valve.
  4. Disconnect the AIR pump air outlet pipe from the AIR solenoid valve.

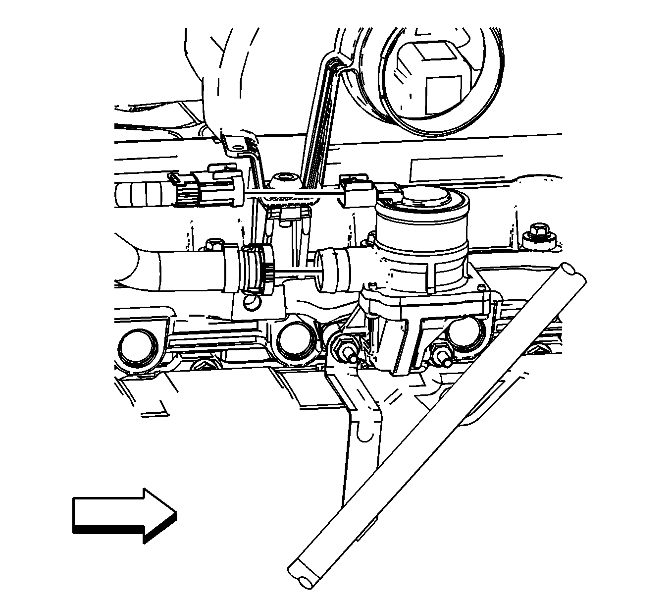
  5. Object Number: 1304735  Size: SH
  6. Remove the nut (1) securing the transmission fluid level indicator tube (2) to the AIR solenoid valve.
  7. Remove the transmission fluid level indicator tube (2) from the AIR solenoid valve stud (3).
  8. Remove the 2 AIR solenoid valve studs (3).
  9. Remove the AIR solenoid valve (4) and the gasket (5) from the engine.

Installation Procedure


    Object Number: 1304735  Size: SH
  1. Install the AIR solenoid valve (4) and the gasket (5) to the engine.
  2. Notice: Use the correct fastener in the correct location. Replacement fasteners must be the correct part number for that application. Fasteners requiring replacement or fasteners requiring the use of thread locking compound or sealant are identified in the service procedure. Do not use paints, lubricants, or corrosion inhibitors on fasteners or fastener joint surfaces unless specified. These coatings affect fastener torque and joint clamping force and may damage the fastener. Use the correct tightening sequence and specifications when installing fasteners in order to avoid damage to parts and systems.

  3. Install the 2 AIR solenoid valve studs (3).
  4. Tighten
    Tighten the studs to 25 N·m (18 lb ft).

  5. Install the transmission fluid level indicator tube (2) to the AIR solenoid valve stud (3).
  6. Install the nut (1) securing the transmission fluid level indicator tube (2) to the AIR solenoid valve.
  7. Tighten
    Tighten the nut to 10 N·m (89 lb in).


    Object Number: 1297815  Size: SH
  8. Connect the AIR pump air outlet pipe to the AIR solenoid valve.
  9. Connect the electrical connector to the AIR solenoid valve.
  10. Install the air cleaner outlet duct. Refer to Air Cleaner Resonator Outlet Duct Replacement .