GM Service Manual Online
For 1990-2009 cars only
Table 1: Heated Seat Element - Driver Back
Table 2: Heated Seat Element - Driver Cushion
Table 3: Heated Seat Element - Passenger Back
Table 4: Heated Seat Element - Passenger Cushion
Table 5: Lumbar Adjuster Switch - Driver
Table 6: Lumbar Adjuster Switch - Passenger
Table 7: Lumbar Horizontal Motor - Driver
Table 8: Lumbar Horizontal Motor - Passenger
Table 9: Lumbar Horizontal Position Sensor - Driver
Table 10: Memory Seat Module - Driver C1
Table 11: Memory Seat Module - Driver C2
Table 12: Memory Seat Module - Driver C3
Table 13: Memory Seat Module - Driver C4
Table 14: Seat Adjuster Switch - Driver
Table 15: Seat Adjuster Switch - Passenger
Table 16: Seat Front Vertical Motor - Driver
Table 17: Seat Front Vertical Motor - Passenger
Table 18: Seat Horizontal Motor - Driver
Table 19: Seat Horizontal Motor - Passenger
Table 20: Seat Position Sensor - Front
Table 21: Seat Position Sensor - Horizontal
Table 22: Seat Position Sensor - Rear
Table 23: Seat Position Sensor - Recline
Table 24: Seat Rear Vertical Motor - Driver
Table 25: Seat Rear Vertical Motor - Passenger
Table 26: Seat Recline Motor - Driver
Table 27: Seat Recline Motor - Passenger

Heated Seat Element - Driver Back


Object Number: 39661  Size: CH

Connector Part Information

    • 12066498
    • 4-Way M Metri-Pack 150 Series (BK)

Pin

Wire Color

Circuit No.

Function

A

RD/WH

2078

Heated Seat Cushion Element Control

B

BN

2432

Heated Seat Back Element Supply Voltage

C

YE/BK

2079

Heated Seat Cushion Temperature Sensor Signal

D

YE

2080

Low Reference

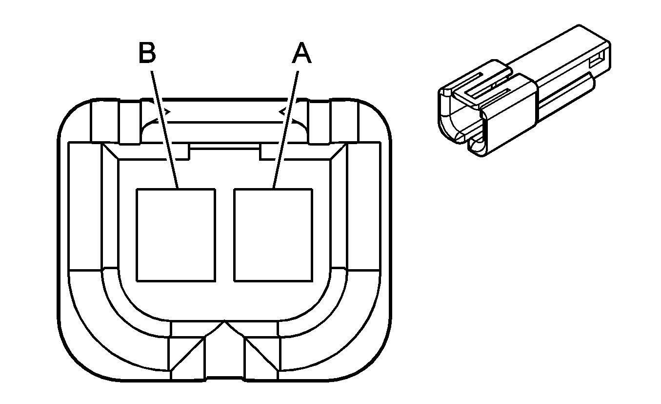
Heated Seat Element - Driver Cushion


Object Number: 894480  Size: CH

Connector Part Information

    • 12064778
    • 2-Way M Metri-Pack 150 Series (L-GN)

Pin

Wire Color

Circuit No.

Function

A

RD/WH

2078

Heated Seat Cushion Element Control

B

L-GN

2077

Heated Seat Cushion Element Supply Voltage

Heated Seat Element - Passenger Back


Object Number: 39661  Size: CH

Connector Part Information

    • 12066498
    • 4-Way M Metri-Pack 150 Series (BK)

Pin

Wire Color

Circuit No.

Function

A

TN

2481

Passenger Heated Seat Back Element Supply Voltage

B

BK

2480

Passenger Heated Seat Element Control

C

BN

5475

Passenger Heated Seat Back Temperature Sensor Signal

D

GY

5476

Passenger Heated Seat Back Low Reference

Heated Seat Element - Passenger Cushion


Object Number: 894480  Size: CH

Connector Part Information

    • 12064778
    • 2-Way M Metri-Pack 150 Series (L-GN)

Pin

Wire Color

Circuit No.

Function

A

BK

2479

Passenger Heated Seat Cushion Element Supply Voltage

B

BK

2480

Passenger Heated Seat Element Control

Lumbar Adjuster Switch - Driver


Object Number: 73146  Size: CH

Connector Part Information

    • 12052854
    • 7-Way F Metri-Pack 280 Series (BK)

Pin

Wire Color

Circuit No.

Function

A

PK

2407

Driver Seat Lumbar Forward Switch Signal

B-D

--

--

Not Used

E

BK

1350

Ground

F

RD

2408

Driver Seat Lumbar Rearward Switch Signal

G

GY

961

Battery Positive Voltage

Lumbar Adjuster Switch - Passenger


Object Number: 73146  Size: CH

Connector Part Information

    • 12052854
    • 7-Way F Metri-Pack 280 Series (BK)

Pin

Wire Color

Circuit No.

Function

A

PK

610

Passenger Seat Lumbar Motor Forward Control

B-D

--

--

Not Used

E

BK

1450

Ground

F

D-BU

611

Passenger Seat Lumbar Motor Rearward Control

G

OG

3540

Battery Positive Voltage

Lumbar Horizontal Motor - Driver


Object Number: 130707  Size: CH

Connector Part Information

    • 12020556
    • 2-Way F Metri-Pack 480 Series (BK)

Pin

Wire Color

Circuit No.

Function

A

D-BU

611

Driver Seat Lumbar Motor Forward Control

B

PK

610

Driver Seat Lumbar Motor Rearward Control

Lumbar Horizontal Motor - Passenger


Object Number: 130707  Size: CH

Connector Part Information

    • 12020556
    • 2-Way F Metri-Pack 480 Series (BK)

Pin

Wire Color

Circuit No.

Function

A

PK

610

Passenger Seat Lumbar Motor Forward Control

B

D-BU

611

Passenger Seat Lumbar Motor Rearward Control

Lumbar Horizontal Position Sensor - Driver


Object Number: 812599  Size: CH

Connector Part Information

    • 50-57-9403
    • 3-Way F 70066 (BK)

Pin

Wire Color

Circuit No.

Function

1

BK

5288

Low Reference

2

OG

5287

5-Volt Reference

3

YE

1063

Driver Seat Lumbar Horizontal Position Sensor Signal

Memory Seat Module - Driver C1


Object Number: 38596  Size: CH

Connector Part Information

    • 12020557
    • 3-Way F Metri-Pack 480 Series (BK)

Pin

Wire Color

Circuit No.

Function

A

--

--

Not Used

B

BK

1350

Ground

C

OG

3540

Battery Positive Voltage

Memory Seat Module - Driver C2


Object Number: 62469  Size: CH

Connector Part Information

    • 15332153
    • 8-Way F GT 150 Series (BK)

Pin

Wire Color

Circuit No.

Function

A

D-GN

286

Driver Seat Front Vertical Motor Up Control

B

D-BU

287

Driver Seat Front Vertical Motor Down Control

C

L-BU

283

Driver Seat Rear Vertical Motor Down Control

D

YE

282

Driver Seat Rear Vertical Motor Up Control

E

L-GN

284

Driver Seat Horizontal Motor Rearward Control

F

TN

285

Driver Seat Horizontal Motor Forward Control

G

L-BU

277

Driver Seat Recline Motor Rearward Control

H

L-GN

276

Driver Seat Recline Motor Forward Control

Memory Seat Module - Driver C3


Object Number: 130690  Size: CH

Connector Part Information

    • 12110206
    • 24-Way F Metri-Pack 100 Series (L-BU)

Pin

Wire Color

Circuit No.

Function

A1

BK

5289

Low Reference (JF4)

A2

--

--

Not Used

A3

YE

1063

Driver Seat Lumbar Horizontal Position Sensor Signal

A4

WH/BK

570

Driver Seat Recline Motor Position Sensor Signal

A5

D-GN

569

Horizontal Seat Motor Position Sensor Signal

A6

TN

568

Rear Vertical Seat Motor Position Sensor Signal

A7

BN/WH

557

Front Vertical Seat Motor Position Sensor Signal

A8-A10

--

--

Not Used

A11

YE/BK

2079

Heated Seat Cushion Temperature Sensor Signal

A12

--

--

Not Used

B1

TN

5604

Adjustable Pedal Relay Rearward Control (JF4)

B2

YE

5603

Adjustable Pedal Relay Forward Control (JF4)

B3-B4

--

--

Not Used

B5

PK

610

Driver Seat Lumbar Motor Rearward Control

B6

D-BU

611

Driver Seat Lumbar Motor Forward Control

B7-B9

--

--

Not Used

B8

BK

2479

Passenger Heated Seat Cushion Element Supply Voltage (KA1)

B9

PK

2480

Passenger Heated Seat Element Control (KA1)

B10

BN

2432

Heated Seat Back Element Supply Voltage

B11

L-GN

2077

Heated Seat Cushion Element Supply Voltage

B12

L-GN

2078

Heated Seat Cushion Element Control

Memory Seat Module - Driver C4


Object Number: 73156  Size: CH

Connector Part Information

    • 12110088
    • 24-Way F Metri-Pack 100 Series (GY)

Pin

Wire Color

Circuit No.

Function

A1

OG

2740

Battery Positive Voltage

A2

--

--

Not Used

A3

OG

840

Battery Positive Voltage

A4

D-GN/WH

1270

Power Seat Recline Rearward Switch Signal

A5

GY/BK

1269

Power Seat Recline Forward Switch Signal

A6

L-GN

1523

Power Seat Horizontal Rearward Switch Signal

A7

TN

1522

Power Seat Horizontal Forward Switch Signal

A8

L-BU

1521

Power Seat Rear Vertical Down Switch Signal

A9

YE

1519

Power Seat Rear Vertical Up Switch Signal

A10

D-BU

1520

Power Seat Front Vertical Down Switch Signal

A11

D-GN

1518

Power Seat Front Vertical Up Switch Signal

A12

YE

2080

Low Reference

B1

BK

1048

Class 2 Serial Data

B2

--

--

Not Used

B3

OG

5287

5-Volt Reference

B4

GY

961

Battery Positive Voltage

B5

OG

240

Battery Positive Voltage

B6-B7

--

--

Not Used

B8

RD

2408

Left Rear Lumbar Motor Rearward Control

B9

PK

2407

Left Rear Lumbar Motor Forward Control

B10

BK

5288

Low Reference

B11

BK

850

Ground

B12

D-GN

5476

Passenger Heated Seat Back Low Reference

Seat Adjuster Switch - Driver


Object Number: 623046  Size: CH

Connector Part Information

    • 15326931
    • 10-Way F GT 280 Series (BK)

Pin

Wire Color

Circuit No.

Function

A

D-GN/WH

1270

Power Seat Recline Rearward Switch Signal

B

BK

1350

Ground

C

L-GN

1523

Power Seat Horizontal Rearward Switch Signal

D

TN

1522

Power Seat Horizontal Forward Switch Signal

E

OG

240

Battery Positive Voltage

F

GY/BK

1269

Power Seat Recline Forward Switch Signal

G

L-BU

1521

Power Seat Rear Vertical Down Switch Signal

H

YE

1519

Power Seat Rear Vertical Up Switch Signal

J

D-BU

1520

Power Seat Front Vertical Down Switch Signal

K

D-GN

1518

Power Seat Front Vertical Up Switch Signal

Seat Adjuster Switch - Passenger


Object Number: 623046  Size: CH

Connector Part Information

    • 15326931
    • 10-Way F GT 280 Series (BK)

Pin

Wire Color

Circuit No.

Function

A

OG

3540

Battery Positive Voltage

B

L-GN

284

Passenger Seat Horizontal Motor Rearward Control

C

TN

285

Passenger Seat Horizontal Motor Forward Control

D

BK

1450

Ground

E

L-GN

276

Passenger Seat Recline Motor Forward Control

F

D-BU

287

Passenger Seat Front Vertical Motor Down Control

G

D-GN

286

Passenger Seat Front Vertical Motor Up Control

H

L-BU

283

Passenger Seat Rear Vertical Motor Down Control

J

YE

282

Driver Seat Rear Vertical Motor Up Control

K

L-BU

277

Passenger Seat Recline Motor Rearward Control

Seat Front Vertical Motor - Driver


Object Number: 35456  Size: CH

Connector Part Information

    • 12064749
    • 2-Way F Metri-Pack 480 Series (BK)

Pin

Wire Color

Circuit No.

Function

A

D-BU

287

Driver Seat Front Vertical Motor Down Control

B

D-GN

286

Driver Seat Front Vertical Motor Up Control

Seat Front Vertical Motor - Passenger


Object Number: 35456  Size: CH

Connector Part Information

    • 12064749
    • 2-Way F Metri-Pack 480 Series (BK)

Pin

Wire Color

Circuit No.

Function

A

D-BU

287

Passenger Seat Front Vertical Motor Down Control

B

D-GN

286

Passenger Seat Front Vertical Motor Up Control

Seat Horizontal Motor - Driver


Object Number: 35456  Size: CH

Connector Part Information

    • 12064749
    • 2-Way F Metri-Pack 480 Series (BK)

Pin

Wire Color

Circuit No.

Function

A

L-GN

284

Seat Horizontal Motor Rearward Control

B

TN

285

Seat Horizontal Motor Forward Control

Seat Horizontal Motor - Passenger


Object Number: 35456  Size: CH

Connector Part Information

    • 12064749
    • 2-Way F Metri-Pack 480 Series (BK)

Pin

Wire Color

Circuit No.

Function

A

L-GN

284

Seat Horizontal Motor Rearward Control

B

TN

285

Seat Horizontal Motor Forward Control

Seat Position Sensor - Front


Object Number: 333035  Size: CH

Connector Part Information

    • 12047781
    • 3-Way F Metri-Pack 150 Series (BK)

Pin

Wire Color

Circuit No.

Function

A

OG

840

Battery Positive Voltage

B

BN/WH

557

Front Vertical Seat Motor Position Sensor Signal

C

BK

850

Ground

Seat Position Sensor - Horizontal


Object Number: 333035  Size: CH

Connector Part Information

    • 12047781
    • 3-Way F Metri-Pack 150 Series (BK)

Pin

Wire Color

Circuit No.

Function

A

BK

850

Ground

B

D-GN

569

Horizontal Seat Motor Position Sensor Signal

C

OG

840

Battery Positive Voltage

Seat Position Sensor - Rear


Object Number: 333035  Size: CH

Connector Part Information

    • 12047781
    • 3-Way F Metri-Pack 150 Series (BK)

Pin

Wire Color

Circuit No.

Function

A

BK

850

Ground

B

TN

568

Rear Vertical Seat Motor Position Sensor Signal

C

OG

840

Battery Positive Voltage

Seat Position Sensor - Recline


Object Number: 405591  Size: CH

Connector Part Information

    • 12059583
    • 4-Way F Metri-Pack 150 Series (NA)

Pin

Wire Color

Circuit No.

Function

A

OG

840

Battery Positive Voltage

B

--

--

Not Available

C

WH/BK

570

Driver Seat Recline Motor Position Sensor Signal

D

BK

850

Ground

Seat Rear Vertical Motor - Driver


Object Number: 35456  Size: CH

Connector Part Information

    • 12064749
    • 2-Way F Metri-Pack 480 Series (BK)

Pin

Wire Color

Circuit No.

Function

A

L-BU

283

Driver Seat Rear Vertical Motor Down Control

B

YE

282

Driver Seat Rear Vertical Motor Up Control

Seat Rear Vertical Motor - Passenger


Object Number: 35456  Size: CH

Connector Part Information

    • 12064749
    • 2-Way F Metri-Pack 480 Series (BK)

Pin

Wire Color

Circuit No.

Function

A

L-BU

283

Passenger Seat Rear Vertical Motor Down Control

B

YE

282

Passenger Seat Rear Vertical Motor Up Control

Seat Recline Motor - Driver


Object Number: 153645  Size: CH

Connector Part Information

    • 12129082
    • 2-Way F Metri-Pack 280 Series (GY)

Pin

Wire Color

Circuit No.

Function

A

L-BU

277

Driver Seat Recline Motor Rearward Control

B

L-GN

276

Driver Seat Recline Motor Forward Control

Seat Recline Motor - Passenger


Object Number: 153645  Size: CH

Connector Part Information

    • 12129082
    • 2-Way F Metri-Pack 280 Series (GY)

Pin

Wire Color

Circuit No.

Function

A

L-BU

277

Passenger Seat Recline Motor Rearward Control

B

L-GN

276

Passenger Seat Recline Motor Forward Control