GM Service Manual Online
For 1990-2009 cars only
Table 1: Theft Deterrent Exciter Module
Table 2: Theft Deterrent Control Module

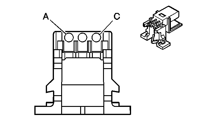
Theft Deterrent Exciter Module


Object Number: 325539  Size: CH

Connector Part Information

    • 12191747
    • 3-Way F Micro-Pack 064 Series (BK)

Pin

Wire Color

Circuit No.

Function

A

WH

1459

Security System Sensor Supply Voltage

B

YE

1836

Security System Sensor Signal

C

BK

1835

Security System Sensor Low Reference

Theft Deterrent Control Module


Object Number: 62464  Size: CH

Connector Part Information

    • 12064769
    • 10-Way F Metri-Pack 150 Series Unsealed (NA)

Pin

Wire Color

Circuit No.

Function

A

OG

1140

Battery Positive Voltage

B

YE

1836

Security System Sensor Signal

C

WH

1459

Security System Sensor Supply Voltage

D

PU

1132

DLC Class 2 Serial Data

E

YE

710

Class 2 Serial Data

F

PK

1020

Ignition 0 Voltage

G

--

--

Not Used

H

BK/WH

751

Ground

J

BK

1835

Security System Sensor Low Reference

K

--

--

Not Used