| Table 1: | Fuse Block - Underhood (4.2L), Label Usage |
| Table 2: | Fuse Block - Underhood (5.3L), Label Usage |
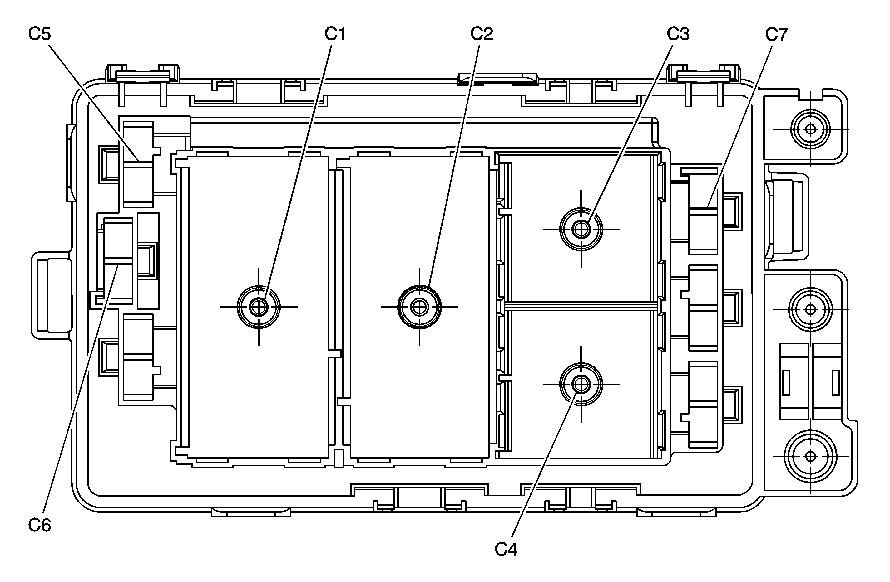
| Table 3: | Fuse Block - Underhood C1 (4.2L) |
| Table 4: | Fuse Block - Underhood C1 (5.3L) |
| Table 5: | Fuse Block - Underhood C2 |
| Table 6: | Fuse Block - Underhood C3 |
| Table 7: | Fuse Block - Underhood C4 |
| Table 8: | Fuse Block - Underhood C5 |
| Table 9: | Fuse Block - Underhood C6 |
| Table 10: | Fuse Block - Underhood C7 |
| Table 11: | Fuse Block - Rear, Label Usage |
| Table 12: | Fuse Block - Rear C1 |
| Table 13: | Fuse Block - Rear C2 |
| Table 14: | Fuse Block - Rear C3 |
| Table 15: | Fuse Block - Rear C4 |
No. | Device | Rating | Description |
|---|---|---|---|
1 | ECAS Fuse | 30A | Air Suspension Compressor Assembly |
2 | HI HDLP-RT Fuse | 10A | Headlamp - High Beam - Right |
3 | LOW HDLP-RT Fuse | 10A | Headlamp - Low Beam - Right |
4 | TRLR B/U Fuse | 10A | Trailer Connector |
5 | HI HDLP-LT Fuse | 10A | Headlamp - High Beam - Left |
6 | LOW HDLP-LT Fuse | 10A | Headlamp - Low Beam - Left |
7 | WASH Fuse | 20A | HDLP WASH Relay, REAR WASH Relay |
8 | ATC Fuse | 30A | Transfer Case Shift Control Module |
9 | W/S WASH Fuse | 15A | W/S WASH Relay |
10 | PCM B Fuse | 20A | F/PMP Relay, Powertrain Control Module (PCM) |
11 | FOG LP Fuse | 15A | FOG LP Relay |
12 | ST/LP Fuse | 25A | Stop Lamp Switch |
13 | CIGAR Fuse | 20A | Data Link Connector (DLC) |
14 | COILS Fuse | 10A | HDLP-HI Relay |
15 | EAP Fuse | 15A | EAP Relay, Electronic Adjustable Pedals (EAP) Relay, Electronic Adjustable Pedals (EAP) Switch |
16 | IGNB1 Fuse | 5A | Ignition Switch |
18 | SIR Fuse | 10A | Inflatable Restraint Front Passenger Pressure System (PPS) Module, Inflatable Restraint Sensing and Diagnostic Module (SDM), Rollover Sensor |
19 | ELEK BRK Fuse | 30A | Trailer Brake Wiring |
20 | FAN Fuse | 10A | FAN Relay |
21 | HORN Fuse | 15A | HORN Relay |
22 | IGN E Fuse | 10A | A/C Relay, Electronic Brake Control Module (EBCM), Headlamp Switch, Inside Rearview Mirror, Instrument Panel Cluster (IPC), Park/Neutral Position (PNP) Switch, Powertrain Control Module (PCM), Stop Lamp Switch, Turn Signal/Multifunction Switch |
23 | TAC Fuse | 10A | Powertrain Control Module (PCM) |
24 | IPC/DIC Fuse | 10A | Instrument Panel Cluster (IPC) |
25 | BTSI Fuse | 10A | Automatic Transmission Shift Lock Actuator, Stop Lamp Switch |
26 | ENG I Fuse | 10A | Evaporative Emission (EVAP) Canister Purge Solenoid, Evaporative Emission (EVAP) Canister Vent Solenoid |
27 | BACK UP Fuse | 15A | EAP Relay, Park/Neutral Position (PNP) Switch |
28 | PCM I Fuse | 15A | Body Control Module (BCM), Fuel Injectors, Ignition Coils, Powertrain Control Module (PCM) |
29 | O2 Fuse | 10A | Heated Oxygen Sensors (HO2S) |
30 | A/C Fuse | 10A | A/C Relay |
31 | TBC I Fuse | 10A | Body Control Module (BCM), Theft Deterrent Control Module |
32 | TRAILER Fuse | 30A | Trailer Connector |
33 | ABS Fuse | 60A | Electronic Brake Control Module (EBCM) |
34 | IGN A Fuse | 40A | Starter Relay |
35 | LH HDLP Fuse | 20A | Headlamp - Low Beam - Left |
36 | BLOWER Fuse | 40A | Blower Motor Control Module |
37 | HDLP WASH Relay | -- | Headlamp Washer Fluid Pump |
38 | REAR WASH Relay | -- | Rear Window Washer Fluid Pump |
39 | FOG LP Relay | -- | Fog Lamps |
40 | HORN Relay | -- | Body Control Module (BCM), Horn Switch |
41 | F/PMP Relay | -- | Fuel Pump and Sender Assembly |
42 | W/S WASH Relay | -- | Windshield Washer Fluid Pump |
43 | HDLP-HI Relay | -- | HI HDLP-LT Fuse, HI HDLP-RT Fuse |
44 | A/C Relay | -- | A/C Compressor Clutch Assembly |
45 | FAN Relay | -- | Cooling Fan |
46 | HDM Relay | -- | LOW HDLP-LT Fuse, LOW HDLP-RT Fuse |
47 | STARTER Relay | -- | Starter |
48 | I/P BATT Fuse | 125A | Fuse Block - Rear |
49 | EAP Relay | -- | Electronic Adjustable Pedals (EAP) Switch |
50 | TRL R TRN Fuse | 10A | Trailer Connector |
51 | TRL L TRN Fuse | 10A | Trailer Connector |
52 | FLASH Fuse | 25A | Turn Signal/Hazard Flasher Module |
53 | HDM Fuse | 15A | HDM Relay |
54 | AIR SOL Fuse | 15A | AIR SOL Relay, Secondary Air Injection (AIR) Pump Relay |
55 | AIR SOL Relay | -- | Secondary Air Injection (AIR) Solenoid |
56 | AIR Fuse | 60A | Secondary Air Injection (AIR) Pump Relay |
57 | IGNA1 Fuse | 5A | Ignition Switch |
58 | RH HDLP Fuse | 20A | Headlamp - Low Beam - Right |
59 | LOW BEAM Relay | -- | LH HDLP Fuse, RH HDLP Fuse |
60 | IGN1 Relay | -- | AIR SOL Fuse, BACK UP Fuse, ENG I Fuse, IGN E Fuse, PCM I Fuse, O2 Fuse, SIR Fuse, TAC Fuse |
No. | Device | Rating | Description |
|---|---|---|---|
1 | ECAS Fuse | 30A | Air Suspension Compressor Assembly |
2 | HI HDLP-RT Fuse | 10A | Headlamp - High Beam - Right |
3 | LOW HDLP-RT Fuse | 10A | Headlamp - Low Beam - Right |
4 | TRLR B/U Fuse | 10A | Trailer Connector |
5 | HI HDLP-LT Fuse | 10A | Headlamp - High Beam - Left |
6 | LOW HDLP-LT Fuse | 10A | Headlamp - Low Beam - Left |
7 | WASH Fuse | 20A | HDLP WASH Relay, REAR WASH Relay |
8 | ATC Fuse | 30A | Transfer Case Shift Control Module |
9 | W/S WASH Fuse | 15A | W/S WASH Relay |
10 | PCM B Fuse | 20A | F/PMP Relay |
11 | FOG LP Fuse | 15A | FOG LP Relay |
12 | ST/LP Fuse | 25A | Stop Lamp Switch |
13 | CIGAR Fuse | 20A | Data Link Connector (DLC) |
14 | COILS Fuse | 10A | HDLP-HI Relay |
15 | TCM/CANISTER Fuse | 10A | Evaporative Emission (EVAP) Canister Vent Solenoid, Transmission Control Module (TCM) |
16 | IGNB1 Fuse | 10A | Ignition Switch |
18 | SIR Fuse | 10A | Inflatable Restraint Front Passenger Pressure System (PPS) Module, Inflatable Restraint Sensing and Diagnostic Module (SDM), Rollover Sensor |
19 | ELEK BRK Fuse | 30A | Trailer Brake Wiring |
20 | FAN Fuse | 10A | FAN Relay |
21 | HORN Fuse | 15A | HORN Relay |
22 | IGN E Fuse | 10A | A/C Relay, Body Control Module (BCM), Electronic Brake Control Module (EBCM), Inside Rearview Mirror, Instrument Panel Cluster (IPC), Park/Neutral Position (PNP) Switch, Engine Control Module (ECM), Stop Lamp Switch, Turn Signal/Multifunction Switch |
23 | TAC Fuse | 15A | Engine Control Module (ECM) |
24 | IPC/DIC Fuse | 10A | Instrument Panel Cluster (IPC) |
25 | BTSI Fuse | 10A | Automatic Transmission Shift Lock Actuator, Stop Lamp Switch |
26 | ENG I Fuse | 15A | Evaporative Emission (EVAP) Canister Purge Solenoid, Mass Air Flow (MAF)/Intake Air Temperature (IAT) Sensor |
27 | BACK UP Fuse | 15A | EAP Relay, Park/Neutral Position (PNP) Switch |
28 | ECM 1 Fuse | 15A | Engine Control Module (ECM) |
29 | ECM Fuse | 10A | Engine Control Module (ECM) |
30 | A/C Fuse | 10A | A/C Relay |
31 | INJA Fuse | 20A | Fuel Injectors and Ignition Coils 1, 3, 5, and 7 |
32 | TRAILER Fuse | 30A | Trailer Connector |
33 | ABS Fuse | 60A | Electronic Brake Control Module (EBCM) |
34 | IGN A Fuse | 40A | Starter Relay |
35 | BLOWER Fuse | 40A | Blower Motor Control Module |
36 | LH HDLP Fuse | 20A | Headlamp - Low Beam - Left |
37 | HDLP WASH Relay | -- | Headlamp Washer Fluid Pump |
38 | REAR WASH Relay | -- | Rear Window Washer Fluid Pump |
39 | FOG LP Relay | -- | Fog Lamps |
40 | HORN Relay | -- | Body Control Module (BCM), Horn Switch |
41 | F/PMP Relay | -- | Fuel Pump and Sender Assembly |
42 | W/S WASH Relay | -- | Windshield Washer Fluid Pump |
43 | HDLP-HI Relay | -- | HI HDLP-LT Fuse, HI HDLP-RT Fuse |
44 | A/C Relay | -- | A/C Compressor Clutch Assembly |
45 | FAN Relay | -- | Cooling Fan |
46 | HDM Relay | -- | LOW HDLP-LT Fuse, LOW HDLP-RT Fuse |
47 | Starter Relay | -- | Starter |
48 | I/P BATT Fuse | 125A | Fuse Block - Rear |
49 | EAP Relay | -- | RAP Relay, Electronic Adjustable Pedals (EAP) Relay |
50 | TRL R TRN Fuse | 10A | Trailer Connector |
51 | TRL L TRN Fuse | 10A | Trailer Connector |
52 | FLASH Fuse | 25A | Turn Signal/Hazard Flasher Module |
53 | TRANS Fuse | 15A | Automatic Transmission, Transmission Control Module (TCM) |
54 | O2 B Fuse | 10A | Heated Oxygen Sensor (HO2S) Bank 1 Sensor 2, Heated Oxygen Sensor (HO2S) Bank 2 Sensor 2 |
55 | O2 A Fuse | 10A | Heated Oxygen Sensor (HO2S) Bank 1 Sensor 1, Heated Oxygen Sensor (HO2S) Bank 2 Sensor 1 |
56 | INJB Fuse | 20 A | Fuel Injectors and Ignition Coils 2, 4, 6, and 8 |
57 | HDM Fuse | 15A | HDM Relay |
58 | TBC1 Fuse | 10A | Body Control Module (BCM), Theft Deterrent Control Module |
59 | EAP Fuse | 15A | EAP Relay, Electronic Adjustable Pedals (EAP) Relay, Electronic Adjustable Pedals (EAP) Switch |
60 | POWERTRAIN Relay | -- | ENG I Fuse, INJA Fuse, INJB Fuse, O2 A Fuse, O2 B Fuse, TAC Fuse |
61 | INGA1 Fuse | 5A | Ignition Switch |
62 | RH HDLP Fuse | 20A | Headlamp - Low Beam - Right |
63 | LOW BEAM Relay | -- | LH HDLP Fuse, RH HDLP Fuse |
64 | IGN 1 Relay | -- | IGN E Fuse, BACK UP Fuse, SIR Fuse, ECM 1 Fuse, TRANS Fuse |
| |||||||
|---|---|---|---|---|---|---|---|
Connector Part Information |
| ||||||
Pin | Wire Color | Circuit No. | Function | ||||
A1 | -- | -- | Not Used | ||||
A2 | PK | 839 | Ignition 1 Voltage | ||||
A3-A4 | -- | -- | Not Used | ||||
A5 | PK | 639 | Ignition 1 Voltage | ||||
A6-A8 | -- | -- | Not Used | ||||
A9 | GY | 1524 | Backup Lamp Signal | ||||
A10 | -- | -- | Not Used | ||||
A11 | D-GN/WH | 465 | Fuel Pump Relay Control | ||||
A12 | -- | -- | Not Used | ||||
B1 | -- | -- | Not Used | ||||
B2 | PK | 239 | Ignition 1 Voltage | ||||
B3-B4 | -- | -- | Not Used | ||||
B5 | PK | 339 | Ignition 1 Voltage | ||||
B6 | L-GN | 275 | Park Neutral Position Switch Park Signal | ||||
B7-B8 | -- | -- | Not Used | ||||
B9 | WH | 1310 | EVAP Canister Vent Solenoid Control | ||||
B10-B12 | -- | -- | Not Used | ||||
C1 | -- | -- | Not Used | ||||
C2 | PK | 539 | Ignition 1 Voltage | ||||
PK | 539 | Ignition 1 Voltage | |||||
C3-C4 | -- | -- | Not Used | ||||
C5 | PK | 439 | Ignition 1 Voltage | ||||
PK | 439 | Ignition 1 Voltage | |||||
C8-C9 | -- | -- | Not Used | ||||
C10 | BK | 550 | Ground | ||||
C11-C12 | -- | -- | Not Used | ||||
D1 | -- | -- | Not Used | ||||
D2 | PK | 1020 | Ignition 0 Voltage | ||||
D3 | BK | 350 | Ground | ||||
BK | 350 | Ground (w/K18) | |||||
D4 | -- | -- | Not Used | ||||
D5 | PK | 439 | Ignition 1 Voltage | ||||
PK | 439 | Ignition 1 Voltage | |||||
D8-D9 | -- | -- | Not Used | ||||
D10 | BK | 550 | Ground | ||||
BK | 550 | Ground | |||||
D11 | PK/BK | 415 | Air Sol Relay Power Output (w/K18) | ||||
D12 | -- | -- | Not Used | ||||
E1-E4 | -- | -- | Not Used | ||||
E5 | PK | 439 | Ignition 1 Voltage | ||||
PK | 439 | Ignition 1 Voltage | |||||
E6 | BK | 450 | Ground | ||||
E7 | BK | 450 | Ground | ||||
E8-E9 | -- | -- | Not Used | ||||
E10 | BK | 550 | Ground | ||||
BK | 550 | Ground | |||||
E11 | PU | 421 | Air Sol Relay Control (w/K18) | ||||
E12 | D-GN | 59 | A/C Compressor Clutch Supply Voltage | ||||
F1-F2 | -- | -- | Not Used | ||||
F3 | BK | 350 | Ground | ||||
F4 | -- | -- | Not Used | ||||
F5 | PK | 439 | Ignition 1 Voltage | ||||
PK | 439 | Ignition 1 Voltage | |||||
F6-F9 | -- | -- | Not Used | ||||
F10 | BK | 550 | Ground | ||||
BK | 550 | Ground | |||||
F11-F12 | -- | -- | Not Used | ||||
| |||||||
|---|---|---|---|---|---|---|---|
Connector Part Information |
| ||||||
Pin | Wire Color | Circuit No. | Function | ||||
A1-A4 | -- | -- | Not Used | ||||
A5 | PK | 639 | Ignition 1 Voltage | ||||
A6 | PU | 806 | Crank Voltage | ||||
A7 | -- | -- | Not Used | ||||
A8 | PU | 6 | Starter Solenoid Crank Voltage | ||||
A9 | GY | 1524 | Backup Lamp Signal | ||||
A10 | YE | 1737 | Neutral Safety Switch Park/Neutral Signal | ||||
A11 | PK | 239 | Ignition 1 Voltage | ||||
PK | 239 | Ignition 1 Voltage | |||||
A12 | -- | -- | Not Used | ||||
B1 | OG | 240 | Battery Positive Voltage | ||||
B2-B4 | -- | -- | Not Used | ||||
B5 | PK | 339 | Ignition 1 Voltage | ||||
B6 | L-GN | 275 | Park Neutral Position Switch Park Signal | ||||
B7 | -- | -- | Not Used | ||||
B8 | D-GN/WH | 465 | Fuel Pump Relay Control | ||||
B9 | WH | 1310 | EVAP Canister Vent Solenoid Control | ||||
B10 | -- | -- | Not Used | ||||
B11 | OG | 540 | Battery Positive Voltage | ||||
B12 | -- | -- | Not Used | ||||
C1 | -- | -- | Not Used | ||||
C2 | PK | 139 | Ignition 1 Voltage | ||||
PK | 139 | Ignition 1 Voltage | |||||
C3-C4 | -- | -- | Not Used | ||||
C5 | PK | 439 | Ignition 1 Voltage | ||||
C8-C9 | -- | -- | Not Used | ||||
C10 | BK | 550 | Ground | ||||
C11 | PK | 1339 | Ignition 1 Voltage | ||||
PK | 1339 | Ignition 1 Voltage | |||||
C12 | -- | -- | Not Used | ||||
D1 | YE | 5991 | Powertrain Relay Coil Control | ||||
D2 | -- | -- | Not Used | ||||
D3 | BK | 350 | Ground | ||||
D4 | WH/BK | 2366 | Cooling Fan Clutch Control | ||||
D5-D7 | -- | -- | Not Used | ||||
D8 | YE/BK | 625 | Starter Enable Relay Control | ||||
D9 | D-GN/WH | 459 | A/C Compressor Clutch Relay Control | ||||
D10 | BK | 550 | Ground | ||||
BK | 550 | Ground | |||||
D11 | D-GN | 59 | A/C Compressor Clutch Supply Voltage | ||||
D12 | -- | -- | Not Used | ||||
E1 | PK | 839 | Ignition 1 Voltage | ||||
E2-E5 | -- | -- | Not Used | ||||
E6 | BK | 450 | Ground | ||||
E7 | BK | 450 | Ground | ||||
BK | 450 | Ground | |||||
E8-E12 | -- | -- | Not Used | ||||
F1-F2 | -- | -- | Not Used | ||||
F3 | BK | 350 | Ground | ||||
F4-F8 | -- | -- | Not Used | ||||
F9 | PK | 539 | Ignition 1 Voltage | ||||
PK | 539 | Ignition 1 Voltage | |||||
F10 | PK | 1539 | Ignition 1 Voltage | ||||
PK | 1539 | Ignition 1 Voltage | |||||
F11 | PK | 1239 | Ignition 1 Voltage | ||||
PK | 1239 | Ignition 1 Voltage | |||||
F12 | -- | -- | Not Used | ||||
| |||||||
|---|---|---|---|---|---|---|---|
Connector Part Information |
| ||||||
Pin | Wire Color | Circuit No. | Function | ||||
A1-A2 | -- | -- | Not Used | ||||
A3 | YE | 618 | Left Rear Turn Signal Lamp Supply Voltage (w/TT6) | ||||
A4 | -- | -- | Not Used | ||||
A5 | WH/BK | 2366 | Cooling Fan Clutch Control (4.2L) | ||||
A6 | BN | 2309 | Front Park Lamps Supply Voltage | ||||
A7 | OG | 440 | Battery Positive Voltage | ||||
A8-A9 | -- | -- | Not Used | ||||
A10 | YE | 18 | Left Rear Stop/Turn Lamp Supply Voltage (UY7) | ||||
A11 | OG | 1640 | Battery Positive Voltage | ||||
A12 | OG | 2268 | Windshield Washer Relay Control | ||||
B1 | D-GN | 619 | Right Turn Signal Lamps Supply Voltage (w/o TT6) | ||||
D-BU | 2115 | Right Turn Signal Lamps Supply Voltage (w/TT6) | |||||
B2 | -- | -- | Not Used | ||||
B3 | PK/WH | 1970 | Headlamp Low Beam Relay Control | ||||
B4-B5 | -- | -- | Not Used | ||||
B6 | PK | 639 | Ignition 1 Voltage | ||||
B7 | D-GN | 619 | Right Rear Turn Signal Lamp Supply Voltage (w/TT6) | ||||
B8 | -- | -- | Not Used | ||||
B9 | RD/BK | 142 | Battery Positive Voltage | ||||
B10 | PU | 420 | TCC Brake Switch/Cruise Control Release Signal | ||||
PU | 420 | TCC Brake Switch/Cruise Control Release Signal | |||||
B11 | BN | 241 | Ignition 3 Voltage | ||||
B12 | -- | -- | Not Used | ||||
C1 | YE | 618 | Left Turn Signal Lamps Supply Voltage (w/o TT6) | ||||
L-BU | 2114 | Left Turn Signal Lamps Supply Voltage (w/TT6) | |||||
C2 | D-GN/WH | 1317 | Front Fog Lamp Relay and Indicator Control | ||||
C3 | L-GN | 2270 | Rear Window Washer Relay Control (CD6) | ||||
C4-C8 | -- | -- | Not Used | ||||
C9 | OG | 1540 | Battery Positive Voltage | ||||
C10 | PK/WH | 1970 | Headlamp Low Beam Relay Control | ||||
C11 | BN | 441 | Ignition 3 Voltage | ||||
C12 | BK/WH | 1969 | Headlamp High Beam Relay Control | ||||
D1-D2 | -- | -- | Not Used | ||||
D3 | WH | 2282 | Headlamp Washer Relay Control (CE4) | ||||
D4 | -- | -- | Not Used | ||||
D5 | OG | 140 | Battery Positive Voltage | ||||
D8 | -- | -- | Not Used | ||||
D9 | OG | 640 | Battery Positive Voltage | ||||
D10 | D-GN | 19 | Right Rear Stop/Turn Lamp Supply Voltage (UY7) | ||||
D11-D12 | -- | -- | Not Used | ||||
E1 | OG | 2340 | Battery Positive Voltage | ||||
E2 | BK | 28 | Horn Relay Control | ||||
E3 | PK | 1020 | Ignition 0 Voltage (4.2L) | ||||
E4 | -- | -- | Not Used | ||||
E5 | RD | 342 | Battery Positive Voltage | ||||
E6 | OG | 3240 | Battery Positive Voltage (JF4) | ||||
E7 | OG | 3040 | Battery Positive Voltage (JF4) | ||||
E8-E9 | -- | -- | Not Used | ||||
E10 | L-GN/BK | 584 | A/T Shift Lock Control Switch Supply Voltage (4.2L) | ||||
L-GN/BK | 584 | A/T Shift Lock Control Switch Supply Voltage (4.2L) | |||||
E11 | -- | -- | Not Used | ||||
E12 | OG | 1140 | Battery Positive Voltage | ||||
OG | 1140 | Battery Positive Voltage | |||||
F1 | OG | 2940 | Battery Positive Voltage (UY7) | ||||
F2 | PK | 3 | Ignition 1 Voltage | ||||
F3-F4 | -- | -- | Not Used | ||||
F5 | YE | 1139 | Ignition 1 Voltage | ||||
F6 | -- | -- | Not Used | ||||
F7 | YE | 5 | Crank Voltage | ||||
F8 | L-GN/BK | 584 | A/T Shift Lock Control Switch Supply Voltage (5.3L) | ||||
L-GN/BK | 584 | A/T Shift Lock Control Switch Supply Voltage (5.3L) | |||||
YE/BK | 625 | Starter Enable Relay Control (4.2L) | |||||
F9 | -- | -- | Not Used | ||||
F10 | D-GN | 1433 | PNP/Clutch Start Switch Signal (4.2L) | ||||
OG/BK | 1786 | Park/Neutral Signal (5.3L) | |||||
F11 | -- | -- | Not Used | ||||
F12 | D-GN/WH | 459 | A/C Compressor Clutch Relay Control (4.2L) | ||||
| |||||||
|---|---|---|---|---|---|---|---|
Connector Part Information |
| ||||||
Pin | Wire Color | Circuit No. | Function | ||||
A1 | -- | -- | Not Used | ||||
A2 | PK | 739 | Ignition 1 Voltage (4.2L w/K18) | ||||
A3 | OG | 2840 | Battery Positive Voltage | ||||
A4 | -- | -- | Not Used | ||||
A5 | PK | 239 | Ignition 1 Voltage (4.2L) | ||||
A6 | -- | -- | Not Used | ||||
B1-B3 | -- | -- | Not Used | ||||
B4 | L-GN | 1624 | Trailer Backup Lamps Supply Voltage | ||||
B5 | BN | 441 | Ignition 3 Voltage | ||||
B6 | D-GN | 1619 | Trailer Right Rear Turn/Stop Lamp Supply Voltage (UY7) | ||||
C1 | -- | -- | Not Used | ||||
C2 | WH | 1310 | EVAP Canister Vent Solenoid Control | ||||
C5 | -- | -- | Not Used | ||||
C6 | OG | 540 | Battery Positive Voltage (5.3L) | ||||
D1 | -- | -- | Not Used | ||||
D2 | YE | 1618 | Trailer Left Rear Turn/Stop Lamp Supply Voltage (UY7) | ||||
D5-D6 | -- | -- | Not Used | ||||
E1-E2 | -- | -- | Not Used | ||||
E3 | PU | 420 | TCC Brake Switch Signal | ||||
E4 | BN | 241 | Ignition 3 Voltage | ||||
E5-E6 | -- | -- | Not Used | ||||
F1 | BK | 350 | Ground | ||||
F2 | -- | -- | Not Used | ||||
F3 | GY | 120 | Fuel Pump Supply Voltage | ||||
F4-F6 | -- | -- | Not Used | ||||
| |||||||
|---|---|---|---|---|---|---|---|
Connector Part Information |
| ||||||
Pin | Wire Color | Circuit No. | Function | ||||
A1 | BN | 2309 | Front Park Lamps Supply Voltage | ||||
BN | 2309 | Front Park Lamps Supply Voltage | |||||
A2 | -- | -- | Not Used | ||||
A3 | WH | 2368 | Cooling Fan Clutch Supply Voltage | ||||
A4-A5 | -- | -- | Not Used | ||||
A6 | L-BU | 2114 | Left Turn Signal Lamps Supply Voltage (w/o TT6) | ||||
L-BU | 2114 | Left Turn Signal Lamps Supply Voltage (w/o TT6) | |||||
B1 | BN | 2309 | Front Park Lamps Supply Voltage | ||||
BN | 2309 | Front Park Lamps Supply Voltage | |||||
B2 | -- | -- | Not Used | ||||
B3 | D-GN | 619 | Right Rear Turn Signal Lamp Supply Voltage (w/TT6) | ||||
B4 | YE | 618 | Left Rear Turn Signal Lamp Supply Voltage (w/TT6) | ||||
B5 | D-GN | 392 | Rear Window Washer Pump Control (CD6) | ||||
B6 | -- | -- | Not Used | ||||
C1-C2 | -- | -- | Not Used | ||||
C5 | BK | 350 | Ground | ||||
C6 | D-BU | 2115 | Right Turn Signal Lamps Supply Voltage (w/o TT6) | ||||
D-BU | 2115 | Right Turn Signal Lamps Supply Voltage (w/o TT6) | |||||
D1-D2 | -- | -- | Not Used | ||||
D5-D6 | -- | -- | Not Used | ||||
E1 | D-GN/WH | 711 | Left Headlamp High Beam Supply Voltage | ||||
E2 | YE | 712 | Left Headlamp Low Beam Supply Voltage | ||||
E3 | -- | -- | Not Used | ||||
E4 | RD | 228 | Windshield Washer Pump Control | ||||
E5-E6 | -- | -- | Not Used | ||||
F1 | L-GN/BK | 311 | Right Headlamp High Beam Supply Voltage | ||||
F2 | TN/WH | 312 | Right Headlamp Low Beam Supply Voltage | ||||
F3 | -- | -- | Not Used | ||||
F4 | D-GN | 1329 | Horn Fuse Supply Voltage | ||||
F5 | PU | 1197 | Headlamp Washer Pump Control (CE4) | ||||
F6 | PU | 34 | Fog Lamps Supply Voltage | ||||
PU | 34 | Fog Lamps Supply Voltage | |||||
| |||||||
|---|---|---|---|---|---|---|---|
Connector Part Information |
| ||||||
Pin | Wire Color | Circuit No. | Function | ||||
A | RD | 542 | Battery Positive Voltage | ||||
B | PK | 3 | Ignition 1 Voltage | ||||
| |||||||
|---|---|---|---|---|---|---|---|
Connector Part Information |
| ||||||
Pin | Wire Color | Circuit No. | Function | ||||
A | YE | 712 | Left Headlamp Low Beam Supply Voltage (w/TT6) | ||||
B | TN/WH | 312 | Right Headlamp Low Beam Supply Voltage (w/TT6) | ||||
| |||||||
|---|---|---|---|---|---|---|---|
Connector Part Information |
| ||||||
Pin | Wire Color | Circuit No. | Function | ||||
A | RD | 1042 | Battery Positive Voltage (4.2L w/K18) | ||||
B | RD | 642 | Battery Positive Voltage | ||||
No. | Device | Rating | Description |
|---|---|---|---|
1 | RT DRS Circuit Breaker | 25A | Front Passenger Door Module (FPDM), Window Switch - RR |
2 | LT DRS Circuit Breaker | 25A | Driver Door Module (DDM), Window Switch - LR |
3 | LGM #2 Fuse | 30A | Liftgate Module (LGM) |
4 | TBC 3 Fuse | 10A | Body Control Module (BCM) |
5-6 | -- | -- | Not Used |
7 | TBC 2 Fuse | 10A | Body Control Module (BCM) |
8 | SEATS Circuit Breaker | 30A | Lumbar Adjuster Switch - Passenger, Memory Seat module - Driver, Seat Adjuster Switch - Passenger |
9 | REAR WPR Circuit Breaker | 15A | Rear Window Wiper Motor |
10 | DDM Fuse | 10A | Driver Door Module (DDM) |
11 | AMP Fuse | 20A | Audio Amplifier |
12 | PDM Fuse | 10A | Front Passenger Door Module (FPDM) |
13 | -- | -- | Not Used |
14 | LR PRK Fuse | 10A | License Lamp - Left, License Lamp - Right, Tail Lamp Circuit Board - Left |
15 | -- | -- | Not Used |
16 | VEH CHMSL Fuse | 10A | Center High Mounted Stop Lamp (CHMSL) |
17 | RR PRK Fuse | 10A | Tail Lamp Circuit Board - Right |
18 | LCK Relay | -- | Door Latch Assembly - LR, Door Latch Assembly - RR |
19 | LGM/DSM Fuse | 10A | Liftgate Module (LGM), Memory Seat Module - Driver |
20 | -- | -- | Not Used |
21 | LCKS Fuse | 10A | LCK Relay, UNLCK Relay |
22-23 | -- | -- | Not Used |
24 | UNLCK Relay | -- | Door Latch Assembly - LR, Door Latch Assembly - RR |
25 | IGN 0 Relay | -- | IGN 0 Fuse |
26 | OH BATT/ONSTAR Fuse | 10A | Digital Video Disc (DVD) Player, Garage Door Opener, Vehicle Communication Interface Module (VCIM) |
27 | -- | -- | Not Used |
28 | S/ROOF Fuse | 20A | Sunroof Motor |
29 | ACCY Relay | -- | FRT WPR Fuse, TCM Fuse |
30 | PARK LP PRK LAMP Relay | -- | FRT PRK Fuse, LR PRK Fuse, RR PRK Fuse, TRLR PRK Fuse |
31 | TBC ACC Fuse | 3A | Body Control Module (BCM) |
32 | TBC 5 Fuse | 10A | Body Control Module (BCM) |
33 | FRT WPR Fuse | 25A | Windshield Wiper Motor |
34 | IGN 3 Relay | -- | 4WD Fuse, BRK Fuse, HVAC I Fuse |
35 | VEH STOP Fuse | 15A | Engine Control Module (ECM), Powertrain Control Module (PCM), Transmission Control Module (TCM), Trailer Brake Wiring |
36 | TCM Fuse | 10A | Transmission Control Module (TCM) |
37 | HVAC B Fuse | 10A | HVAC Control Module, HVAC Control Module - Auxiliary |
38 | FRT PRK Fuse | 10A | Marker Lamp - LF, Marker Lamp - RF, Park/Turn Signal lamp - LF, Park/Turn Signal lamp - RF |
39 | RL TRN | 10A | Driver Door Module (DDM), Instrument panel Cluster (IPC), Marker Lamp - LF, Park/Turn Signal lamp - LF, Tail Lamp Circuit Board - Left |
40 | HVAC I Fuse | 10A | Air Temperature Actuator - Left, Air Temperature Actuator - Right, Console Mode Actuator - Auxiliary, Defrost Actuator, Mode Actuator, HVAC Control Module, Recirculation Actuator, Turn Signal/Multifunction Switch |
41 | FR TRN Fuse | 10A | Park/Turn Signal Lamp - RF |
42 | RADIO Fuse | 15A | Digital Radio Receiver, Radio |
43 | TRLR PRK Fuse | 10A | Trailer Connector |
44 | RR TRN | 10A | Front Passenger Door Module (FPDM), Instrument panel Cluster (IPC), Marker Lamp - RF, Park/Turn Signal lamp - RF, Tail Lamp Circuit Board - Right |
45 | -- | -- | Not Used |
46 | AUX PWR 1 Fuse | 20A | Auxiliary Power Outlet - Front, Auxiliary Power Outlet - Front, Auxiliary Power Outlet - Rear |
47 | -- | -- | Not Used |
48 | IGN 0 Fuse | 10A | Automatic Transmission, Automatic Transmission Shift Lock Actuator, Engine Control Module (ECM), Powertrain Control Module (PCM), Theft Deterrent Control Module |
49 | 4WD | 15A | Air Suspension Compressor Assembly |
50 | TBC 1G Fuse | 3A | Body Control Module (BCM) |
51 | FL TRN | 10A | Park/Turn Signal Lamp - LF |
52 | BRK Fuse | 10A | Electronic Brake Control Module (EBCM) |
53 | TBC 4 Fuse | 10A | Body Control Module (BCM) |
| |||||||
|---|---|---|---|---|---|---|---|
Connector Part Information |
| ||||||
Pin | Wire Color | Circuit No. | Function | ||||
A1 | -- | -- | Not Used | ||||
A2 | BN/WH | 230 | Instrument Panel Lamps Dimming Control | ||||
A3-A5 | -- | -- | Not Used | ||||
A6 | YE | 143 | Accessory Voltage | ||||
A7-A8 | -- | -- | Not Used | ||||
A9 | BK | 2250 | Ground | ||||
A10-A12 | -- | -- | Not Used | ||||
B1 | L-BU | 1134 | Park Brake Switch Signal | ||||
B2 | BN/WH | 230 | Instrument Panel Lamps Dimming Control | ||||
B3 | -- | -- | Not Used | ||||
B4 | WH | 17 | Stop Lamp Switch Signal | ||||
B5 | L-BU | 1320 | Stop Lamp Supply Voltage | ||||
L-BU | 1320 | Stop Lamp Supply Voltage | |||||
B6 | YE | 243 | Accessory Voltage (5.3L) | ||||
B7-B8 | -- | -- | Not Used | ||||
B9 | BN | 4 | Accessory Voltage | ||||
B10 | OG | 300 | Ignition 3 Voltage | ||||
B11-B12 | -- | -- | Not Used | ||||
C1 | OG | 4340 | Battery Positive Voltage | ||||
OG | 4340 | Battery Positive Voltage | |||||
C2 | -- | -- | Not Used | ||||
C3 | BN | 2309 | Front Park Lamps Supply Voltage | ||||
C4 | YE | 618 | Left Turn Signal Lamps Supply Voltage | ||||
YE | 618 | Left Turn Signal Lamps Supply Voltage | |||||
C5 | YE | 685 | Left Turn Signal Flasher Signal | ||||
C8 | BN | 341 | Ignition 3 Voltage | ||||
C9 | -- | -- | Not Used | ||||
C10 | D-BU | 2115 | Right Turn Signal Lamps Supply Voltage (w/TT6) | ||||
C11 | D-GN | 5365 | Right DRL/Turn Supply Voltage (w/TT6) | ||||
C12 | -- | -- | Not Used | ||||
D1 | OG | 340 | Battery Positive Voltage | ||||
OG | 340 | Battery Positive Voltage (U2K) | |||||
D2 | -- | -- | Not Used | ||||
D3 | BN | 2109 | Trailer Park Lamps Supply Voltage (UY7) | ||||
D4 | D-GN | 619 | Right Turn Signal Lamps Supply Voltage | ||||
D-GN | 619 | Right Turn Signal Lamps Supply Voltage | |||||
D5 | TN | 686 | Right Turn Signal Flasher Signal | ||||
D8-D11 | -- | -- | Not Used | ||||
D12 | PK | 439 | Ignition 1 Voltage (4.2L) | ||||
PK | 639 | Ignition 1 Voltage (5.3L) | |||||
E1 | OG | 1040 | Battery Positive Voltage | ||||
E2 | BK | 2250 | Ground | ||||
E3-E6 | -- | -- | Not Used | ||||
E7 | PK | 1020 | Ignition 0 Voltage | ||||
E8 | BN | 241 | Ignition 3 Voltage | ||||
E9-E11 | -- | -- | Not Used | ||||
E12 | PK | 639 | Ignition 1 Voltage | ||||
F1-F3 | -- | -- | Not Used | ||||
F4 | WH | 1390 | Ignition 0 Voltage | ||||
F5 | -- | -- | Not Used | ||||
F6 | L-BU | 2114 | Left Turn Signal Lamps Supply Voltage | ||||
F7 | D-BU | 5364 | Left DRL/Turn Supply Voltage | ||||
F8 | BN | 441 | Ignition 3 Voltage | ||||
F9-F12 | -- | -- | Not Used | ||||
| |||||||
|---|---|---|---|---|---|---|---|
Connector Part Information |
| ||||||
Pin | Wire Color | Circuit No. | Function | ||||
A1 | OG | 3640 | Battery Positive Voltage | ||||
A2 | BN/WH | 230 | Instrument Panel Lamps Dimming Control | ||||
BN/WH | 230 | Instrument Panel Lamps Dimming Control | |||||
A3 | OG | 1340 | Battery Positive Voltage | ||||
A4 | -- | -- | Not Used | ||||
A5 | OG | 2740 | Battery Positive Voltage | ||||
A6-A7 | -- | -- | Not Used | ||||
A8 | OG | 1240 | Battery Positive Voltage | ||||
A9 | D-GN | 1188 | Power Window Switch Right Rear Down Signal | ||||
A10-A11 | -- | -- | Not Used | ||||
A12 | L-GN/BK | 748 | Right Rear Door Ajar Switch Signal | ||||
B1 | -- | -- | Not Used | ||||
B2 | L-BU | 1320 | Stop Lamp Supply Voltage | ||||
B3 | OG | 1340 | Battery Positive Voltage | ||||
B4 | D-BU | 2115 | Right Turn Signal Lamps Supply Voltage | ||||
D-BU | 2115 | Right Turn Signal Lamps Supply Voltage | |||||
B5 | OG | 2740 | Battery Positive Voltage | ||||
B6-B7 | -- | -- | Not Used | ||||
B8 | OG | 1240 | Battery Positive Voltage | ||||
B9-B11 | -- | -- | Not Used | ||||
B12 | D-BU | 2307 | Passenger Air Bag On Indicator Control | ||||
C1 | OG | 3540 | Battery Positive Voltage | ||||
C2 | L-BU | 1320 | Stop Lamp Supply Voltage | ||||
C3 | L-BU | 2114 | Left Turn Signal Lamps Supply Voltage | ||||
L-BU | 2114 | Left Turn Signal Lamps Supply Voltage | |||||
C4 | -- | -- | Not Used | ||||
C5 | OG | 4440 | Battery Positive Voltage (CD6) | ||||
C8 | D-GN | 2308 | Passenger Air Bag Off Indicator Control | ||||
C9 | -- | -- | Not Used | ||||
C10 | OG | 4140 | Battery Positive Voltage | ||||
C11 | -- | -- | Not Used | ||||
C12 | L-BU | 2265 | Power Window Lockout Left Rear Signal | ||||
D1 | OG | 3540 | Battery Positive Voltage | ||||
D2 | BN | 2509 | Left Rear Park Lamps Supply Voltage | ||||
D3-D4 | -- | -- | Not Used | ||||
D5 | OG | 3740 | Battery Positive Voltage (UQA) | ||||
D8 | TN | 294 | Door Lock Actuator Unlock Control | ||||
TN | 294 | Door Lock Actuator Unlock Control | |||||
D9 | -- | -- | Not Used | ||||
D10 | OG | 4240 | Battery Positive Voltage | ||||
D11 | -- | -- | Not Used | ||||
D12 | L-GN | 2266 | Power Window Lockout Right Rear Signal | ||||
E1 | -- | -- | Not Used | ||||
E2 | BN | 2509 | Left Rear Park Lamps Supply Voltage | ||||
E3 | -- | -- | Not Used | ||||
E4 | OG | 3140 | Battery Positive Voltage | ||||
OG | 3140 | Battery Positive Voltage | |||||
E5 | L-GN | 24 | Backup Lamp Supply Voltage | ||||
L-GN | 24 | Backup Lamp Supply Voltage | |||||
E6-E8 | -- | -- | Not Used | ||||
E9 | YE | 1187 | Power Window Switch Left Rear Down Signal | ||||
E10-E11 | -- | -- | Not Used | ||||
E12 | GY/BK | 1186 | Power Window Switch Right Rear Up Signal | ||||
F1 | YE | 820 | CHMSL Supply Voltage | ||||
F2 | BN/WH | 2609 | Right Rear Park Lamps Supply Voltage | ||||
F3-F5 | -- | -- | Not Used | ||||
F6 | GY | 295 | Door Lock Actuator Lock Control | ||||
GY | 295 | Door Lock Actuator Lock Control | |||||
F7 | -- | -- | Not Used | ||||
F8 | BK | 1350 | Ground | ||||
F9 | -- | -- | Not Used | ||||
F10 | L-BU/BK | 747 | Left Rear Door Ajar Switch Signal | ||||
F11 | -- | -- | Not Used | ||||
F12 | WH | 1185 | Power Window Switch Left Rear Up Signal | ||||
| |||||||
|---|---|---|---|---|---|---|---|
Connector Part Information |
| ||||||
Pin | Wire Color | Circuit No. | Function | ||||
A1 | -- | -- | Not Used | ||||
A2 | BK | 1350 | Ground | ||||
A3-A4 | -- | -- | Not Used | ||||
A5 | D-BU | 2307 | Passenger Air Bag On Indicator Control | ||||
A6 | -- | -- | Not Used | ||||
B1-B3 | -- | -- | Not Used | ||||
B4 | D-BU | 1353 | RAP Supply Voltage (CF5) | ||||
B5 | -- | -- | Not Used | ||||
B6 | GY/BK | 690 | Courtesy Lamp Low Control | ||||
C1 | D-GN | 2308 | Passenger Air Bag On Indicator Control | ||||
C2-C6 | -- | -- | Not Used | ||||
D1-D6 | -- | -- | Not Used | ||||
E1 | OG | 3140 | Battery Positive Voltage | ||||
E2 | PK | 639 | Ignition 1 Voltage (DD4) | ||||
E3 | BN/WH | 230 | Instrument Panel Lamps Dimming Control | ||||
E4 | OG | 1740 | Battery Positive Voltage (CF5) | ||||
E5-E6 | -- | -- | Not Used | ||||
F1-F5 | -- | -- | Not Used | ||||
F6 | OG | 1732 | Courtesy Lamps Supply Voltage | ||||
| |||||||
|---|---|---|---|---|---|---|---|
Connector Part Information |
| ||||||
Pin | Wire Color | Circuit No. | Function | ||||
A1 | -- | 2140 | Battery Positive Voltage | ||||
A2 | -- | 2140 | Battery Positive Voltage | ||||
A3 | -- | 748 | Right Rear Door Ajar Switch Signal | ||||
A4 | -- | 1134 | Park Brake Switch Signal | ||||
A5 | -- | 195 | Door Lock Relay Control | ||||
A6 | -- | 2265 | Power Window Lockout Left Rear Control | ||||
A7 | -- | -- | Not Used | ||||
A8 | -- | 747 | Left Rear Door Ajar Switch Signal | ||||
A9-A10 | -- | -- | Not Used | ||||
A11 | -- | 1350 | Ground | ||||
A12 | -- | 1353 | RAP Supply Voltage | ||||
A13 | -- | 194 | Door Unlock Relay Control | ||||
A14 | -- | 1080 | Park Lamp Relay Control | ||||
A15-A17 | -- | -- | Not Used | ||||
A18 | -- | 1390 | Ignition 0 Voltage | ||||
A19 | -- | 439 | Ignition 1 Voltage (4.2L) | ||||
-- | 639 | Ignition 1 Voltage (5.3L) | |||||
A20 | -- | 300 | Ignition 3 Voltage | ||||
B1 | -- | 230 | Instrument Panel Lamps Dimming Control | ||||
B2 | -- | 230 | Instrument Panel Lamps Dimming Control | ||||
B3 | -- | 690 | Courtesy Lamp Supply Voltage | ||||
B4 | -- | 2240 | Battery Positive Voltage | ||||
B5 | -- | 1186 | Power Window Switch Right Rear Up Signal | ||||
B6 | -- | 2266 | Power Window Lockout Right Rear Signal | ||||
B7 | -- | 1188 | Power Window Switch Right Rear Down Signal | ||||
B8 | -- | 1185 | Power Window Switch Left Rear Up Signal | ||||
B9 | -- | 1187 | Power Window Switch Left Rear Down Signal | ||||
B10 | -- | -- | Not Used | ||||
B11 | -- | 1350 | Ground | ||||
B12 | -- | 24 | Backup Lamp Supply Voltage | ||||
B13 | -- | 4440 | Battery Positive Voltage | ||||
B14 | -- | -- | Not Used | ||||
B15 | -- | 4 | Accessory Voltage | ||||
B16 | -- | -- | Not Used | ||||
B17 | -- | 4040 | Battery Positive Voltage | ||||
B18 | -- | 1732 | Inadvertent Power Courtesy Lamps Supply Voltage | ||||
B19-B20 | -- | -- | Not Used | ||||