GM Service Manual Online
For 1990-2009 cars only

Removal Procedure

  1. Remove the seat from the vehicle.
  2. Remove the trim panel from the seat cushion.

  3. Object Number: 828233  Size: SH
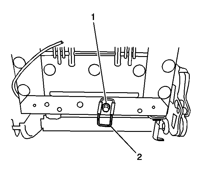
  4. Remove the bolt (1) securing the child tether anchor (2) to the seat cushion frame.
  5. Remove the child tether anchor.

Installation Procedure

Notice: Refer to Fastener Notice in the Preface section.


    Object Number: 828233  Size: SH
  1. Install the child tether anchor (2) to the seat cushion frame with the bolt (1).
  2. Tighten
    Tighten the child restraint tether anchor bolt to 35 N·m (26 lb ft).

  3. Install the trim panel to the seat cushion.
  4. Install the seat in the vehicle.