GM Service Manual Online
For 1990-2009 cars only

DTC P0562 5.3L


Object Number: 1508287  Size: LF
Master Electrical Component List
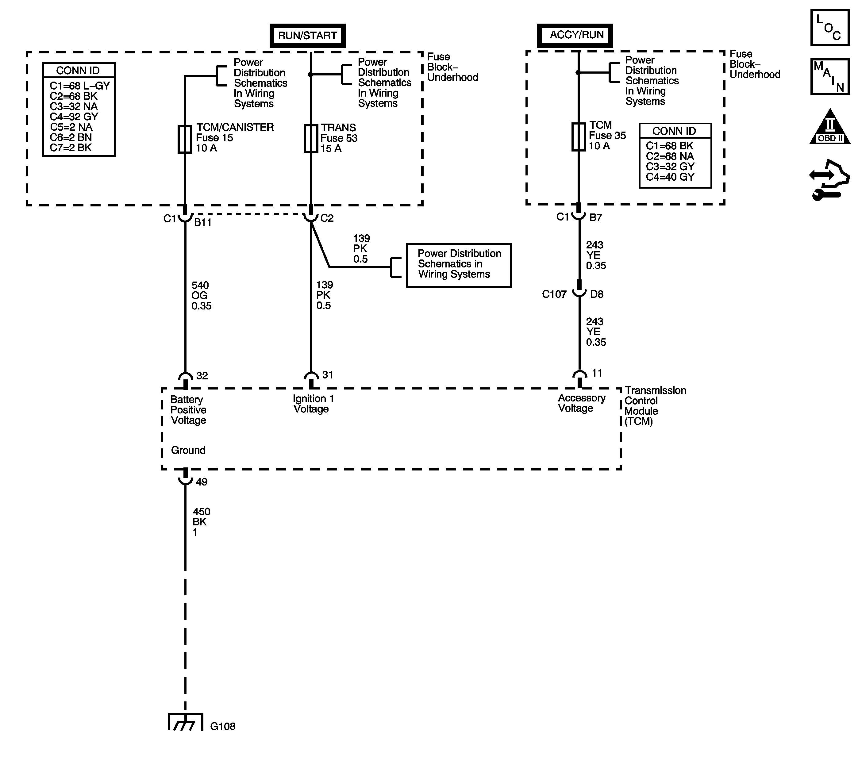
Automatic Transmission Controls Schematics (5.3L)
OBD II Symbol Description Notice
Control Module References

Circuit Description

The transmission control module (TCM) continuously monitors the system voltage on the Ignition 1 and the battery voltage circuits. Lower than normal voltage may be inadequate to operate the transmission control solenoids properly. Improper solenoid operation may cause erratic transmission operation and tie-up conditions, which may result in internal damage.

When the TCM detects low voltage, DTC P0562 sets. DTC P0562 is a type C DTC.

DTC Descriptor

This diagnostic procedure supports the following DTC:

DTC P0562 System Voltage Low

Conditions for Running The DTC

The engine speed is 1,200 RPM or greater.

Conditions for Setting The DTC

The TCM detects system voltage 11 volts or less for 10 seconds.

Action Taken When the DTC Sets

    • The TCM does not request the engine control module (ECM) to illuminate the malfunction indicator lamp (MIL).
    • The TCM records the operating conditions when the Conditions for Setting the DTC are met. The TCM records this information as a Failure Record.
    • The TCM stores DTC P0562 in TCM history.

Conditions for Clearing the DTC

    • The TCM clears the DTC from TCM history if the vehicle completes 40 warm-up cycles without a non-emission related diagnostic fault occurring.
    • A scan tool can clear the DTC.

Diagnostic Aids

    • Observe the driver information center (DIC) messaging that would indicate the electrical system requires service.
    • Inspect for the following conditions:
       - Loose or damaged terminals at the generator
       - Loose or worn generator drive belt

Test Description

The numbers below refer to the step numbers on the diagnostic table.

  1. This step tests the charging system voltage with a nominal load.

  2. This step obtains the ignition voltage measurement reported by the TCM.

  3. This step tests the voltage drop from the battery and ignition voltage input at the TCM.

  4. This step tests the voltage drop from the ground terminals of the TCM to the ground terminal of the battery.

DTC P0562

Step

Action

Values

Yes

No

1

Did you perform the Diagnostic System Check - Vehicle?

--

Go to Step 2

Go to Diagnostic System Check - Vehicle

2

  1. Install a scan tool.
  2. Turn ON the ignition, with the engine OFF.
  3. Important: 

       • Before clearing the DTC, use the scan tool in order to record the ECM and the TCM Failure Records. Using the Clear Info function erases the Failure Records from the engine control module (ECM) and transmission control module (TCM).
       • Using the Clear Info function erases stored DTCs in both the ECM and TCM.

  4. Record the Failure Records.
  5. Clear the DTC.
  6. Using the DMM, measure and record the battery voltage across the battery terminals.

Is the voltage higher than the specified value?

11 V

Go to Step 3

Go to Battery Inspection/Test

3

  1. Start the engine.
  2. Allow the engine to warm up to normal operating temperature.

Is the charge indicator light ON?

--

Go to Charging System Test

Go to Step 4

4

  1. Turn ON the high beam headlamps.
  2. Turn the HVAC blower control to the highest speed setting.
  3. Turn ON the rear window defroster.
  4. Increase the engine speed to 1,500 RPM.
  5. Observe the DMM battery voltage and record your voltage reading for reference.

Is the voltage within the specified range?

12.5-14.5 V

Go to Step 5

Go to Charging System Test

5

  1. Increase the engine speed to 1,500 RPM.
  2. Observe the Ignition Voltage with the scan tool.

Is the scan tool Ignition Voltage within the specified range?

12.5-14.5 V

Go to Testing for Intermittent Conditions and Poor Connections

Go to Step 6

6

  1. Turn OFF the ignition.
  2. Disconnect the TCM connector.
  3. Probe the ignition voltage circuit and the battery positive voltage circuit of the TCM connector with the ground probe of the DMM. Refer to Measuring Voltage .
  4. Connect the positive lead of the DMM to the battery positive terminal.
  5. Turn ON the ignition, with the engine OFF.

Are the voltage drop measurements less than the specified value?

0.5 V

Go to Step 10

Go to Step 7

7

Inspect the ignition voltage circuit fuse and the battery positive voltage circuit fuse for an open. Refer to Circuit Protection - Fuses .

Did you find an open fuse?

--

Go to Step 8

Go to Step 9

8

Repair the short to ground in the battery positive voltage circuit or the ignition voltage circuit. Refer to Wiring Repairs .

Is the repair complete?

--

Go to Step 13

--

9

Test the battery positive voltage circuit and the ignition voltage circuit for an open or high resistance condition.

Refer to Testing for Continuity and Wiring Repairs .

Did you find and correct a condition?

--

Go to Step 13

Go to Step 10

10

  1. Turn ON the ignition, with the engine OFF.
  2. Connect the negative lead of the DMM to the battery ground terminal. Observe and record the voltage measurement.
  3. Using the positive probe of the DMM, probe each of the TCM ground circuits of the TCM connector. Observe and record the voltage measurement. Refer to Measuring Voltage Drop .

Are both of the voltage drop measurements less than the specified value?

0.2 V

Go to Step 12

Go to Step 11

11

Repair the open or high resistance condition in the TCM ground circuits. Refer to Wiring Repairs .

Is the repair complete?

--

Go to Step 13

--

12

Replace the TCM.

Refer to Control Module References for replacement, setup, and programming.

Is the action complete?

--

Go to Step 13

--

13

Perform the following procedure in order to verify the repair:

  1. Select DTC.
  2. Select Clear Info.
  3. Operate the vehicle under the following conditions:
  4. 3.1. Start the engine.
    3.2. Allow the engine to warm up to normal operating temperature.
    3.3. Raise the engine speed to at least 1,200 RPM.
    3.4. TCM voltage must be greater than 11 volts for 12 seconds or more.
  5. Select Specific DTC.
  6. Enter DTC P0562.

Has the test run and passed?

--

Go to Step 14

Go to Step 2

14

With the scan tool, observe the stored information, capture info and DTC info.

Does the scan tool display any DTCs that you have not diagnosed?

--

Go to Diagnostic Trouble Code (DTC) List - Vehicle

System OK