GM Service Manual Online
For 1990-2009 cars only
Makes
🢒
Saab
🢒
2006
🢒
9-7x
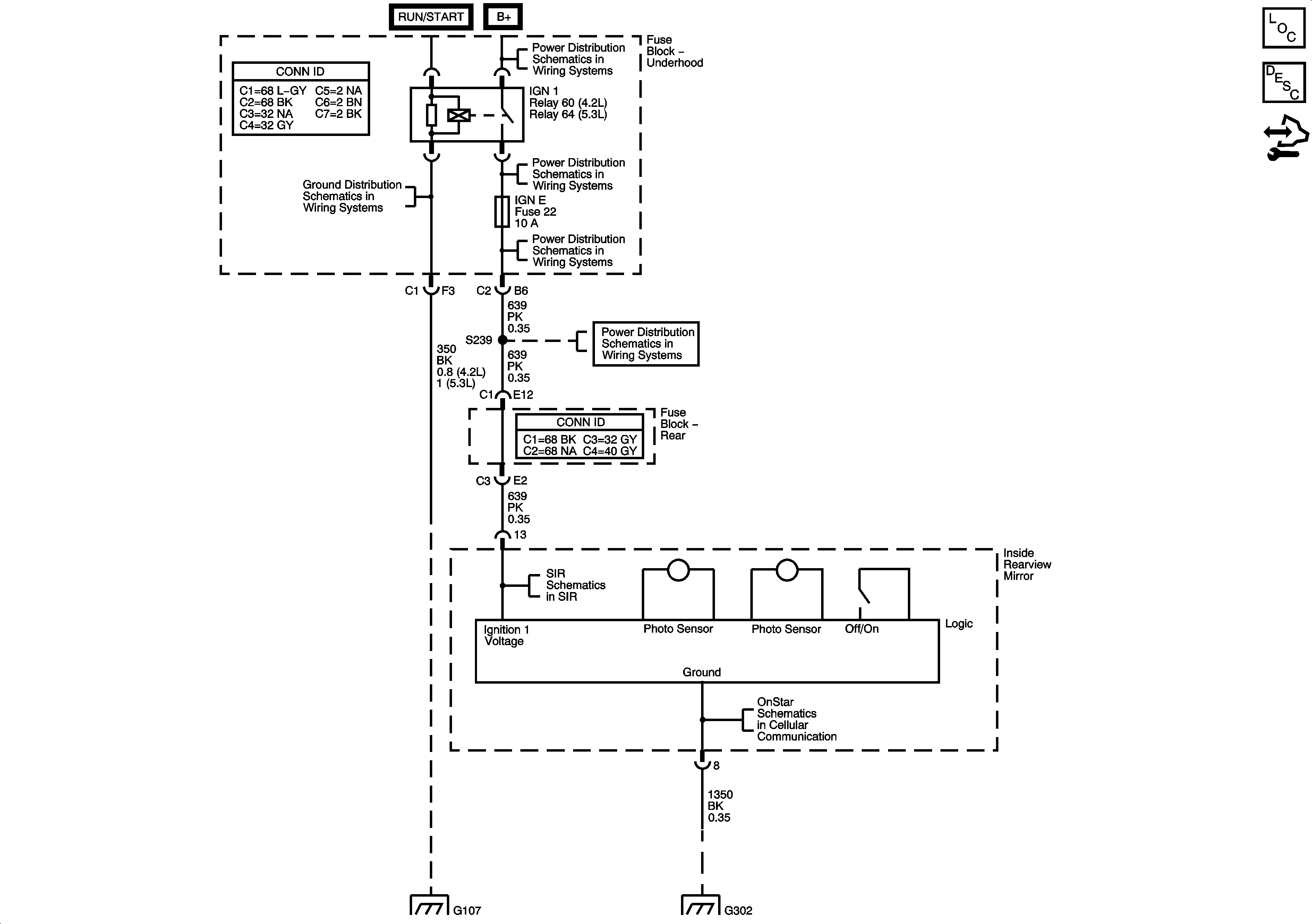
🢒 Inside Rearview Mirror
Inside Rearview Mirror
Master Electrical Component List
Inside Rearview Mirror Description and Operation
Control Module References
G104, G105 and G107
B+ Bus - Underhood Fuse Block - 2 of 2
BACK UP, BTSI, IGN E, and TRLR B/U Fuses
BACK UP, BTSI, IGN E, and TRLR B/U Fuses
BACK UP, BTSI, IGN E, and TRLR B/U Fuses
G104, G105 and G107
G302 - 2 of 2 and G306
OnStar