GM Service Manual Online
For 1990-2009 cars only
Makes
🢒
Saab
🢒
2006
🢒
9-7x
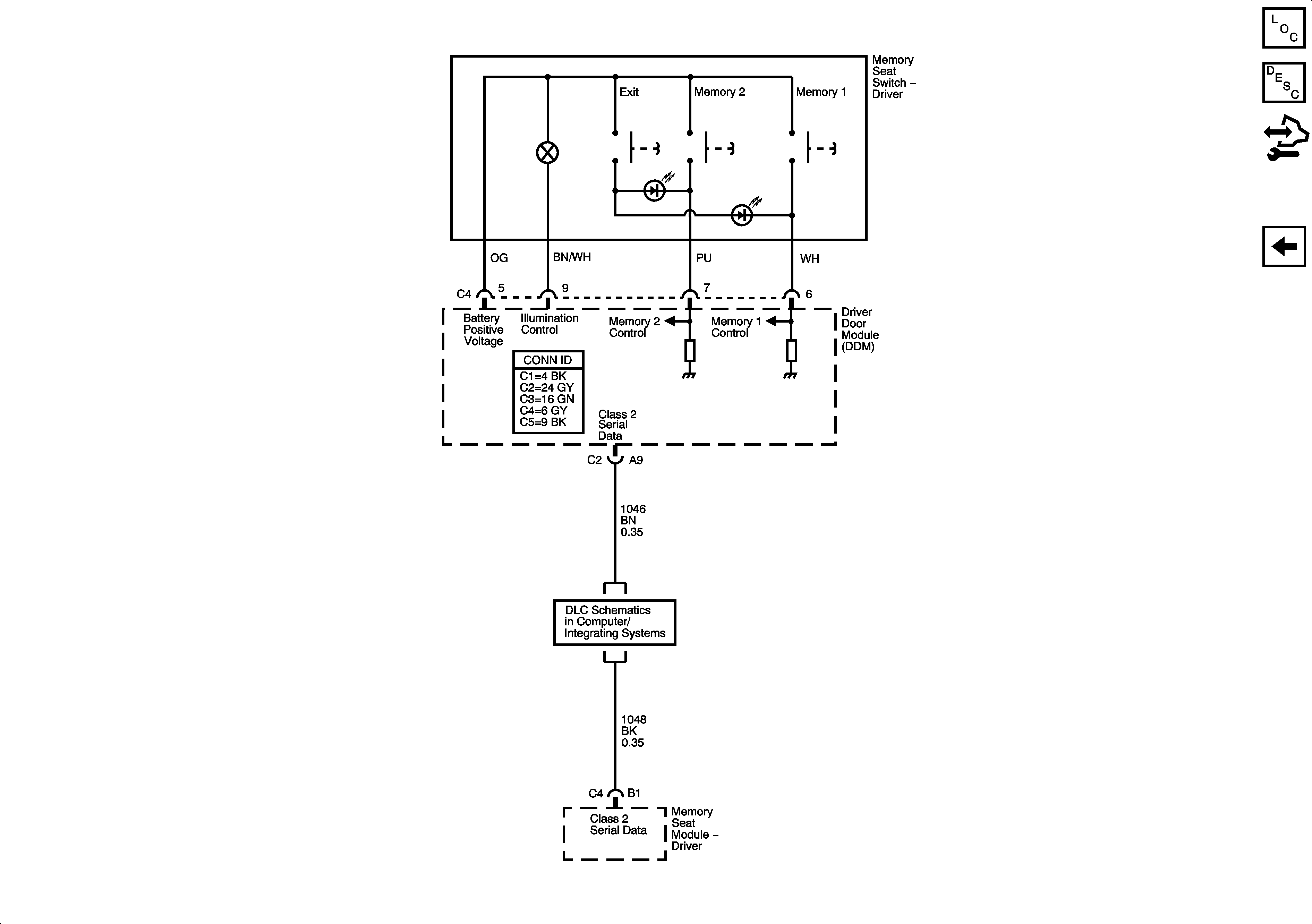
🢒 Memory Controls
Memory Controls
Memory Controls
Master Electrical Component List
Memory Seats Description and Operation
Control Module References
Heat Controls
SP306