GM Service Manual Online
For 1990-2009 cars only

Removal Procedure

  1. Relieve the fuel system pressure. Refer to the Fuel Pressure Relief .
  2. Raise the vehicle. Refer to Lifting and Jacking the Vehicle .
  3. Remove the frame brace. Refer to Frame Brace Replacement .
  4. Remove the fuel tank shield, if equipped. Refer to Fuel Tank Shield Replacement .
  5. Drain the fuel tank. Refer to Fuel Tank Draining .

  6. Object Number: 1480088  Size: SH
  7. Disconnect the evaporative emission (EVAP) canister fresh air pipe. Refer to Plastic Collar Quick Connect Fitting Service .
  8. Disconnect the EVAP canister solenoid pipe. Refer to Plastic Collar Quick Connect Fitting Service .
  9. Disconnect the EVAP purge pipe. Refer to Plastic Collar Quick Connect Fitting Service .

  10. Object Number: 1480087  Size: SH
  11. Disconnect the fuel filler pipe recirculation hose from the fuel tank. Refer to Plastic Collar Quick Connect Fitting Service .
  12. Loosen the clamp securing the fuel fill pipe to the fuel tank.
  13. Disconnect the fuel fill pipe from the fuel tank.

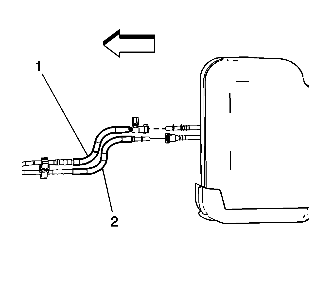
  14. Object Number: 1368522  Size: SH
  15. Disconnect the fuel feed pipe (2) and EVAP pipe (1) from the fuel tank. Refer to Plastic Collar Quick Connect Fitting Service .
  16. Cap the fuel and EVAP pipes in order to prevent possible fuel system contamination.
  17. Support the fuel tank.
  18. Notice: Refer to Damage to Fuel Tank Straps Notice in the Preface section.


    Object Number: 1480086  Size: SH
  19. Remove the fuel tank strap attaching bolts.
  20. Remove the fuel tank straps.
  21. Carefully lower the fuel tank.

  22. Object Number: 1480091  Size: SH
  23. Disconnect the EVAP vent valve electrical connector (8).
  24. Disconnect the fuel tank pressure sensor electrical connector (2).
  25. Disconnect the fuel sender electrical connector (1).
  26. Remove the fuel tank.
  27. Place the fuel tank in a suitable work area.
  28. If the fuel tank is not being replaced, go to the Installation Procedure.

Disassembly Procedure


    Object Number: 1480090  Size: SH
  1. Cut and remove the tie (2) securing the fuel feed pipe and EVAP canister purge pipe together.
  2. Remove the fuel feed pipe (1) from the fuel sender module (4) and retaining clip (3). Refer to Plastic Collar Quick Connect Fitting Service .

  3. Object Number: 1480093  Size: SH
  4. Cut and remove the tie (1) securing the EVAP pipes together.
  5. Disconnect the EVAP pipe assembly (3) from the tank vent valves and fuel sender. Refer to Plastic Collar Quick Connect Fitting Service .
  6. Remove the EVAP pipe assembly (3) from the tank.
  7. Remove the EVAP canister purge pipe (2) from the fuel tank.

  8. Object Number: 1480091  Size: SH
  9. Remove the EVAP vent valve (8). Refer to Evaporative Emission Canister Vent Solenoid Valve Replacement .
  10. Remove the fuel sender assembly (4) from the fuel tank. Refer to Fuel Sender Assembly Replacement .

Assembly Procedure


    Object Number: 1480091  Size: SH
  1. Install the fuel sender assembly (4) to the fuel tank. Refer to Fuel Sender Assembly Replacement .
  2. Install the EVAP vent valve (8). Refer to Evaporative Emission Canister Vent Solenoid Valve Replacement .

  3. Object Number: 1480093  Size: SH
  4. Install the EVAP canister purge pipe (2) to the fuel tank.
  5. Install the EVAP pipe assembly (3) to the fuel tank.
  6. Connect the EVAP pipe assembly (3) to the tank vent valves and fuel sender. Refer to Plastic Collar Quick Connect Fitting Service .
  7. Install a new tie (1) to secure the EVAP pipes together.

  8. Object Number: 1480090  Size: SH
  9. Install the fuel feed pipe (1) to the fuel sender module (4) and retaining clip (3). Refer to Plastic Collar Quick Connect Fitting Service .
  10. Install a new tie (2) securing the fuel feed pipe and EVAP canister purge pipe together.

Installation Procedure

  1. Support the fuel tank.

  2. Object Number: 1480091  Size: SH
  3. Connect the fuel sender electrical connector (1).
  4. Connect the EVAP vent valve electrical connector (2).
  5. Connect the fuel pressure sensor electrical connector (8).

  6. Object Number: 1480086  Size: SH
  7. Install the fuel tank straps.
  8. Notice: Refer to Fastener Notice in the Preface section.

  9. Install the fuel tank strap attaching bolts.
  10. Tighten
    Tighten the bolts to 32 N·m (24 lb ft).


    Object Number: 1368522  Size: SH
  11. Remove the caps from the fuel and EVAP pipes.
  12. Connect the fuel feed pipe (1) and the EVAP pipe (2). Refer to Plastic Collar Quick Connect Fitting Service .

  13. Object Number: 1480087  Size: SH
  14. Connect the fuel fill pipe to the fuel tank.
  15. Tighten
    Tighten the fuel fill hose clamp to 2.5 N·m (22 lb in).

  16. Connect the fuel filler pipe recirculation hose to the fuel tank. Refer to Plastic Collar Quick Connect Fitting Service .

  17. Object Number: 1480088  Size: SH
  18. Connect the EVAP purge pipe. Refer to Plastic Collar Quick Connect Fitting Service .
  19. Connect the EVAP canister solenoid pipe. Refer to Plastic Collar Quick Connect Fitting Service .
  20. Connect the EVAP canister fresh air pipe. Refer to Plastic Collar Quick Connect Fitting Service .
  21. Lower the vehicle.
  22. Refill the fuel tank.
  23. Install the fuel filler cap.
  24. Connect the negative battery cable. Refer to Battery Negative Cable Disconnection and Connection .
  25. Raise the vehicle. Refer to Lifting and Jacking the Vehicle .
  26. Inspect for leaks.
  27. 19.1. Turn ON the ignition, with the engine OFF for 10 seconds.
    19.2. Turn OFF the ignition for 10 seconds.
    19.3. Turn ON the ignition, with the engine OFF.
    19.4. Inspect for fuel leaks.
  28. Install the fuel tank shield, if equipped. Refer to Fuel Tank Shield Replacement .
  29. Install the frame brace. Refer to Frame Brace Replacement .
  30. Lower the vehicle.