GM Service Manual Online
For 1990-2009 cars only
Makes
🢒
Saab
🢒
2007
🢒
9-7x
🢒
Diagnostic Navigation
🢒
Vehicle Diagnostic Information
🢒 Disassembled Views
Disassembled Views 5.3L
Figure
1:
Intake Manifold/Upper Engine
(100)
Engine Block
(307)
Engine Coolant Air Bleed Pipe
(308)
Seal
(308)
Seal
(309)
Bolt
(312)
Bolt
(313)
Engine Coolant Air Bleed Cover
(451)
Valve Lifter Oil Manifold
(452)
Valve Lifter Oil Filter
(454)
O-Ring
(500)
Intake Manifold
(506)
Bolt
(507)
Nut
(508)
Throttle Body
(509)
Throttle Body Gasket
(510)
Fuel Rail with Injectors
(511)
Bolt
(512)
Bolt
(513)
Seal
(514)
Intake Manifold Gasket
(538)
Bolt
(556)
Valve Lifter Oil Manifold Gasket
(706)
Oil Pressure Sensor
(707)
Washer
(712)
Fuel Rail Stop Bracket
(713)
Bolt
(714)
Manifold Absolute Pressure (MAP) Sensor
(715)
O-Ring
(729)
Evaporative Emission (EVAP) Canister Purge Tube
(730)
EVAP Canister Purge Solenoid Valve
(731)
Cap
(733)
Label
(734)
Service Valve
(735)
EVAP Canister Purge Tube
(736)
MAP Sensor Retainer
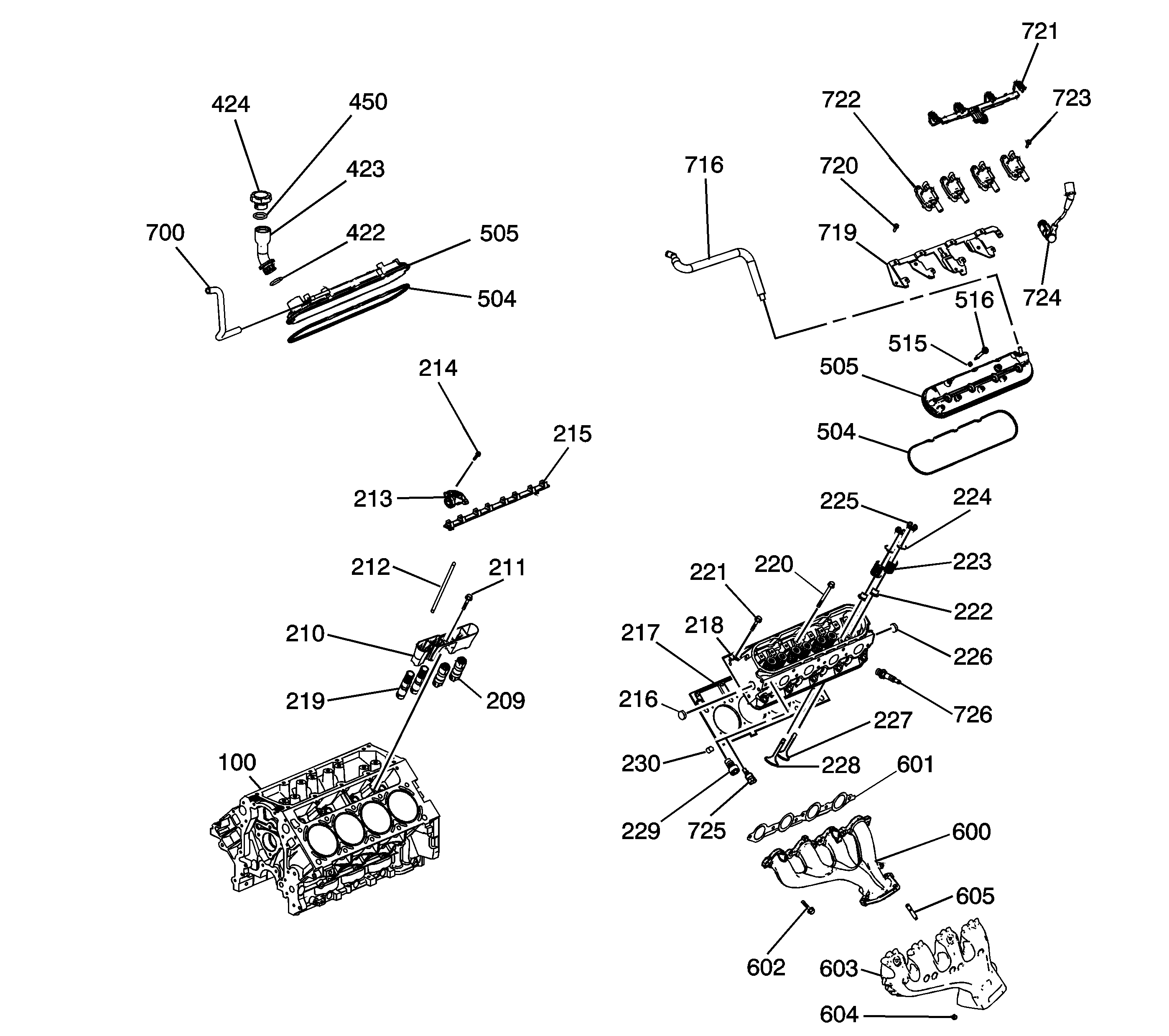
Figure
2:
Cylinder Head/Upper Engine
(100)
Engine Block
(209)
Valve Lifter - Non Active Fuel Management
(210)
Valve Lifter Guide
(211)
Bolt
(212)
Pushrod
(213)
Valve Rocker Arm
(214)
Bolt
(215)
Valve Rocker Arm Pivot Support
(216)
Core Hole Plug
(217)
Cylinder Head Gasket
(218)
Cylinder Head
(219)
Valve Lifter - Active Fuel Management
(220)
Bolt - M11
(221)
Bolt - M8
(222)
Valve Stem Oil Seal
(223)
Valve Spring
(224)
Valve Spring Cap
(225)
Valve Stem Key
(226)
Core Hole Plug
(227)
Intake Valve
(228)
Exhaust Valve
(229)
Cylinder Head Plug
(230)
Cylinder Head Locating Pin
(422)
Oil Fill Tube O-Ring
(423)
Oil Fill Tube
(424)
Oil Fill Cap
(450)
Oil Fill Cap O-Ring
(504)
Valve Cover Gasket
(504)
Valve Cover Gasket
(505)
Valve Cover
(505)
Valve Cover
(515)
Valve Cover Bolt Grommet
(516)
Bolt
(600)
Exhaust Manifold
(601)
Exhaust Manifold Gasket
(602)
Bolt
(603)
Exhaust Manifold Heat Shield
(604)
Bolt
(605)
Stud
(700)
Positive Crankcase Ventilation (PCV) Hose - Fresh Air
(716)
PCV Hose - Dirty Air
(719)
Ignition Coil Bracket
(720)
Stud
(721)
Ignition Coil Wire Harness
(722)
Ignition Coil
(723)
Bolt
(724)
Spark Plug Wire
(725)
Coolant Temperature Sensor
(726)
Spark Plug
Figure
3:
Front of Engine
(1)
Water Inlet Housing
(2)
Bolt
(3)
O-Ring
(4)
Thermostat
(5)
Bolt
(6)
Water Pump
(7)
Water Pump Gasket
(8)
Oil Level Indicator
(9)
O-Ring
(10)
Bolt
(11)
Oil Level Indicator Tube
(12)
O-Ring
(13)
Engine Block
(14)
Camshaft Bearings
(15)
Camshaft
(16)
Camshaft Sprocket Locating Pin
(17)
Camshaft Retainer Plate
(18)
Bolt
(19)
Camshaft Sprocket
(20)
Bolt
(21)
Crankshaft Sprocket
(22)
Timing Chain
(23)
Timing Chain Tensioner
(24)
Bolt
(25)
Engine Front Cover Gasket
(26)
Engine Front Cover
(27)
Bolt
(28)
Crankshaft Front Oil Seal
(29)
Crankshaft Balancer
(30)
Bolt
(31)
Bolt
(32)
Camshaft Position (CMP) Sensor
(33)
O-Ring
(34)
Bolt
(35)
CMP Sensor Wire Harness
(36)
Oil Pump Housing Cover
(37)
Bolt
(38)
Bolt
(39)
Oil Pump Drive Gear
(40)
Oil Pump Driven Gear
(41)
Oil Pump
(42)
O-Ring
(43)
Bolt
(44)
Nut
(45)
Oil Pump Screen
(46)
Oil Pump Housing Plug
(47)
Oil Pump Pressure Relief Valve Spring
(48)
Oil Pump Pressure Relief Valve
Figure
4:
Rear of Engine
(100)
Engine Block
(132)
Flex Plate - Automatic Transmission
(133)
Bolt
(141)
Crankshaft Rear Oil Seal
(517)
Bolt
(518)
Crankshaft Rear Oil Seal Housing
(519)
Crankshaft Rear Oil Seal Housing Gasket
Figure
5:
Lower Engine Assembly
(1)
Engine Block
(2)
Connecting Rod Bearings
(3)
Bolt
(4)
Connecting Rod Cap
(5)
Piston Pin
(6)
Connecting Rod
(7)
Retainer
(8)
Piston
(9)
Piston Rings
(10)
O-Ring
(11)
Bolt
(12)
Nut
(13)
Oil Pump Screen
(14)
Oil Pan Gasket
(15)
Bolt
(16)
Oil Pressure Relief Valve
(17)
Oil Filter Tube Gasket
(18)
Oil Filter Tube
(19)
Oil Filter Tube Gasket
(20)
Oil Pan Baffle
(21)
Bolt
(22)
Bolt
(23)
Cover - Right
(24)
Oil Pan
(25)
Bolt
(26)
Plug
(27)
Cover - Left
(28)
Bolt
(29)
Bolt
(30)
Bolt
(31)
Oil Pan Drain Plug
(32)
O-Ring
(33)
Oil Filter
(34)
Oil Filter Fitting
(35)
Nut
(36)
Crankshaft Oil Deflector
(37)
Bolt - M10
(38)
Stud - M10
(39)
Bolt - M8
(40)
Crankshaft Bearing Cap
(41)
Crankshaft Main Bearing
(41)
Crankshaft Main Bearing
(42)
Crankshaft Thrust Bearing
(42)
Crankshaft Thrust Bearing
(43)
Crankshaft
(44)
Crankshaft Sprocket Key
Figure
6:
Engine Block Plugs/Sensors
(100)
Engine Block
(100)
Engine Block
(101)
Oil Gallery Plug - Front
(102)
Cup Plug
(110)
O-Ring
(111)
Oil Gallery Plug - Rear
(112)
Oil Gallery Plug - Side
(113)
Washer
(114)
Engine Coolant Heater
(115)
Washer
(116)
Oil Gallery Plug - Side
(117)
Washer
(130)
Transmission Housing Locating Pin
(145)
Washer
(146)
Engine Block Coolant Drain Hole Plug
(701)
Crankshaft Position (CKP) Sensor
(702)
O-Ring
(718)
Knock Sensor
(718)
Knock Sensor
(739)
Bolt
(739)
Bolt
(750)
CKP Sensor Bolt
Figure
7:
Oil Pump Assembly
(408)
Bolt
(409)
Oil Pump Housing Cover
(410)
Oil Pump Drive Gear
(412)
Oil Pump Driven Gear
(413)
Oil Pump
(414)
Oil Pump Pressure Relief Valve
(415)
Oil Pump Pressure Relief Valve Spring
(416)
Oil Pump Housing Plug