GM Service Manual Online
For 1990-2009 cars only

Removal Procedure

  1. Lower the headliner. Refer to Headlining Trim Panel Replacement.
  2. Remove the tie strap that retains the white connector to the drive cable tube sunroof motor wiring harness.

  3. Object Number: 752284  Size: SH
  4. Disconnect the sunroof motor/actuator wiring harness electrical connector.
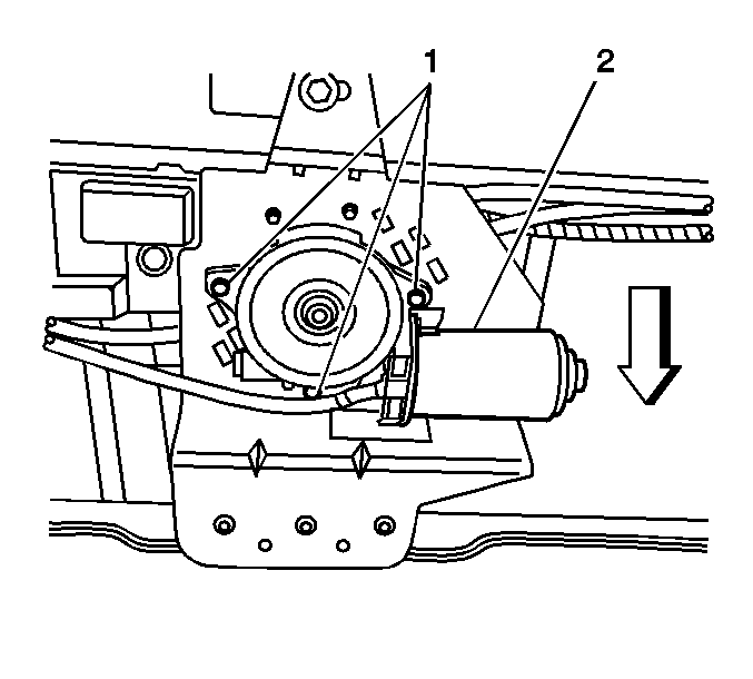
  5. Remove the screws (1) which retain the sunroof motor/actuator (2) to the sunroof module assembly.
  6. Remove the sunroof motor/actuator (2) from the sunroof module assembly.

Installation Procedure


    Object Number: 752284  Size: SH
  1. Align the splines on the sunroof motor/actuator shaft with the drive gear on the sunroof module assembly.
  2. Install the sunroof motor/actuator (2) to the mounting bracket, ensuring that the sunroof motor/actuator is fully seated.
  3. Notice: Use the correct fastener in the correct location. Replacement fasteners must be the correct part number for that application. Fasteners requiring replacement or fasteners requiring the use of thread locking compound or sealant are identified in the service procedure. Do not use paints, lubricants, or corrosion inhibitors on fasteners or fastener joint surfaces unless specified. These coatings affect fastener torque and joint clamping force and may damage the fastener. Use the correct tightening sequence and specifications when installing fasteners in order to avoid damage to parts and systems.

  4. Install the screws (1) that retain the sunroof motor/actuator (2) to the mounting bracket.
  5. Tighten
    Tighten the sunroof motor/actuator screws to 3 N·m (27 lb in).

  6. Connect the sunroof motor/actuator wiring harness electrical connector.
  7. Install the tie strap retaining the sunroof motor/actuator wiring harness.
  8. Install the headliner. Refer to Headlining Trim Panel Replacement.
  9. Press and hold the open switch until the glass panel stalls at the hard stop. The glass panel then moves forward several millimeters. This position is called the soft stop or full open position.
  10. Release the switch.
  11. Press and hold the open switch within six seconds of step 8, continue holding until the glass panel moves to the closed position and stops.
  12. Release the switch.