GM Service Manual Online
For 1990-2009 cars only

Removal Procedure

  1. Remove the windshield wiper arms. Refer to Windshield Wiper Arm Replacement .

  2. Object Number: 742164  Size: SH
  3. Remove the air inlet grille panel retaining nuts.
  4. Remove the air inlet grill panel retainers.
  5. Remove the fixed antenna mast. Refer to Fixed Antenna Mast Replacement .

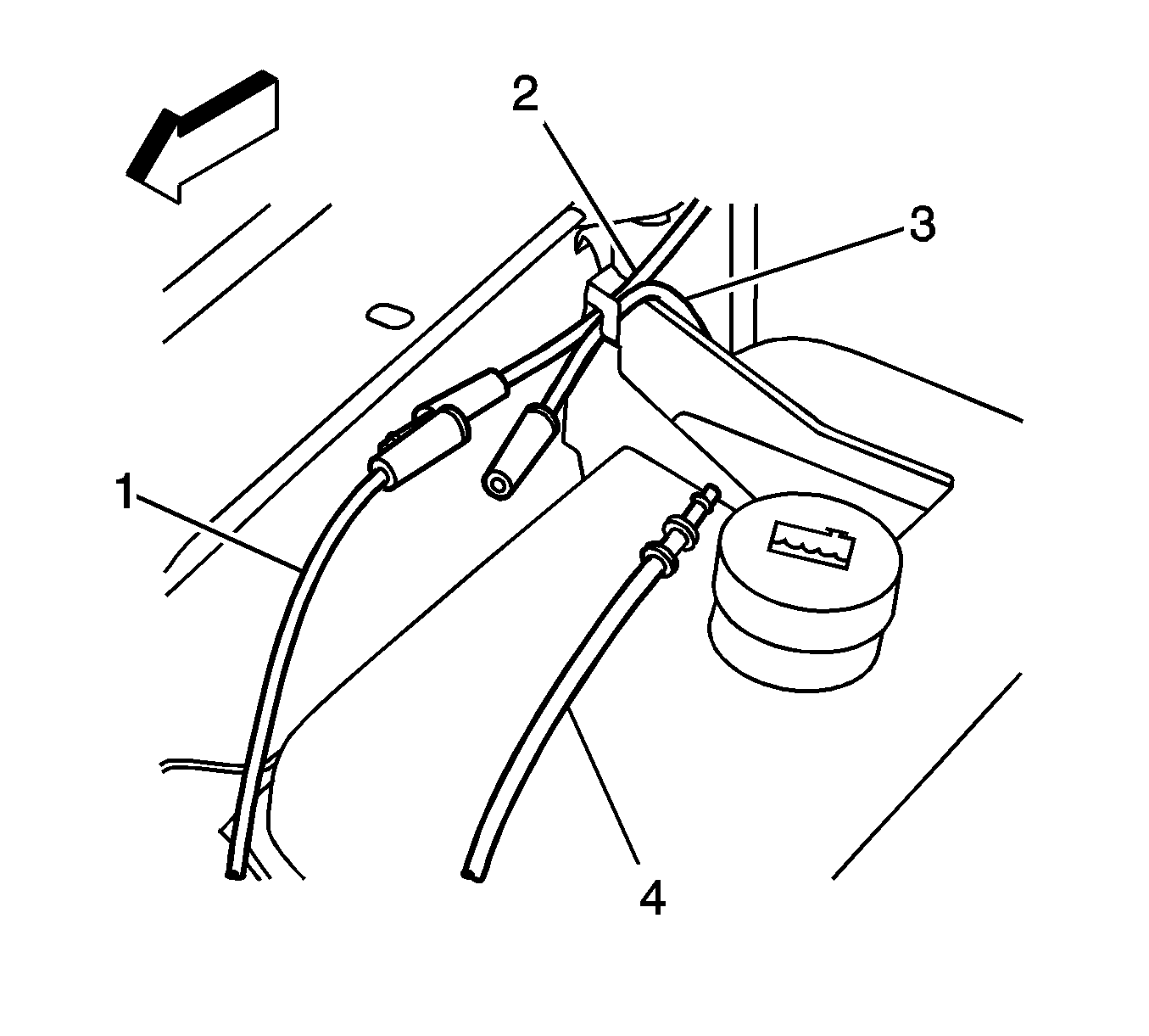
  6. Object Number: 1333186  Size: SH
  7. Disconnect the washer hose (2) at the coolant recovery tank.
  8. Remove the air inlet grille panel from the vehicle, by pulling upwards and to the rear in order to disengage the retaining clips.

Installation Procedure


    Object Number: 742164  Size: SH
  1. Position the air inlet grille panel to the rear edge of the hood.
  2. Push downward on the air inlet grille panel to seat the retaining clips.

  3. Object Number: 1333186  Size: SH
  4. Connect the washer hose (2) at the coolant recovery tank.
  5. Install the retainers and secure.
  6. Notice: Refer to Fastener Notice in the Preface section.

  7. Install the air inlet grille retaining nuts.
  8. Tighten
    Tighten the air inlet grille nuts to 4 N·m (35 lb in).

  9. Install the fixed antenna mast. Refer to Fixed Antenna Mast Replacement .
  10. Install the windshield wiper arms. Refer to Windshield Wiper Arm Replacement .