GM Service Manual Online
For 1990-2009 cars only
Connector 1: Fuse Block - Underhood (4.2L), Label
Connector 2: Fuse Block - Underhood (5.3L), Label
Connector 3: Fuse Block - Underhood, Top View (4.2L)
Connector 4: Fuse Block - Underhood, Top View (5.3L)
Connector 5: Fuse Block - Underhood, Bottom View
Connector 6: Fuse Block - Underhood C1 (4.2L)
Connector 7: Fuse Block - Underhood C1 (5.3L)
Connector 8: Fuse Block - Underhood C2
Connector 9: Fuse Block - Underhood C3
Connector 10: Fuse Block - Underhood C4
Connector 11: Fuse Block - Underhood C6 (TT6)
Connector 12: Fuse Block - Underhood C7
Connector 13: Fuse Block - Underhood C8
Connector 14: Fuse Block - Underhood C9
Connector 15: Fuse Block - Rear, Label
Connector 16: Fuse Block - Rear, Top View
Connector 17: Fuse Block - Rear, Bottom View
Connector 18: Fuse Block - Rear C1
Connector 19: Fuse Block - Rear C2
Connector 20: Fuse Block - Rear C3
Connector 21: Fuse Block - Rear C4

Fuse Block - Underhood (4.2L), Label


Object Number: 1749821  Size: MF

Fuse Block - Underhood (4.2L), Label Usage

No.

Device

Rating

Description

1

ECAS Fuse

30A

Air Suspension Compressor Assembly

2

HI HEADLAMP-RT Fuse

10A

Headlamp - High Beam - Right

3

LO HEADLAMP-RT Fuse

10A

Headlamp - Low Beam - Right

4

TRLR BCK/UP Fuse

10A

Trailer Connector

5

HI HEADLAMP-LT Fuse

10A

Headlamp - High Beam - Left

6

LO HEADLAMP-LT Fuse

10A

Headlamp - Low Beam - Left

7

WPR Fuse

20A

HEADLAMP WPR Relay, REAR/WPR Relay

8

ATC Fuse

30A

Transfer Case Shift Control Module

9

WSW Fuse

15A

WSW Relay

10

PCM B Fuse

20A

Fuel Pump Relay, Powertrain Control Module (PCM)

11

FOG LAMP Fuse

15A

FOG LAMP Relay

12

STOP LAMP Fuse

25A

Stop Lamp Switch

13

LTR Fuse

20A

Data Link Connector (DLC)

14

TRLR STOP/TURN Fuse

20A

Trailer Stop/Turn Relay - Left/Right

15

EAP Fuse

15A

EAP Relay, Electronic Adjustable Pedals (EAP) Relay

16

IGNB1 Fuse

5A

Ignition Switch - ACCY/RUN Bus, RUN/START Bus

18

AIRBAG Fuse

10A

Inflatable Restraint Front Passenger Pressure System (PPS) Module, Inflatable restraint Sensing and Diagnostic Module (SDM), Rollover Sensor

19

ELEC BRK Fuse

30A

Trailer Brake Wiring

20

FAN Fuse

10A

FAN Relay

21

HORN Fuse

15A

HORN Relay

22

IGN E Fuse

10A

A/C Relay, Body Control Module (BCM), Inside Rearview Mirror, Instrument Panel Cluster (IPC), Park/Neutral Position (PNP) Switch, Stop Lamp Switch, Turn Signal/Multifunction Switch

23

ETC Fuse

10A

Mass Air Flow (MAF)/Intake Air Temperature (IAT) Sensor, Powertrain Control Module (PCM)

24

IPC/DIC Fuse

10A

Instrument Panel Cluster (IPC)

25

BTSI Fuse

10A

Automatic Transmission Shift Lock Actuator, Stop Lamp Switch

26

TCM CNSTR Fuse

10A

Evaporative Emission (EVAP) Cansiter Purge Solenoid, Evaporative Emission (EVAP) Canister Vent Solenoid

27

BCK/UP Fuse

15A

EAP Relay, Park/Neutral Position (PNP) Switch

28

PCM I Fuse

15A

Body Control Module (BCM), Fuel Injectors, Ignition Coils, Powertrain Control Module (PCM)

29

O2 SNSR Fuse

10A

Heated Oxygen Sensor (HO2S) 1/2

30

A/C Fuse

10A

A/C Relay

31

TBC I Fuse

10A

Body Control Module (BCM), Theft Deterrent Control Module

32

TRLR Fuse

30A

Trailer Connector

33

ABS Fuse

60A

Electronic Brake Control Module (EBCM)

34

IGN A Fuse

40A

STRTR Relay

35

HEADLAMP-LT Fuse

20A

Headlamp - Low Beam - Left

36

BLWR Fuse

40A

Blower Motor Control Module

37

HEADLAMP WPR Relay

--

Headlamp Washer Fluid Pump

38

REAR/WPR Relay

--

Rear Window Washer Fluid Pump

39

FOG LAMP Relay

--

Body Control Module (BCM), Fog Lamp - LF/RF

40

HORN Relay

--

Horn Assembly

41

FUEL PUMP Relay

--

Fuel Pump and Sender Assembly

42

WSW Relay

--

Windshield Washer Fluid Pump

43

HI HEADLAMP Relay

--

HI HEADLAMP - LT Fuse, HI HEADLAMP - RT Fuse

44

A/C Relay

--

A/C Compressor Clutch Assembly

45

FAN Relay

--

Cooling Fan

46

HDM Relay

--

LO HEADLAMP - LT Fuse, LO HEADLAMP - RT Fuse

47

STRTR Relay

--

Starter

48

I/P BATT Fuse

125A

Fuse Block - Rear - B+ Bus

49

EAP Relay

--

Electronic Adjustable (EAP) Switch

50

TRLR RT TRN Fuse

10A

Trailer Connector

51

TRLR LT TRN Fuse

10A

Trailer Connector

52

HAZRD Fuse

15A

Turn Signal/Hazard Flasher Module

53

HDM Fuse

15A

HDM Relay

54

AIR SOL Fuse

15A

AIR SOL Relay, Secondary Air Injection (AIR) Pump Relay

55

AIR SOL Relay

--

Secondary Air Injection (AIR) Solenoid

56

AIR PUMP Fuse

60A

Secondary Air Injection (AIR) Pump Relay

57

IGNA1 Fuse

5A

Ignition Switch - ACCY/RUN/START BUS, RUN BUS, START BUS

58

HEADLAMP-RT Fuse

20A

Headlamp - Low Beam - Right

59

RVC Fuse

15A

Regulated Voltage Control Module

59

LO BEAM Relay

--

HEADLAMP - LT Fuse, HEADLAMP - RT Fuse

60

IGN1 Relay

--

AIR SOL Fuse, AIRBAG Fuse, BCK/UP Fuse, IGN E Fuse, PCM I Fuse

61

PWR/TRN Relay

 

ETC Fuse, O2 SNSR Fuse

62

VSES Fuse

60A

Electronic Brake Control Module (EBCM)

Fuse Block - Underhood (5.3L), Label


Object Number: 1749822  Size: MF

Fuse Block - Underhood (5.3L), Label Usage

No.

Device

Rating

Description

1

ECAS Fuse

30A

Air Suspension Compressor Assembly

2

HI HEADLAMP-RT Fuse

10A

Headlamp - High Beam - Right

3

LO HEADLAMP-RT Fuse

10A

Headlamp - Low Beam - Right

4

TRLR BCK/UP Fuse

10A

Trailer Connector

5

HI HEADLAMP-LT Fuse

10A

Headlamp - High Beam - Left

6

LO HEADLAMP-LT Fuse

10A

Headlamp - Low Beam - Left

7

WPR Fuse

20A

HEADLAMP WPR Relay, REAR/WPR Relay

8

ATC Fuse

30A

Transfer Case Shift Control Module

9

WSW Fuse

15A

WSW Relay

10

PCM B Fuse

20A

Fuel Pump Relay

11

FOG LAMP Fuse

15A

FOG LAMP Relay

12

STOP LAMP Fuse

25A

Stop Lamp Switch

13

LTR Fuse

20A

Data Link Connector (DLC)

14

IGN COILS Fuse

10A

HI HEADLAMP Realy

15

TCM CNSTR Fuse

10A

Evaporative Emission (EVAP) Canister vent Solenoid, Transmission Control Module (TCM)

16

IGNB1 Fuse

5A

Ignition Switch - ACCY/RUN Bus, RUN/START Bus

17

TRLR STOP/TURN Fuse

20A

Trailer Stop/Turn Relay - Left/Right

18

AIRBAG Fuse

10A

Inflatable Restraint Front Passenger Pressure System (PPS) Module, Inflatable restraint Sensing and Diagnostic Module (SDM), Rollover Sensor

19

ELEC BRK Fuse

30A

Trailer Brake Wiring

20

FAN Fuse

10A

FAN Relay

21

HORN Fuse

15A

HORN Relay

22

IGN E Fuse

10A

A/C Relay, Body Control Module (BCM), Inside Rearview Mirror, Instrument Panel Cluster (IPC), Park/Neutral Position (PNP) Switch, Stop Lamp Switch, Turn Signal/Multifunction Switch

23

ETC Fuse

15A

Engine Control Module (ECM)

24

IPC/DIC Fuse

10A

Instrument Panel Cluster (IPC)

25

BTSI Fuse

10A

Automatic Transmission Shift Lock Actuator, Stop Lamp Switch

26

ENG I Fuse

15A

Evaporative Emission (EVAP) Canister Purge Solenoid, Mass Air Flow (MAF)/Intake Air Temperature (IAT) Sensor

27

BCK/UP Fuse

15A

EAP Relay, Park/Neutral Position (PNP) Switch

28

ECMI Fuse

15A

Engine Control Module (ECM)

29

ECM Fuse

10A

Engine Control Module (ECM)

30

A/C Fuse

10A

A/C Relay

31

INJA Fuse

20A

Odd Fuel Injectors, Odd Ignition Coils

32

TRLR Fuse

30A

Trailer Connector

33

ABS Fuse

60A

Electronic Brake Control Module (EBCM)

34

IGN A Fuse

40A

STRTR Relay

35

BLWR Fuse

40A

Transfer Case Shift Control Module

36

HEADLAMP-LT Fuse

20A

Headlamp - Low Beam - Left

37

HEADLAMP WPR Relay

--

Headlamp Washer Fluid Pump

38

REAR/WPR Relay

--

Rear Window Washer Fluid Pump

39

FOG LAMP Relay

--

Body Control Module (BCM), Fog Lamp - LF/RF

40

HORN Relay

--

Horn Assembly

41

FUEL PUMP Relay

--

Fuel Pump and Sender Assembly

42

WSW Relay

--

Windshield Washer Fluid Pump

43

HI HEADLAMP Relay

--

HI HEADLAMP - LT Fuse, HI HEADLAMP - RT Fuse

44

A/C Relay

--

A/C Compressor Clutch Assembly

45

FAN Relay

--

Cooling Fan

46

HDM Relay

--

LO HEADLAMP - LT Fuse, LO HEADLAMP - RT Fuse

47

STRTR Relay

--

Starter

48

I/P BATT Fuse

125A

Fuse Block - Rear - B+ Bus

49

EAP Relay

--

Electronic Adjustable (EAP) Switch

50

TRLR RT TRN Fuse

10A

Trailer Connector

51

TRLR LT TRN Fuse

10A

Trailer Connector

52

HAZRD Fuse

15A

Turn Signal/Hazard Flasher Module

53

TRANS Fuse

15A

Automatic Transmission, Transmission Control Module (TCM)

54

O2 SNSR B Fuse

10A

Heated Oxygen Sensor (HO2S) Bank 1/2 Sensor 2

55

O2 SNSR A Fuse

10A

Heated Oxygen Sensor (HO2S) Bank 1/2 Sensor 1

56

INJB Fuse

20 A

Even Fuel Injectors, Even Ignition Coils

57

HDM Fuse

15A

HDM Relay

58

TBC I Fuse

10A

Body Control Module (BCM), Theft Deterrent Control Module

59

EAP Fuse

15A

EAP Relay, Electronic Adjustable Pedals (EAP) Relay

60

PWR/TRN Relay

--

ENG I Fuse, ETC Fuse, INJA Fuse, INJB Fuse, O2 SNSR A Fuse, O2 SNSR B Fuse

61

IGNA1 Fuse

5A

Ignition Switch - ACCY/RUN/START BUS, RUN BUS, START BUS

62

HEADLAMP-RT Fuse

20A

Headlamp - Low Beam - Right

63

LO BEAM Relay

--

HEADLAMP - LT Fuse, HEADLAMP - RT Fuse

64

IGN1 Relay

--

AIRBAG Fuse, BCK/UP Fuse, ECM I Fuse, IGN E Fuse, TRANS Fuse

65

VSES Fuse

60A

Electronic Brake Control Module (EBCM)

66

RVC Fuse

15A

Regulated Voltage Control Module

Fuse Block - Underhood, Top View (4.2L)


Object Number: 1652097  Size: MF

Fuse Block - Underhood, Top View (5.3L)


Object Number: 1652106  Size: MF

Fuse Block - Underhood, Bottom View


Object Number: 1652115  Size: MF

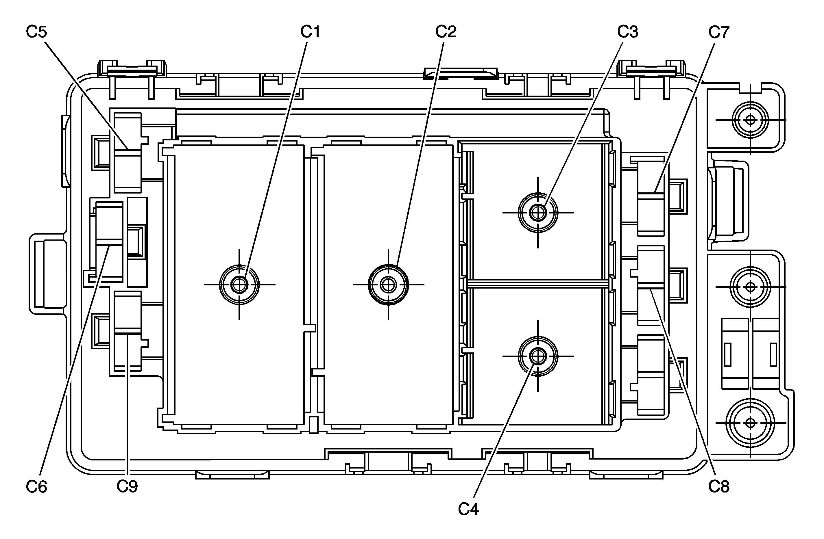
Fuse Block - Underhood C1 (4.2L)


Object Number: 647955  Size: CH

Connector Part Information

  • OEM: 15319897
  • Service: 15319897
  • Description: 68-Way F Metri-Pack 280 Series (L-GY)

Terminal Part Information

  • Pins: A2, A5, A10-A11, B9-B11, D2, E1, E12
  • Terminal/Tray: 12110844/4
  • Core/Insulation Crimp: Pins E/C
  • Release Tool/Test Probe: 15315247/J-35616-4A (PU)
  • Pins: A8
  • Terminal/Tray: 15324340/19
  • Core/Insulation Crimp: F/G
  • Release Tool/Test Probe: 12094430/J-35616-4A (PU)
  • Pins: A9, B5, C10, E6, F3
  • Terminal/Tray: 12110844/4
  • Core/Insulation Crimp: Pins C/A
  • Release Tool/Test Probe: 15315247/J-35616-4A (PU)
  • Pins: B6, C5, D3, D5, D11, E5, E7, E11, F5
  • Terminal/Tray: 12110844/4
  • Core/Insulation Crimp: E/A
  • Release Tool/Test Probe: 15315247/J-35616-4A (PU)
  • Pins: C1, C11, D10, E10, F10
  • Terminal/Tray: 12110842/4
  • Core/Insulation Crimp: See Terminal Repair Kit
  • Release Tool/Test Probe: 15315247/J-35616-4A (PU)

Fuse Block - Underhood C1 (4.2L)

Pin

Wire Color

Circuit No.

Function

A1

--

--

Not Used

A2

PK

839

Ignition 1 Voltage

PK

839

Ignition 1 Voltage

A3-A4

--

--

Not Used

A5

PK

639

Ignition 1 Voltage

A6-A7

--

--

Not Used

A8

PU

6

Starter Solenoid Crank Voltage

A9

GY

1524

Backup Lamp Signal

A10

YE

1737

Neutral Safety Switch Park/Neutral Signal

A11

D-GN/WH

465

Fuel Pump Relay Control

A12

--

--

Not Used

B1-B4

--

--

Not Used

B5

PK

339

Ignition 1 Voltage

B6

L-GN

275

Park Neutral Position Switch Park Signal

B7-B8

--

--

Not Used

B9

WH

1310

EVAP Canister Vent Solenoid Control

B10

OG/BK

463

Requested Torque Signal

B11

TN/BK

464

Delivered Torque Signal

B12

--

--

Not Used

C1

OG

3840

Battery Positive Voltage

OG

3840

Battery Positive Voltage

C2-C4

--

--

Not Used

C5

PK

439

Ignition 1 Voltage

PK

439

Ignition 1 Voltage

C8-C9

--

--

Not Used

C10

BK

550

Ground

C11

PK

539

Ignition 1 Voltage

PK

539

Ignition 1 Voltage

C12

--

--

Not Used

D1

--

--

Not Used

D2

PK

1020

Ignition 0 Voltage

D3

BK

350

Ground

BK

350

Ground

D4

--

--

Not Used

D5

PK

439

Ignition 1 Voltage

PK

439

Ignition 1 Voltage

D8-D9

--

--

Not Used

D10

BK

550

Ground

BK

550

Ground

D11

PK/BK

415

Air Sol Relay Power Output

D12

--

--

Not Used

E1

OG

540

Battery Positive Voltage

E2-E4

--

--

Not Used

E5

PK

439

Ignition 1 Voltage

PK

439

Ignition 1 Voltage

E6

BK

450

Ground

E7

BK

450

Ground

BK

450

Ground

E8-E9

--

--

Not Used

E10

BK

550

Ground

BK

550

Ground

E11

PU

421

Air Sol Relay Control

E12

D-GN

59

A/C Compressor Clutch Supply Voltage

F1-F2

--

--

Not Used

F3

BK

350

Ground

F4

--

--

Not Used

F5

PK

439

Ignition 1 Voltage

F5

PK

439

Ignition 1 Voltage

F6-F9

--

--

Not Used

F10

BK

550

Ground

BK

550

Ground

F11-F12

--

--

Not Used

Fuse Block - Underhood C1 (5.3L)


Object Number: 647955  Size: CH

Connector Part Information

  • OEM: 15319897
  • Service: 15319897
  • Description: 68-Way F Metri-Pack 280 Series (L-GY)

Terminal Part Information

  • Pins: A5-A7, A10, B1, B8-B11, D1, D4, D8-D9, D11
  • Terminal/Tray: 12110844/4
  • Core/Insulation Crimp: E/C
  • Release Tool/Test Probe: 15315247/J-35616-4A (PU)
  • Pins: A8
  • Terminal/Tray: 15324340/19
  • Core/Insulation Crimp: F/G
  • Release Tool/Test Probe: 12094430/J-35616-4A (PU)
  • Pins: A11, B6, C2, C5, D3, E1, E7, F9-F10
  • Terminal/Tray: 12110844/4
  • Core/Insulation Crimp: E/A
  • Release Tool/Test Probe: 15315247/J-35616-4A (PU)
  • Pins: C10
  • Terminal/Tray: 12110842/4
  • Core/Insulation Crimp: Pins A/B
  • Release Tool/Test Probe: 15315247/J-35616-4A (PU)
  • Pins: C1, C11, D10, F11
  • Terminal/Tray: 12110842/4
  • Core/Insulation Crimp: See Terminal Repair Kit
  • Release Tool/Test Probe: 15315247/J-35616-4A (PU)

Fuse Block - Underhood C1 (5.3L)

Pin

Wire Color

Circuit No.

Function

A1-A4

--

--

Not Used

A5

PK

639

Ignition 1 Voltage

A6

PU

806

Crank Voltage

A7

OG/BK

463

Requested Torque Signal

A8

PU

6

Starter Solenoid Crank Voltage

A9

GY

1524

Backup Lamp Signal

A10

YE

1737

Neutral Safety Switch Park/Neutral Signal

A11

PK

239

Ignition 1 Voltage

A12

--

--

Not Used

B1

OG

240

Battery Positive Voltage

B2-B4

--

--

Not Used

B5

PK

339

Ignition 1 Voltage

B6

L-GN

275

Park Neutral Position Switch Park Signal

B7

--

--

Not Used

B8

D-GN/WH

465

Fuel Pump Relay Control

B9

WH

1310

EVAP Canister Vent Solenoid Control

B10

TN/BK

464

Delivered Torque Signal

B11

OG

540

Battery Positive Voltage

B12

--

--

Not Used

C1

OG

3840

Battery Positive Voltage

OG

3840

Battery Positive Voltage

C2

PK

139

Ignition 1 Voltage

PK

139

Ignition 1 Voltage

C3-C4

--

--

Not Used

C5

PK

439

Ignition 1 Voltage

C8-C9

--

--

Not Used

C10

BK

550

Ground

C11

PK

1339

Ignition 1 Voltage

C11

PK

1339

Ignition 1 Voltage

C12

--

--

Not Used

D1

YE

5991

Powertrain Relay Coil Control

D2

--

--

Not Used

D3

BK

350

Ground

D4

WH/BK

2366

Cooling Fan Clutch Control

D5

--

--

Not Used

D8

YE/BK

625

Starter Enable Relay Control

D9

D-GN/WH

459

A/C Compressor Clutch Relay Control

D10

BK

550

Ground

BK

550

Ground

D11

D-GN

59

A/C Compressor Clutch Supply Voltage

D12

--

--

Not Used

E1

PK

839

Ignition 1 Voltage

E2-E5

--

--

Not Used

E6

BK

450

Ground

E7

BK

450

Ground

BK

450

Ground

E8-E12

--

--

Not Used

F1-F2

--

--

Not Used

F3

BK

350

Ground

F4-F8

--

--

Not Used

F9

PK

539

Ignition 1 Voltage

PK

539

Ignition 1 Voltage

F10

PK

1539

Ignition 1 Voltage

PK

1539

Ignition 1 Voltage

F11

PK

1239

Ignition 1 Voltage

PK

1239

Ignition 1 Voltage

F12

--

--

Not Used

Fuse Block - Underhood C2


Object Number: 647951  Size: CH

Connector Part Information

  • OEM: 15319896
  • Service: 15319896
  • Description: 68-Way F Metri-Pack 280 Series (BK)

Terminal Part Information

  • Pins: A3, A5-A6, A12, B1, B3, B6-B7, B9, B10, C1-C3, C10-C12, D3, E1-E3, E5, E10-E12, F2, F5, F8, F10, F12
  • Terminal/Tray: 12110844/4
  • Core/Insulation Crimp: Pins E/C
  • Release Tool/Test Probe: 15315247/J-35616-4A (PU)
  • Pins: A7, A10, C9, D5, D9-D10
  • Terminal/Tray: 12110844/4
  • Core/Insulation Crimp: C/A
  • Release Tool/Test Probe: 15315247/J-35616-4A (PU)
  • Pins: A11
  • Terminal/Tray: 12110842/4
  • Core/Insulation Crimp: A/B
  • Release Tool/Test Probe: 15315247/J-35616-4A (PU)
  • Pins: B11, E6-E7
  • Terminal/Tray: 12110844/4
  • Core/Insulation Crimp: E/A
  • Release Tool/Test Probe: 15315247/J-35616-4A (PU)
  • Pins: F1
  • Terminal/Tray: 15324340/19
  • Core/Insulation Crimp: F/G
  • Release Tool/Test Probe: 12094430/J-35616-4A (PU)
  • Pins: F7-F8, F10
  • Terminal/Tray: See Terminal Repair Kit
  • Core/Insulation Crimp: See Terminal Repair Kit
  • Release Tool/Test Probe: See Terminal Repair Kit

Fuse Block - Underhood C2

Pin

Wire Color

Circuit No.

Function

A1-A2

--

--

Not Used

A3

YE

618

Left Rear Turn Signal Lamp Supply Voltage (w/TT6)

A4

--

--

Not Used

A5

WH/BK

2366

Cooling Fan Clutch Control (4.2L)

A6

BN

2309

Front Park Lamps Supply Voltage

A7

OG

440

Battery Positive Voltage (4.2L)

A8-A9

--

--

Not Used

A10

YE

18

Left Rear Stop/Turn Lamp Supply Voltage

A11

OG

1640

Battery Positive Voltage

A12

OG

2268

Windshield Washer Relay Control

B1

D-GN

619

Right Turn Signal Lamps Supply Voltage (w/o TT6)

D-BU

2115

Right Turn Signal Lamps Supply Voltage (w/TT6)

B2

--

--

Not Used

B3

PK/WH

1970

Headlamp Low Beam Relay Control

B4-B5

--

--

Not Used

B6

PK

639

Ignition 1 Voltage

B7

D-GN

619

Right Rear Turn Signal Lamp Supply Voltage (w/TT6)

B8

--

--

Not Used

B9

RD

142

Battery Positive Voltage

B10

PU

420

TCC Brake Switch/Cruise Control Release Signal

PU

420

TCC Brake Switch/Cruise Control Release Signal

B11

BN

241

Ignition 3 Voltage

B12

--

--

Not Used

C1

YE

618

Left Turn Signal Lamps Supply Voltage (w/o TT6)

L-BU

2114

Left Turn Signal Lamps Supply Voltage (w/TT6)

C2

D-GN/WH

1317

Front Fog Lamp Relay and Indicator Control

C3

L-GN

2270

Rear Window Washer Relay Control

C4-C5

--

--

Not Used

C8

--

--

Not Used

C9

OG

1540

Battery Positive Voltage

C10

PK/WH

1970

Headlamp Low Beam Relay Control (w/TT6)

C11

BN

441

Ignition 3 Voltage

C12

BK/WH

1969

Headlamp High Beam Relay Control

D1-D2

--

--

Not Used

D3

WH

2282

Headlamp Washer Relay Control

D4

--

--

Not Used

D5

OG

140

Battery Positive Voltage

D8

--

--

Not Used

D9

OG

640

Battery Positive Voltage

D10

D-GN

19

Right Rear Stop/Turn Lamp Supply Voltage

D11-D12

--

--

Not Used

E1

OG

2340

Battery Positive Voltage

E2

BK

28

Horn Relay Control

E3

PK

1020

Ignition 0 Voltage (4.2L)

E4

--

--

Not Used

E5

RD

342

Battery Positive Voltage (Early Production)

RD/WH

342

Battery Positive Voltage (Late Production)

E6

OG

3240

Battery Positive Voltage (JF4)

E7

OG

3040

Battery Positive Voltage (JF4)

E8-E9

--

--

Not Used

E10

L-GN/BK

584

A/T Shift Lock Control Switch Supply Voltage (4.2L)

L-GN/BK

584

A/T Shift Lock Control Switch Supply Voltage (4.2L)

E11

YE

5991

Powertrain Relay Coil Control (4.2L)

E12

OG

1140

Battery Positive Voltage

OG

1140

Battery Positive Voltage

F1

OG

2940

Battery Positive Voltage

F2

PK

3

Ignition 1 Voltage

F3-F4

--

--

Not Used

F5

YE

1139

Ignition 1 Voltage

F6

--

--

Not Used

F7

YE

5

Crank Voltage

F8

L-GN/BK

584

A/T Shift Lock Control Switch Supply Voltage (5.3L)

L-GN/BK

584

A/T Shift Lock Control Switch Supply Voltage (5.3L)

YE/BK

625

Starter Enable Relay Control (4.2L)

F9

--

--

Not Used

F10

D-GN

1433

PNP/Clutch Start Switch Signal (4.2L)

OG/BK

1786

Park/Neutral Signal (5.3L)

F11

--

--

Not Used

F12

D-GN/WH

459

A/C Compressor Clutch Relay Control (4.2L)

Fuse Block - Underhood C3


Object Number: 647944  Size: CH

Connector Part Information

  • OEM: 15319892
  • Service: 15319892
  • Description: 32-Way F Metri-Pack 280 Series (NA)

Terminal Part Information

  • Pins:A2, E4, F1
  • Terminal/Tray: 12110844/4
  • Core/Insulation Crimp: E/A
  • Release Tool/Test Probe: 15315247/J-35616-4A (PU)
  • Pins: A3
  • Terminal/Tray: 15324340/19
  • Core/Insulation Crimp: F/G
  • Release Tool/Test Probe: 12094430/J-35616-4A (PU)
  • Pins: A5, B5, C2, C6, D5, E3, F2
  • Terminal/Tray: 12110844/4
  • Core/Insulation Crimp: E/C
  • Release Tool/Test Probe: 15315247/J-35616-4A (PU)
  • Pins: B4, B6, D2, F3
  • Terminal/Tray: 12110844/4
  • Core/Insulation Crimp: C/A
  • Release Tool/Test Probe: 15315247/J-35616-4A (PU)

Fuse Block - Underhood C3

Pin

Wire Color

Circuit No.

Function

A1

--

--

Not Used

A2

PK

739

Ignition 1 Voltage (4.2L)

A3

OG

2840

Battery Positive Voltage

A4

--

--

Not Used

A5

OG

540

Battery Positive Voltage (4.2L)

A6

--

--

Not Used

B1-B3

--

--

Not Used

B4

L-GN

1624

Trailer Backup Lamps Supply Voltage

B5

BN

441

Ignition 3 Voltage

B6

D-GN

1619

Trailer Right Rear Turn/Stop Lamp Supply Voltage

C1

--

--

Not Used

C2

WH

1310

EVAP Canister Vent Solenoid Control

C5

--

--

Not Used

C6

OG

540

Battery Positive Voltage (5.3L)

D1

--

--

Not Used

D2

YE

1618

Trailer Left Rear Turn/Stop Lamp Supply Voltage

D5

TN/BK

464

Delivered Torque Signal

D6

--

--

Not Used

E1-E2

--

--

Not Used

E3

PU

420

TCC Brake Switch Signal

E4

BN

241

Ignition 3 Voltage

E5-E6

--

--

Not Used

F1

BK

350

Ground

F2

OG/BK

463

Requested Torque Signal

F3

GY

120

Fuel Pump Supply Voltage

F4-F6

--

--

Not Used

Fuse Block - Underhood C4


Object Number: 647947  Size: CH

Connector Part Information

  • OEM: 15319893
  • Service: 15319893
  • Description: 32-Way F Metri-Pack 280 Series (GY)

Terminal Part Information

  • Pins: A1, A3, A6, B1, B3, B4, C6, E1, E2, F1, F2
  • Terminal/Tray: 12110844/4
  • Core/Insulation Crimp: E/C
  • Release Tool/Test Probe: 15315247/J-35616-4A (PU)
  • Pins: B5, C5, F5
  • Terminal/Tray: 12110844/4
  • Core/Insulation Crimp: C/A
  • Release Tool/Test Probe: 15315247/J-35616-4A (PU)
  • Pins: E4, F4
  • Terminal/Tray: 12110844/4
  • Core/Insulation Crimp: E/A
  • Release Tool/Test Probe: 15315247/J-35616-4A (PU)
  • Pins: F6
  • Terminal/Tray: 12110842/4
  • Core/Insulation Crimp: See Terminal Repair Kit
  • Release Tool/Test Probe: 15315247/J-35616-4A (PU)

Fuse Block - Underhood C4

Pin

Wire Color

Circuit No.

Function

A1

BN

2309

Front Park Lamps Supply Voltage

BN

2309

Front Park Lamps Supply Voltage

A2

--

--

Not Used

A3

WH

2368

Cooling Fan Clutch Supply Voltage

A4-A5

--

--

Not Used

A6

L-BU

2114

Left Turn Signal Lamps Supply Voltage

L-BU

2114

Left Turn Signal Lamps Supply Voltage (w/o TT6)

B1

BN

2309

Front Park Lamps Supply Voltage

BN

2309

Front Park Lamps Supply Voltage

B2

--

--

Not Used

B3

D-GN

619

Right Rear Turn Signal Lamp Supply Voltage (w/TT6)

B4

YE

618

Left Rear Turn Signal Lamp Supply Voltage (w/TT6)

B5

D-GN

392

Rear Window Washer Pump Control

B6

--

--

Not Used

C1-C2

--

--

Not Used

C5

BK

350

Ground

C6

D-BU

2115

Right Turn Signal Lamps Supply Voltage

D-BU

2115

Right Turn Signal Lamps Supply Voltage (w/o TT6)

D1-D2

--

--

Not Used

D5-D6

--

--

Not Used

E1

D-GN/WH

711

Left Headlamp High Beam Supply Voltage

E2

YE

712

Left Headlamp Low Beam Supply Voltage (w/o TT6)

E3

--

--

Not Used

E4

RD

228

Windshield Washer Pump Control

E5-E6

--

--

Not Used

F1

L-GN/BK

311

Right Headlamp High Beam Supply Voltage

F2

TN/WH

312

Right Headlamp Low Beam Supply Voltage (w/o TT6)

F3

--

--

Not Used

F4

D-GN

1329

Horn Fuse Supply Voltage

F5

PU

1197

Headlamp Washer Pump Control (CE4)

F6

PU

34

Fog Lamps Supply Voltage

F6

PU

34

Fog Lamps Supply Voltage

Fuse Block - Underhood C6 (TT6)


Object Number: 845608  Size: CH

Connector Part Information

  • OEM: 15393172
  • Service: 88986445
  • Description: 2-Way F Metri-Pack 800 Series (L-GN)

Terminal Part Information

  • Terminal/Tray: 12065915/5
  • Core/Insulation Crimp: C/A
  • Release Tool/Test Probe: 12150860/J-35616-44 (YE)

Fuse Block - Underhood C6 (TT6)

Pin

Wire Color

Circuit No.

Function

A

YE

712

Left Headlamp Low Beam Supply Voltage

B

TN/WH

312

Right Headlamp Low Beam Supply Voltage

Fuse Block - Underhood C7


Object Number: 647933  Size: CH

Connector Part Information

  • OEM: 12193693
  • Service: 15306393
  • Description: 2-Way F Metri-Pack 800 Series (BK)

Terminal Part Information

  • Pins: A
  • Terminal/Tray: 12110127/19
  • Core/Insulation Crimp: See Terminal Repair Kit
  • Release Tool/Test Probe: 12150860/J-35616-44 (YE)
  • Pins: B
  • Terminal/Tray: 12110127/19
  • Core/Insulation Crimp: F/G
  • Release Tool/Test Probe: 12150860/J-35616-44 (YE)

Fuse Block - Underhood C7

Pin

Wire Color

Circuit No.

Function

A

RD

1042

Battery Positive Voltage (4.2L)

B

RD

642

Battery Positive Voltage

Fuse Block - Underhood C8


Object Number: 647935  Size: CH

Connector Part Information

  • OEM: 12193694
  • Service: 15306412
  • Description: 2-Way F Metri-Pack 800 Series (L-GY)

Terminal Part Information

  • Pin: A
  • Terminal/Tray: 12110127/19
  • Core/Insulation Crimp: See Terminal Repair Kit
  • Release Tool/Test Probe: 12150860/J-35616-44 (YE)
  • Pin: B
  • Terminal/Tray: 12110127/19
  • Core/Insulation Crimp: F/G
  • Release Tool/Test Probe: 12150860/J-35616-44 (YE)

Fuse Block - Underhood C8

Pin

Wire Color

Circuit No.

Function

A

RD

1142

Battery Positive Voltage

RD

1142

Battery Positive Voltage

B

RD

4042

Battery Positive Voltage

Fuse Block - Underhood C9


Object Number: 1333960  Size: CH

Connector Part Information

  • OEM: 12193695
  • Service: 88987862
  • Description: 2-Way F Metri-Pack 800 Series (NA)

Terminal Part Information

  • Pins: A
  • Terminal/Tray: 12110127/19
  • Core/Insulation Crimp: F/G
  • Release Tool/Test Probe: 12150860/J-35616-44 (YE)

Fuse Block - Underhood C9

Pin

Wire Color

Circuit No.

Function

A

RD

542

Battery Positive Voltage

B

--

--

Not Used

Fuse Block - Rear, Label


Object Number: 1554790  Size: MF

Fuse Block - Rear, Label Usage

No.

Device

Rating

Description

1

RT DRS Circuit Breaker

25A

Front Passenger Door Module (FPDM), Window Switch - RR

2

LT DRS Circuit Breaker

25A

Driver Door Module (DDM), Window Switch - LR

3

LGM #2 Fuse

30A

Liftgate Module (LGM)

4

TBC 3 Fuse

10A

Body Control Module (BCM)

5-6

--

--

Not Used

7

TBC 2 Fuse

10A

Body Control Module (BCM)

8

SEATS Circuit Breaker

30A

Lumbar Adjuster Switch - Passenger, Memory Seat Module - Driver, Seat Adjuster Switch - Passenger

9

REAR WPR Circuit Breaker

15A

Rear Window Wiper Motor

10

DDM Fuse

10A

Driver Door Module (DDM)

11

AMP Fuse

20A

Audio Amplifier

12

PDM Fuse

10A

Front Passenger Door Module (FPDM)

13

--

--

Not Used

14

LR PRK Fuse

10A

License Lamp - Left/RightMarker Lamp - LR, Stop/Park Lamp - LR

15

--

--

Not Used

16

VEH CHMSL Fuse

10A

Center High Mounted Stop Lamp (CHMSL)

17

RR PRK Fuse

10A

Marker Lamp - RR, Stop/Park Lamp - RR

18

LCK Relay

--

Door Latch Assembly - LR/RR

19

LGM/DSM Fuse

10A

Liftgate Module (LGM), Memory Seat Module - Driver

20

--

--

Not Used

21

LCKS Fuse

10A

LCK Relay, UNLCK Relay

22-23

--

--

NOT USED

24

UNLCK Relay

--

Door Latch Assembly - LR/RR

25

IGN 0 Relay

--

IGN 0 Fuse

26

OH BATT/ONSTAR Fuse

10A

Digital Video Disc (DVD) Player, Garage Door Opener, Vehicle Communication Interface Module (VCIM)

27

--

--

Not Used

28

S/ROOF Fuse

20A

Sunroof Motor

29

ACCY Relay

--

FRT WPR Fuse, TCM Fuse

30

PRK LAMP Relay

--

FRT PRK Fuse, LR PRK Fuse, RR PRK Fuse, TRLR PRK Fuse

31

TBC ACCY Fuse

2A

Body Control Module (BCM)

32

TBC 5 Fuse

10A

Body Control Module (BCM)

33

FRT WPR Fuse

25A

Windshield Wiper Motor

34

IGN 3 Relay

--

4WD Fuse, BRK Fuse, HVAC I Fuse

35

VEH STOP Fuse

15A

Powertrain Control Module (PCM), Stop/Park Lamp - LR/RR, Trailer Brake Wiring

36

TCM Fuse

10A

Transmission Control Module (TCM)

37

HVAC B Fuse

10A

HVAC Control Module, HVAC Control Module - Auxiliary

38

FRT PRK Fuse

10A

Marker Lamp - LF/RF, Park/Turn Signal Lamp - LF/RF

39

RL TRN

10A

Driver Door Module, Instrument Panel Cluster (IPC), Park/Turn Signal Lamp - LF, Marker Lamp - LF, Turn Signal Lamp - LR

40

HVAC I Fuse

10A

Air Temperature Actuator - Left/Right, Console Mode Actuator - Auxiliary, Defrost Actuator, HVAC Control Module, Mode Actuator, Recirculation Actuator, Steering Wheel Speed Position Sensor, Turn Signal/Multifunction Switch

41

FR TRN Fuse

10A

Park/Turn Signal Lamp - RF

42

RADIO Fuse

15A

Digital Radio Receiver, Radio

43

TRLR PRK Fuse

10A

Trailer Connector

44

RR TRN Fuse

10A

Front Passenger Door Module (FPDM), Instrument Panel Cluster (IPC), Park/Turn Signal Lamp - RF, Marker Lamp - RF, Turn Signal Lamp - RR

45

--

--

Not Used

46

AUX PWR 1 Fuse

20A

Auxiliary Power Outlet - Front/Rear

47

--

--

Not Used

48

IGN 0 Fuse

10A

Automatic Transmission, Automatic Transmission Shift Lock Actuator, Engine Control Module (ECM), Powertrain Control Module (PCM), Theft Deterrent Control Module

49

4WD

15A

Air Suspension Compressor Assembly

50

--

--

Not Used

51

FL TRN

10A

Park/Turn Signal Lamp - LF

52

BRK Fuse

10A

Electronic Brake Control Module (EBCM)

53

TBC 4 Fuse

10A

Body Control Module (BCM)

Fuse Block - Rear, Top View


Object Number: 1641053  Size: MF

Fuse Block - Rear, Bottom View


Object Number: 1215019  Size: MF

Fuse Block - Rear C1


Object Number: 647951  Size: CH

Connector Part Information

  • OEM: 15319896
  • Service: 15319896
  • Description: 68-Way F Metri-Pack 280 Series (BK)

Terminal Part Information

  • Pins: A2, A9, B1-B2, B9-B10, C1, C3-C5, C8, C10-C11, D4-D5, E2, E7, E12, F4, F6-F8
  • Terminal/Tray: 12110844/4
  • Core/Insulation Crimp: E/C
  • Release Tool/Test Probe: 15315247/J-35616-4A (PU)
  • Pins: A6, B4, D3, E1
  • Terminal/Tray: 12110842/4
  • Core/Insulation Crimp: C/A
  • Release Tool/Test Probe: 15315247/J-35616-4A (PU)
  • Pins: B5, D12, E8
  • Terminal/Tray: 12110844/4
  • Core/Insulation Crimp: E/A
  • Release Tool/Test Probe: 15315247/J-35616-4A (PU)
  • Pins: B6, D1, D12
  • Terminal/Tray: See Terminal Repair Kit
  • Core/Insulation Crimp: See Terminal Repair Kit
  • Release Tool/Test Probe: See Terminal Repair Kit

Fuse Block - Rear C1

Pin

Wire Color

Circuit No.

Function

A1

--

--

Not Used

A2

BN/WH

230

Instrument Panel Lamps Dimming Control

A3-A5

--

--

Not Used

A6

YE

143

Accessory Voltage

A7-A8

--

--

Not Used

A9

BK

2250

Ground

A10-A12

--

--

Not Used

B1

L-BU

1134

Park Brake Switch Signal

B2

BN/WH

230

Instrument Panel Lamps Dimming Control

B3

--

--

Not Used

B4

WH

17

Stop Lamp Switch Signal

B5

L-BU

1320

Stop Lamp Supply Voltage

L-BU

1320

Stop Lamp Supply Voltage

B6

YE

243

Accessory Voltage (5.3L)

B7-B8

--

--

Not Used

B9

BN

4

Accessory Voltage

B10

OG

300

Ignition 3 Voltage

B11-B12

--

--

Not Used

C1

OG

4340

Battery Positive Voltage

OG

4340

Battery Positive Voltage

C2

--

--

Not Used

C3

BN

2309

Front Park Lamps Supply Voltage

C4

YE

618

Left Turn Signal Lamps Supply Voltage

YE

618

Left Turn Signal Lamps Supply Voltage

C5

YE

685

Left Turn Signal Flasher Signal

C8

BN

341

Ignition 3 Voltage

C9

--

--

Not Used

C10

D-BU

2115

Right Turn Signal Lamps Supply Voltage (w/TT6)

C11

D-GN

5365

Right DRL/Turn Supply Voltage (w/TT6)

C12

--

--

Not Used

D1

OG

340

Battery Positive Voltage

OG

340

Battery Positive Voltage (U2K)

D2

--

--

Not Used

D3

BN

2109

Trailer Park Lamps Supply Voltage

D4

D-GN

619

Right Turn Signal Lamps Supply Voltage

D-GN

619

Right Turn Signal Lamps Supply Voltage

D5

TN

686

Right Turn Signal Flasher Signal

D8-D11

--

--

Not Used

D12

PK

439

Ignition 1 Voltage (4.2L)

PK

639

Ignition 1 Voltage (5.3L)

E1

OG/BK

1040

Battery Positive Voltage

E2

BK

2250

Ground

E3-E6

--

--

Not Used

E7

PK

1020

Ignition 0 Voltage

E8

BN

241

Ignition 3 Voltage

E9-E11

--

--

Not Used

E12

PK

639

Ignition 1 Voltage

F1-F3

--

--

Not Used

F4

WH

1390

Ignition 0 Voltage

F5

--

--

Not Used

F6

L-BU

2114

Left Turn Signal Lamps Supply Voltage (w/TT6)

F7

D-BU

5364

Left DRL/Turn Supply Voltage (w/TT6)

F8

BN

441

Ignition 3 Voltage

F9-F12

--

--

Not Used

Fuse Block - Rear C2


Object Number: 647949  Size: CH

Connector Part Information

  • OEM: 15319894
  • Service: 15319894
  • Description: 68-Way F Metri-Pack 280 Series (NA)

Terminal Part Information

  • Pins: A1, A3, A8, B3, B8
  • Terminal/Tray: 12110842/4
  • Core/Insulation Crimp: A/B
  • Release Tool/Test Probe: 15315247/J-35616-4A (PU)
  • Pins: A5, A9, A12, B1, B5, B12, C8, C10, C12, D2, D10, D12, E2, E9, E12, F1, F2, F10, F12
  • Terminal/Tray: 12110844/4
  • Core/Insulation Crimp E/C
  • Release Tool/Test Probe: 15315247/J-35616-4A (PU)
  • Pins: B2, B4, C2-C3, D8, E4-E5, F6
  • Terminal/Tray: 12110844/4
  • Core/Insulation Crimp: E/A
  • Release Tool/Test Probe: 15315247/J-35616-4A (PU)
  • Pins: C1, D1
  • Terminal/Tray: 15324340/19
  • Core/Insulation Crimp: F/G
  • Release Tool/Test Probe: 12094430/J-35616-4A (PU)
  • Pins: C5, F8
  • Terminal/Tray: 12110842/4
  • Core/Insulation Crimp: C/A
  • Release Tool/Test Probe: 15315247/J-35616-4A (PU)
  • Pins: D5
  • Terminal/Tray: 12110844/4
  • Core/Insulation Crimp: C/A
  • Release Tool/Test Probe: 15315247/J-35616-4A (PU)

Fuse Block - Rear C2

Pin

Wire Color

Circuit No.

Function

A1

OG

3640

Battery Positive Voltage

A2

--

--

Not Used

A3

OG

1340

Battery Positive Voltage

A4

--

--

Not Used

A5

OG

2740

Battery Positive Voltage

A6-A7

--

--

Not Used

A8

OG

1240

Battery Positive Voltage

A9

D-GN

1188

Power Window Switch Right Rear Down Signal

A10-A11

--

--

Not Used

A12

L-GN/BK

748

Right Rear Door Ajar Switch Signal

B1

--

--

Not Used

B2

L-BU

1320

Stop Lamp Supply Voltage

B3

OG

1340

Battery Positive Voltage

B4

D-BU

2115

Right Turn Signal Lamps Supply Voltage

D-BU

2115

Right Turn Signal Lamps Supply Voltage

B5

OG

2740

Battery Positive Voltage

B6-B7

--

--

Not Used

B8

OG

1240

Battery Positive Voltage

B9-B11

--

--

Not Used

B12

D-BU

2307

Passenger Air Bag On Indicator Control

C1

OG

3540

Battery Positive Voltage

C2

L-BU

1320

Stop Lamp Supply Voltage

C3

L-BU

2114

Left Turn Signal Lamps Supply Voltage

L-BU

2114

Left Turn Signal Lamps Supply Voltage

C4

--

--

Not Used

C5

OG

4440

Battery Positive Voltage

C8

D-GN

2308

Passenger Air Bag Off Indicator Control

C9

--

--

Not Used

C10

OG

4140

Battery Positive Voltage

C11

--

--

Not Used

C12

L-BU

2265

Power Window Lockout Left Rear Signal

D1

OG

3540

Battery Positive Voltage

D2

BN

2509

Left Rear Park Lamps Supply Voltage

D3-D4

--

--

Not Used

D5

OG

3740

Battery Positive Voltage (UQA)

D8

TN

294

Door Lock Actuator Unlock Control

TN

294

Door Lock Actuator Unlock Control

D9

--

--

Not Used

D10

OG

4240

Battery Positive Voltage

D11

--

--

Not Used

D12

L-GN

2266

Power Window Lockout Right Rear Signal

E1

--

--

Not Used

E2

BN

2509

Left Rear Park Lamps Supply Voltage

E3

--

--

Not Used

E4

OG

3140

Battery Positive Voltage

OG

3140

Battery Positive Voltage

E5

L-GN

24

Backup Lamp Supply Voltage

L-GN

24

Backup Lamp Supply Voltage

E6-E8

--

--

Not Used

E9

YE

1187

Power Window Switch Left Rear Down Signal

E10-E11

--

--

Not Used

E12

GY/BK

1186

Power Window Switch Right Rear Up Signal

F1

YE

820

CHMSL Supply Voltage

F2

BN/WH

2609

Right Rear Park Lamps Supply Voltage

F3-F5

--

--

Not Used

F6

GY

295

Door Lock Actuator Lock Control

GY

295

Door Lock Actuator Lock Control

F7

--

--

Not Used

F8

BK

1350

Ground

F9

--

--

Not Used

F10

L-BU/BK

747

Left Rear Door Ajar Switch Signal

F11

--

--

Not Used

F12

WH

1185

Power Window Switch Left Rear Up Signal

Fuse Block - Rear C3


Object Number: 647947  Size: CH

Connector Part Information

  • OEM: 15319893
  • Service: 15319893
  • Description: 32-Way F Metri-Pack 280 Series (GY)

Terminal Part Information

  • Pins: A2, E4
  • Terminal/Tray: See Terminal Repair Kit
  • Core/Insulation Crimp: See Terminal Repair Kit
  • Release Tool/Test Probe: See Terminal Repair Kit
  • Pins: A5, B4, B6, C1, E1-E3, F6
  • Terminal/Tray: 12110844/4
  • Core/Insulation Crimp: E/C
  • Release Tool/Test Probe: 15315247/J-35616-4A (PU)

Fuse Block - Rear C3

Pin

Wire Color

Circuit No.

Function

A1

--

--

Not Used

A2

BK

1350

Ground

A3-A4

--

--

Not Used

A5

D-BU

2307

Passenger Air Bag On Indicator Control

A6

--

--

Not Used

B1-B3

--

--

Not Used

B4

D-BU

1353

RAP Supply Voltage (CF5)

B5

--

--

Not Used

B6

GY/BK

690

Courtesy Lamp Low Control

C1

D-GN

2308

Passenger Air Bag On Indicator Control

C2

--

--

Not Used

C5-C6

--

--

Not Used

D1-D2

--

--

Not Used

D5-D6

--

--

Not Used

E1

OG

3140

Battery Positive Voltage

E2

PK

639

Ignition 1 Voltage

E3

BN/WH

230

Instrument Panel Lamps Dimming Control

E4

OG

1740

Battery Positive Voltage (CF5)

E5-E6

--

--

Not Used

F1-F5

--

--

Not Used

F6

OG

1732

Courtesy Lamps Supply Voltage

Fuse Block - Rear C4


Object Number: 1391766  Size: CH

Connector Part Information

  • OEM: 15401345
  • Service: See Catalog
  • Description: 40-Way F GT 150 Series (BK)

Terminal Part Information

  • Terminal/Tray: See Terminal Repair Kit
  • Core/Insulation Crimp: See Terminal Repair Kit
  • Release Tool/Test Probe: N/A/N/A

Fuse Block - Rear C4

Pin

Wire Color

Circuit No.

Function

A1

--

2140

Battery Positive Voltage

A2

--

2140

Battery Positive Voltage

A3

--

748

Right Rear Door Ajar Switch Signal

A4

--

1134

Park Brake Switch Signal

A5

--

195

Door Lock Relay Control

A6

--

2265

Power Window Lockout Left Rear Control

A7

--

HD11

Not Used

A8

--

747

Left Rear Door Ajar Switch Signal

A9

--

LD14

Not Used

A10

--

LD16

Not Used

A11

--

1350

Ground

A12

--

1353

RAP Supply Voltage

A13

--

194

Door Unlock Relay Control

A14

--

1080

Park Lamp Relay Control

A15

--

LS05

Not Used

A16

--

1828

Not Used

A17

--

A12

Not Used

A18

--

992

Ignition 0 Voltage

A19

--

39

Ignition 1 Voltage

A20

--

541

Ignition 3 Voltage

B1

--

230

Instrument Panel Lamps Dimming Control

B2

--

230

Instrument Panel Lamps Dimming Control

B3

--

690

Courtesy Lamp Supply Voltage

B4

--

2240

Battery Positive Voltage

B5

--

1196

Power Window Switch Right Rear Up Signal

B6

--

2266

Power Window Lockout Right Rear Signal

B7

--

1188

Power Window Switch Right Rear Down Signal

B8

--

1185

Power Window Switch Left Rear Up Signal

B9

--

1187

Power Window Switch Left Rear Down Signal

B10

--

LD11

Not Used

B11

--

1350

Ground

B12

--

24

Backup Lamp Supply Voltage

B13

--

4440

Battery Positive Voltage

B14

--

1382

Not Used

B15

--

543

Accessory Voltage

B16

--

HS02

Not Used

B17

--

4040

Battery Positive Voltage

B18

--

1732

Inadvertent Power Courtesy Lamps Supply Voltage

B19

--

1977

Not Used

B20

--

LS03

Not Used