GM Service Manual Online
For 1990-2009 cars only

Removal Procedure

  1. Remove the right rear seat cushion. Refer to Rear Seat Cushion Replacement.
  2. Remove the communication interface module. Refer to Communication Interface Module Replacement.

  3. Object Number: 741626  Size: SH
  4. Using a flat bladed tool, release the retaining tab on the upper bracket.
  5. Slide the upper bracket inboard until the retaining tabs are released from the processor bracket.
  6. Remove the upper bracket from the processor bracket.

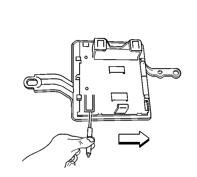
  7. Object Number: 742195  Size: SH
  8. Remove the nut that retains the processor bracket to the rear seat back stud.
  9. Remove the processor bracket from the vehicle.

Installation Procedure


    Object Number: 742195  Size: SH
  1. Install the processor bracket to the rear seat studs.
  2. Notice: Refer to Fastener Notice in the Preface section.

  3. Install the nut to the rear seat back stud.
  4. Tighten
    Tighten the nut to 45 N·m (33 lb ft).


    Object Number: 741626  Size: SH
  5. Position the upper bracket to the processor bracket.
  6. Slide the upper bracket outboard until all the retaining tabs are seated to the processor bracket.
  7. Install the communication interface module. Refer to Communication Interface Module Replacement.
  8. Install the right rear seat cushion. Refer to Rear Seat Cushion Replacement.