GM Service Manual Online
For 1990-2009 cars only
  1. Do a safety check before proceeding. See Changing a Flat Tire for more information.

  2. Object Number: 806966  Size: A2
  3. Using the wheel wrench, loosen all the wheel nuts by turning the nuts one turn counterclockwise. Do not remove them yet.
  4. Turn the jack adjusting knob clockwise by hand to raise the jack lift head.
  5. Place the handle, extension, and wheel wrench onto the jack.
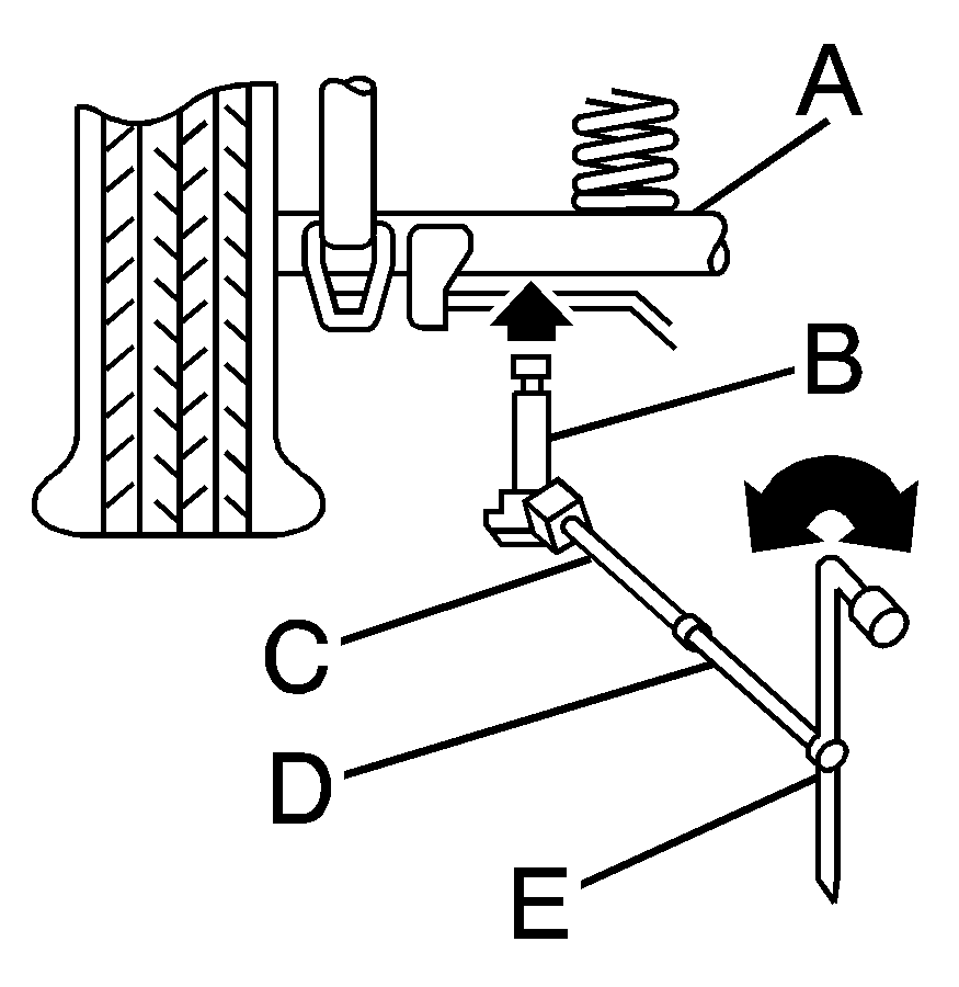
  6. Front Position


    Object Number: 806946  Size: A2

    Rear Position


    Object Number: 1251624  Size: A2

      Front Frame/Rear Axle

      Jack

      Handle

      Extension(s)

      Wheel Wrench

  7. Place the jack in the appropriate position nearest the flat tire.
  8. Caution: Getting under a vehicle when it is jacked up is dangerous. If the vehicle slips off the jack, you could be badly injured or killed. Never get under a vehicle when it is supported only by a jack.

    Caution: Raising your vehicle with the jack improperly positioned can damage the vehicle and even make the vehicle fall. To help avoid personal injury and vehicle damage, be sure to fit the jack lift head into the proper location before raising the vehicle.


    Object Number: 1819487  Size: B3
  9. Raise the vehicle by turning the jack handle clockwise. Raise the vehicle far enough off the ground so there is enough room for the spare tire to fit.

  10. Object Number: 806071  Size: A3
  11. Remove all the wheel nuts and the flat tire.
  12. Caution: Rust or dirt on a wheel, or on the parts to which it is fastened, can make wheel nuts become loose after time. The wheel could come off and cause an accident. When changing a wheel, remove any rust or dirt from places where the wheel attaches to the vehicle. In an emergency, use a cloth or a paper towel to do this; but be sure to use a scraper or wire brush later, if needed, to get all the rust or dirt off. See Changing a Flat Tire .


    Object Number: 811105  Size: A2

    Remove any rust or dirt from the wheel bolts, mounting surfaces and spare wheel.

  13. Place the spare tire on the wheel-mounting surface.
  14. Caution: Never use oil or grease on bolts or nuts because the nuts might come loose. The vehicle's wheel could fall off, causing a crash.

  15. Put the nuts on by hand. Make sure the cone shaped end is toward the wheel.
  16. Tighten each nut by hand until the wheel is held against the hub. If a nut cannot be turned by hand, use the wheel wrench and see your dealer as soon as possible.

  17. Object Number: 1819502  Size: B3
  18. Lower the vehicle by turning the jack handle counterclockwise. Lower the jack completely.
  19. Caution: Incorrect wheel nuts or improperly tightened wheel nuts can cause the wheel to come loose and even come off. This could lead to an accident. Be sure to use the correct wheel nuts. If you have to replace them, be sure to get new original equipment wheel nuts. Stop somewhere as soon as you can and have the nuts tightened with a torque wrench to the proper torque specification. See Capacities and Specifications for wheel nut torque specification.

    Notice: Improperly tightened wheel nuts can lead to brake pulsation and rotor damage. To avoid expensive brake repairs, evenly tighten the wheel nuts in the proper sequence and to the proper torque specification. See Capacities and Specifications for the wheel nut torque specification.


    Object Number: 808015  Size: A2

    Use the wrench to tighten the wheel nuts firmly in a crisscross sequence as shown.