GM Service Manual Online
For 1990-2009 cars only

2-Way Remote Start and Door Lock Transmitter Package Installation AP3

Accessories Part Number

19156553

Kit Usage

This kit is designed to add 2-way remote start with extended range and enhanced functionality. It is for vehicles equipped with remote vehicle start from the factory (vehicles with option code AP3). If the vehicle is not equipped with remote vehicle start, it doesn’t have the hardware needed. (The hood ajar switch and wiring is not installed.) Use a kit for vehicles equipped with option code AU0.

Kit Contents

Qty

Description

1

Remote Control Door Lock, 2-Way Remote Start and Information Display Receiver (2-Way RCDLR)

1

2-Way Remote Start and Door Lock Transmitter (With Information Display)

1

2-Way Remote Start, Door Lock and Information Display Antenna

1

Factory Style 1-Way Transmitter

1

Service Part ID Label

1

2-Way Advanced Remote Start Owner Manual

1

Felt/Flocking Tape (added as running change)

Special Tools

    • Scan Tool with capability of communicating on GMLAN
    • Service Programming System (SPS - TIS2WEB or equivalent)
    • J-46079 Tire Pressure Monitor Diagnostic Tool
    • Surface Cleaner (50 percent isopropyl alcohol, FS-1082 hi-flash naphtha or equivalent)
    • Glass Primer and Adhesion Promoter GM P/N 12378555 (Canadian P/N 88901239)
    • If not included in kit, Felt/Flocking Tape BSR P/N KT13296 (can be purchased from Kent Automotive by calling 1-800-654-6333 (in Canada, 1-800-563-1717))

Procedure

    Important: Please review this entire procedure before trying to perform it.

  1. Using the scan tool, perform the copy and paste TPM Information procedure. This will extract the TPM tire type information as well as the sensor data from the existing RCDLR prior to its replacement and store this information in the scan tool. After RCDLR replacement, the tire type and sensor data stored in the scan tool is written to the new RCDLR, negating the need to perform the tire type setup and sensor learn procedure. This must be performed BEFORE removing the old RCDLR. Refer to Remote Control Door Lock Receiver Programming and Setup.
  2. Remove the rear window shelf trim panel. Refer to Rear Window Shelf Trim Panel Replacement.

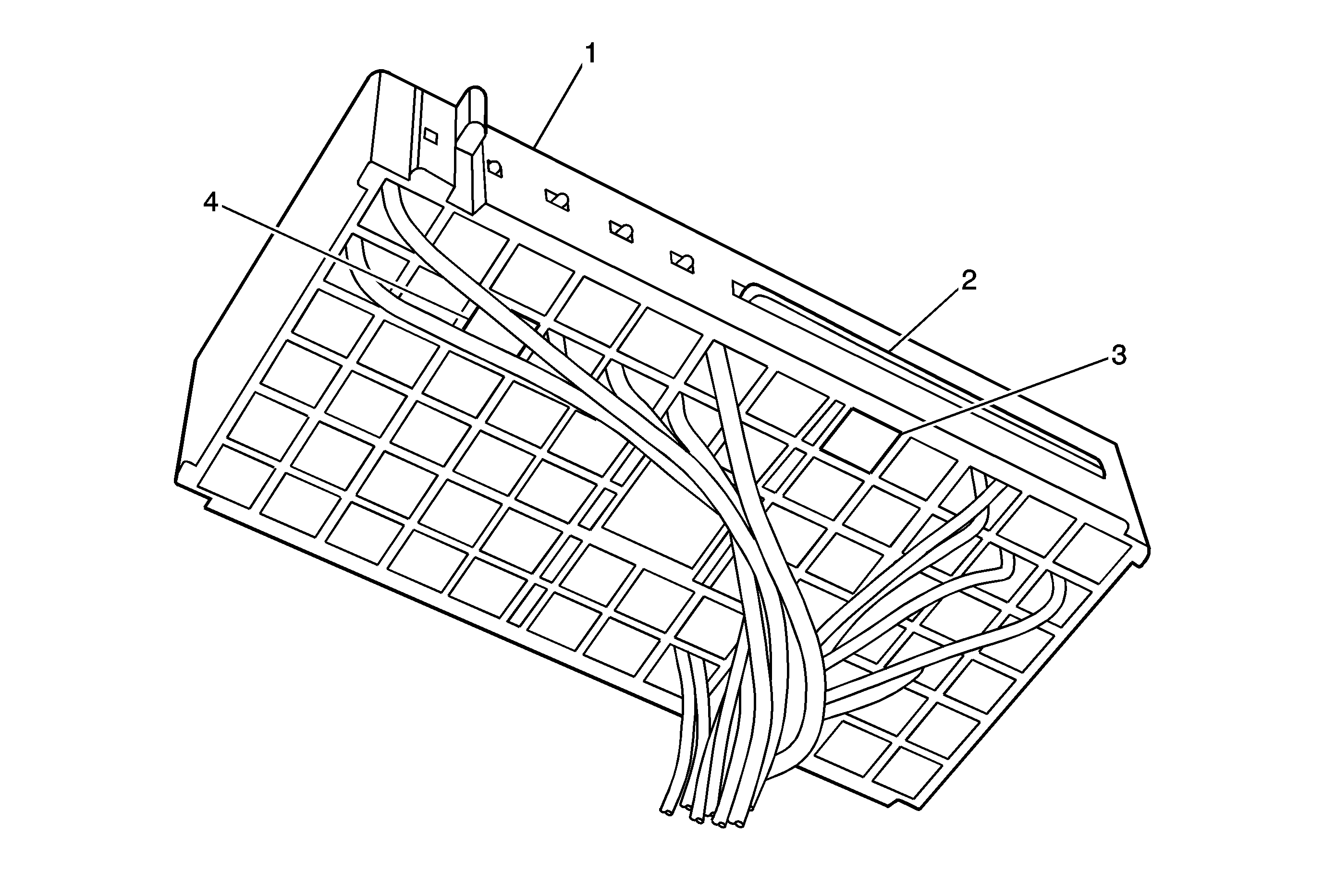
  3. Object Number: 2129164  Size: MF

    Important: Felt/flocking tape must be applied to the rearward RCDLR mounting slot to prevent rattles with rear speaker bass.

  4. Remove the factory RCDLR (2). Refer to Remote Control Door Lock Receiver Replacement.
  5. Clean the sheet metal surface around the RCDLR single long (rearward) mounting slot with a surface cleaner (50 percent isopropyl alcohol, FS-1082 hi-flash naphtha or equivalent).
  6. Adhere the felt/flocking tape included (if not included in the kit, cut a 23x23 mm (15/16x15/16 in) piece of felt/flocking tape BSR P/N KT13296) (1) to the rearward RCDLR mounting slot. Make sure the flocking tape wraps the edge of the slot.
  7. Install the 2-Way RCDLR. Do not program or reassemble yet.
  8. Lower the rear of the headliner. Refer to Headlining Trim Panel Replacement.
  9. Clean the top blackout area on the inside of the rear glass with a surface cleaner (50 percent isopropyl alcohol, FS-1082 hi-flash naphtha or equivalent).
  10. Dry the glass thoroughly using a lint-free cloth.

  11. Object Number: 2122493  Size: MF

    Important: 

       • The adhesion promoter must be used to assure adequate bonding of the antenna.
       • Mask off or protect areas before applying the adhesion promoter.

  12. Apply Glass Adhesion Promoter GM P/N 12378555 (Canadian P/N 88901239) to the rear window in the area where you will install the antenna. Follow the Glass Adhesion Promoter instructions on the product label. The antenna will be mounted in the center of the vehicle and at a=40 mm (1 9/16 in) above the bottom of the solid blackout area.
  13. Important: 

       • Position the antenna according to the figure provided. A small change in placement will decrease the operating range of the system.
       • Do not touch the adhesive pad on the antenna.

  14. Remove the protective film from the adhesive pad on the antenna.
  15. Align the antenna at the center of the vehicle according to the figure, using a=40 mm above the bottom of the solid blackout area.
  16. Press firmly all along the antenna, including all four corners of the adhesive pad, in order to ensure proper adhesion to the window.
  17. Hold pressure on the antenna for 10-30 seconds.

  18. Object Number: 2122500  Size: MF
  19. Route the antenna cable to the passenger side, and secure the cable to the rear window upper roof structure with three adhesive wire-wraps (1).

  20. Object Number: 2130143  Size: MF
  21. Secure the antenna cable to the body wiring harness on the right body side inner with three tie wraps (1 and 2).

  22. Object Number: 2130142  Size: MF
  23. Secure the antenna cable to the body wiring harness on the rear window panel with one tie wrap (1). Use a=80 mm (3 1/8 in).
  24. Connect the antenna to the 2-Way RCDLR.
  25. Important: Excess antenna cable length must be looped in a "figure 8" no less than 100 mm (4 in) in length for the best performance of the system.

  26. Loop the excess antenna cable in a "Figure 8" at least 100 mm (4 in) long and secure it to the body harness with two tie wraps (2).
  27. Program the 2-Way RCDLR. Refer to Remote Control Door Lock Receiver Programming and Setup. Program the 2-way transmitter and the factory styled 1-way transmitter included in the kit to the 2-way RCDLR.
  28. Turn the ignition off.
  29. Discard the vehicle factory transmitters, as they will no longer be functional.
  30. Apply the service part ID label to the bottom of the existing service parts ID label. This label is for future transmitter service part identification.
  31. 23.1. The surface temperature should not be less than 65°F (21°C).
    23.2. Clean the surface with a suitable solvent (50 percent isopropyl alcohol, FS-1062 hi-flash naphtha or equivalent).
    23.3. Dry the surface with a clean cloth.
    23.4. Peel the liner from the backside of the label, being careful not to touch the adhesive or allow dirt or any foreign material to come in contact with it.
    23.5. Carefully align the label to the surface, press firmly, and smooth out.
  32. Turn the ignition on.
  33. Using the scan tool, retrieve any diagnostic trouble codes (DTCs) from all of the modules.
  34. Clear all DTCs.
  35. Remove the scan tool.
  36. Operate the 2-way and factory style 1-way transmitters in order to verify correct system operation. Refer to Keyless Entry System Description and Operation. Press a command button with the vehicle ignition ON in order to synchronize the 2-way transmitter clock to the vehicle clock.
  37. Reassemble. Refer to Remote Control Door Lock Receiver Replacement , Rear Window Shelf Trim Panel Replacement , and Headlining Trim Panel Replacement.
  38. Drive the vehicle above 25 mph for at least two minutes. This is to update the tire pressure displays.
  39. Add the transmitters to the customer key rings.
  40. Place the 2-way Advanced Remote Start owner manual in instrument panel compartment.
  41. Keep the vehicle dry. Allow 6-8 hours, at 15°C (60°F), for the antenna adhesive to cure after installation.

2-Way Remote Start and Door Lock Transmitter Package Installation AU0

Accessories Part Number

17802085

Kit Usage

This kit is designed to add 2-way remote start with extended range and enhanced functionality. It is for vehicles not equipped with remote vehicle start from the factory, for vehicles with option code AU0. If the vehicle is equipped with remote vehicle start, use a kit for a vehicle equipped with option code AP3. The vehicle must have an automatic transmission. Adding remote start requires installation of a new hood latch and hood switch harness, which are included in this kit. The vehicle also needs to be reconfigured. This is done with a service programming system (SPS). The installer needs to call the Techline Customer Support Center (TCSC). The TCSC will ask for the vehicle identification number (VIN) and the authorization code from the kit. The authorization code is good for only one specific VIN.

Kit Contents

Qty

Description

1

Remote Control Door Lock, 2-Way Remote Start and Information Display Receiver (2-Way RCDLR)

1

2-Way Remote Start and Door Lock Transmitter (With Information Display)

1

2-Way Remote Start, Door Lock and Information Display Antenna

1

Factory Style 1-Way Transmitter

1

Service Part ID Label

1

Installation Addendum with an Authorization Code Label

1

2-Way Advanced Remote Start Owner Manual

1

Hood Latch

1

Hood Switch Wiring Harness

1

Felt/Flocking Tape (added as running change)

Special Tools

    • Scan Tool with capability of communicating on GMLAN
    • Service Programming System (SPS - TIS2WEB or equivalent)
    • J-46079 Tire Pressure Monitor Diagnostic Tool
    • Surface Cleaner (50 percent isopropyl alcohol, FS-1082 hi-flash naphtha or equivalent)
    • Glass Primer and Adhesion Promoter GM P/N 12378555 (Canadian P/N 88901239)
    • If not included in kit, Felt/Flocking Tape BSR P/N KT13296 (can be purchased from Kent Automotive by calling 1-800-654-6333 (in Canada, 1-800-563-1717))

Procedure

    Important: 

       • Please review this entire procedure before trying to perform it.
       • When calling the TCSC, you must use the authorization code from the kit.

  1. Verify the vehicle has the AU0 option and an automatic transmission. Call TCSC 1-800-828-6860 (English), 800-503-3222 (French), or 248-265-0840 (Spanish) to obtain programming instructions to add the remote start feature. You must have the vehicle VIN that will be upgraded and the authorization code from the kit.
  2. Using the Scan Tool and SPS terminal, reconfigure the vehicle for remote start. Use the method called out by the TCSC. Refer to Service Programming System (SPS).
  3. Using the scan tool, perform the copy and paste TPM Information procedure. This will extract the TPM tire type information as well as the sensor data from the existing RCDLR prior to its replacement and store this information in the scan tool. After RCDLR replacement, the tire type and sensor data stored in the scan tool is written to the new RCDLR, negating the need to perform the tire type setup and sensor learn procedure. This must be performed BEFORE removing the old RCDLR. Refer to Remote Control Door Lock Receiver Programming and Setup.
  4. Remove the hood latch and install the new latch (equipped with the hood ajar switch). See Hood Primary and Secondary Latch Replacement.

  5. Object Number: 2122605  Size: MF
  6. Connect the hood switch wiring harness (2) to the hood switch (3) and route the harness along the hood release cable. Secure the harness with one integral tie wrap (1).
  7. Route the hood switch wiring harness into the engine compartment along the hood release cable under the radiator support.

  8. Object Number: 2122608  Size: MF
  9. Secure the hood switch wiring harness with one integral tie wrap (3) to the engine wiring harness.
  10. Remove the underhood electrical center. Refer to Underhood Electrical Center or Junction Block Replacement.
  11. Remove the X3 connector (1) from the battery tray.

  12. Object Number: 2122614  Size: MF
  13. Remove the TPAs (2) from connector X3, one on each side of the connector.
  14. Remove the back cover from the connector X3 by disengaging the four snaps.
  15. Taking note of the single pin locator pin (1) on the side of the connector, insert the purple wire, labeled A5, into the cavity A5 (3) of the X3 connector.
  16. Insert the pink/black wire, labeled B10 into cavity B10 (4) of the X3 connector.
  17. Reinstall the TPAs (2) and back cover to the connector X3.
  18. Press down and snap all of the electrical center connectors into the battery tray.

  19. Object Number: 2122625  Size: MF
  20. Route the hood switch wiring harness ground ring terminal to G101 (1) on the upper radiator support.
  21. Notice: Refer to Fastener Notice in the Preface section.

  22. Remove the G101 ground nut, install the hood switch wiring harness ground ring terminal (2) under the existing ring terminal, and secure with original nut.
  23. Tighten
    Tighten the nut to 10 N·m (89 lb in).

  24. Reassemble the underhood electrical center. Refer to Underhood Electrical Center or Junction Block Replacement.
  25. Remove the rear window shelf trim panel. Refer to Rear Window Shelf Trim Panel Replacement.

  26. Object Number: 2129164  Size: MF

    Important: Felt/Flocking tape must be applied to the rearward RCDLR mounting slot to prevent rattles with rear speaker bass.

  27. Remove the factory RCDLR (2). Refer to Remote Control Door Lock Receiver Replacement.
  28. Clean the sheet metal surface around the RCDLR single long (rearward) mounting slot with a surface cleaner (50 percent isopropyl alcohol, FS-1082 hi-flash naphtha or equivalent).
  29. Adhere the felt/flocking tape included (if not included in the kit, cut a 23 x 23 mm (15/16 x 15/16 in) piece of felt/flocking tape BSR P/N KT13296) (1) to the rearward RCDLR mounting slot. Make sure the flocking tape wraps the edge of the slot.
  30. Install the 2-Way RCDLR. Do not program or reassemble yet.
  31. Lower the rear of the headliner. Refer to Headlining Trim Panel Replacement.
  32. Clean the top blackout area on the inside of the rear glass with a surface cleaner (50 percent isopropyl alcohol, FS-1082 hi-flash naphtha or equivalent).
  33. Dry the glass thoroughly using a lint-free cloth.

  34. Object Number: 2122493  Size: MF

    Important: 

       • The adhesion promoter must be used to assure adequate bonding of the antenna.
       • Mask off or protect areas before applying the adhesion promoter.

  35. Apply Glass Adhesion Promoter GM P/N 12378555 (Canadian P/N 88901239) to the rear window in the area where you will install the antenna. Follow the Glass Adhesion Promoter instructions on the product label. The antenna will be mounted in the center of the vehicle and at a=40 mm (1 9/16 in) above the bottom of the solid blackout area.
  36. Important: 

       • Position the antenna according to the figure provided. A small change in placement will decrease the operating range of the system.
       • Do not touch the adhesive pad on the antenna.

  37. Remove the protective film from the adhesive pad on the antenna.
  38. Align the antenna at the center of the vehicle according to the figure, using a=40 mm (1 9/16 in) above the bottom of the solid blackout area.
  39. Press firmly all along the antenna, including all four corners of the adhesive pad, in order to ensure proper adhesion to the window.
  40. Hold pressure on the antenna for 10-30 seconds.

  41. Object Number: 2122500  Size: MF
  42. Route the antenna cable to the passenger side, and secure the cable to the rear window upper roof structure with three adhesive wire-wraps (1).

  43. Object Number: 2130143  Size: MF
  44. Secure the antenna cable to the body wiring harness on the right body side inner with three tie wraps (1 and 2).

  45. Object Number: 2130142  Size: MF
  46. Secure the antenna cable to the body wiring harness on the rear window panel with one tie wrap (1). Use a=80 mm (3 1/8 in).
  47. Connect the antenna to the 2-way RCDLR.
  48. Important: Excess antenna cable length must be looped in a "figure 8" no less than 100 mm (4 in) in length for the best performance of the system.

  49. Loop the excess antenna cable in a "Figure 8" at least 100 mm (4 in) long and secure to the body harness with two tie wraps (2).
  50. Program the 2-way RCDLR. Refer to Remote Control Door Lock Receiver Programming and Setup. Program the 2-way transmitter and the factory styled 1-way transmitter included in the kit to the 2-way RCDLR.
  51. Turn the ignition off.
  52. Discard the vehicle factory transmitters, as they will no longer be functional.
  53. Apply the service part ID label to the bottom of the existing service parts ID label. This label is for future transmitter service part identification.
  54. 40.1. The surface temperature should not be less than 65°F (21°C).
    40.2. Clean the surface with a suitable solvent (50 percent isopropyl alcohol, FS-1062 hi-flash naphtha or equivalent).
    40.3. Dry the surface with a clean cloth.
    40.4. Peel the liner from the backside of the label, being careful not to touch the adhesive or allow dirt or any foreign material to come in contact with it.
    40.5. Carefully align the label to the surface, press firmly, and smooth out.
  55. Turn the ignition on.
  56. Using the scan tool, retrieve any diagnostic trouble codes (DTCs) from all of the modules.
  57. Clear all DTCs.
  58. Remove the scan tool.
  59. Operate the 2-way and factory style 1-way transmitters in order to verify correct system operation. Refer to Keyless Entry System Description and Operation. Press a command button with the vehicle ignition ON in order to synchronize the 2-way transmitter clock to the vehicle clock.
  60. Reassemble. Refer to Remote Control Door Lock Receiver Replacement , Rear Window Shelf Trim Panel Replacement , and Headlining Trim Panel Replacement.
  61. Drive the vehicle above 25 mph for at least two minutes. This is to update the tire pressure displays.
  62. Add the transmitters to the customer key rings.
  63. Place the 2-way Advanced Remote Start owner manual in instrument panel compartment.
  64. Keep the vehicle dry. Allow 6-8 hours, at 15°C (60°F), for the antenna adhesive to cure after installation.