GM Service Manual Online
For 1990-2009 cars only
Figure 1:

Front Lamps


Object Number: 1832294  Size: LF
(1)Marker Lamp - RF
(2)Park/Turn Signal Lamp - RF
(3)Headlamp - Low Beam - Right
(4)Headlamp - High Beam - Right
(5)Headlamp - High Beam - Left
(6)Park/Turn Signal Lamp - LF
(7)Headlamp - Low Beam - Left
(8)Marker Lamp - LF
(9)Repeater Lamp - LF (Right Similar)
(10)Fog Lamp - LF (T96)
(11)Front Fascia
(12)Fog Lamp - RF (T96)
Figure 2:

Park Brake and Pedal Assemblies


Object Number: 1832316  Size: LF
(1)Park Brake Switch
(2)Adjustable Pedal Module (JF4)
(3)Brake Pedal Position Sensor
(4)Adjustable Pedal Position Sensor (JF4)
(5)Adjustable Accelerator Pedal Position Motor (JF4)
(6)Accelerator Pedal Position (APP) Sensor
(7)Floor Panel
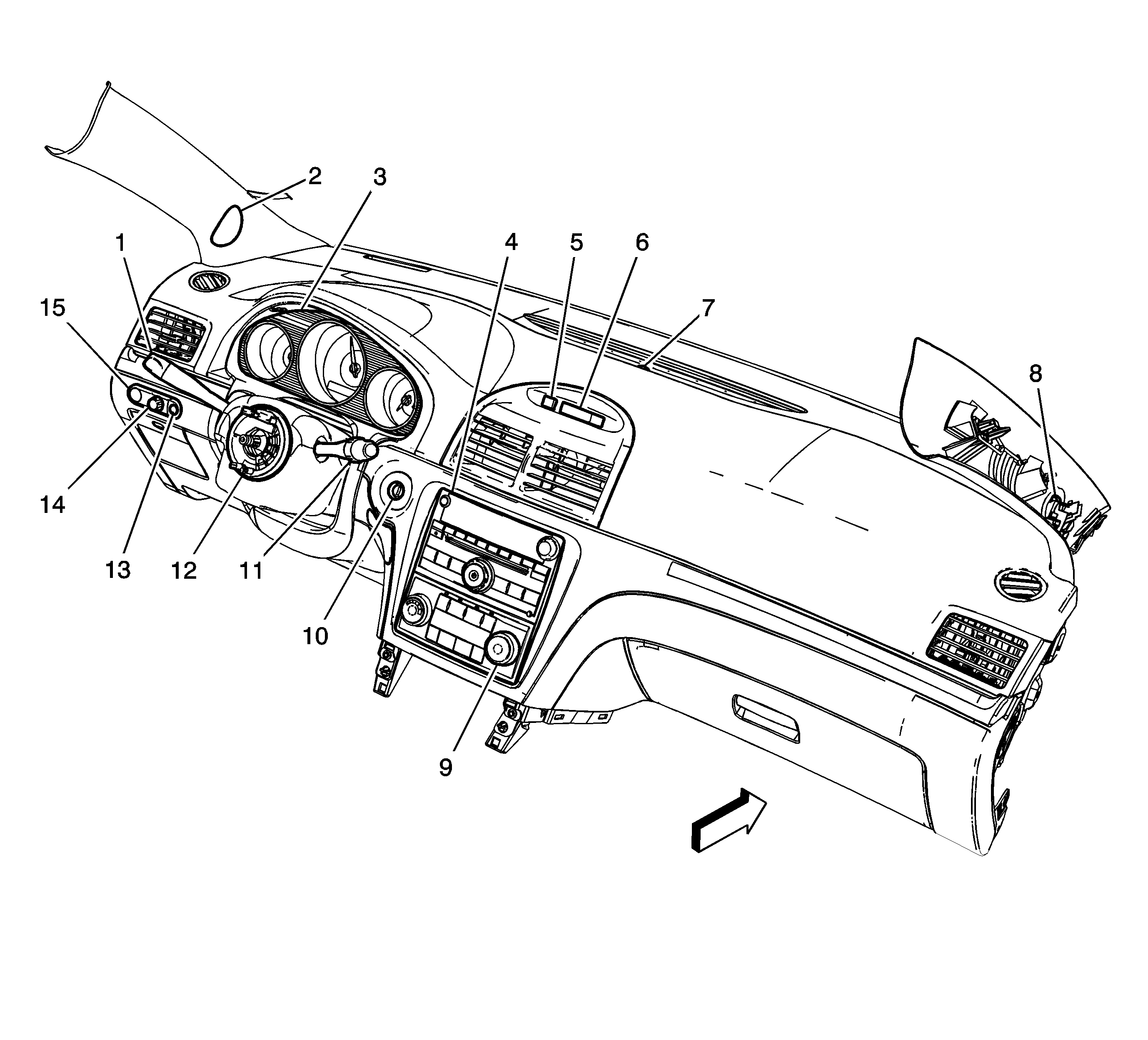
Figure 3:

Front of the I/P


Object Number: 1832299  Size: LF
(1)Turn Signal/Multifunction Switch
(2)Speaker - LF Tweeter
(3)Instrument Panel Cluster (IPC)
(4)Radio
(5)Hazard Switch
(6)Inflatable Restraint PASSENGER AIR BAG ON/OFF Indicator
(7)Ambient Light Sensor (C60) Sunload Sensor (C68)
(8)Speaker - RF Tweeter
(9)HVAC Control Module
(10)Ignition Switch
(11)Windshield Wiper/Washer Switch
(12)Inflatable Restraint Steering Wheel Module Coil
(13)Fog Lamp Switch (T96)
(14)I/P Dimmer Switch
(15)Adjustable Pedal Position Switch (JF4)
Figure 4:

Driver Door


Object Number: 1832313  Size: LF
(1)Door Frame
(2)Outside Rearview Mirror - Driver
(3)Outside Rearview Mirror Switch
(4)Courtesy Lamp - Left Front Door
(5)Door Lock Switch - Driver
(6)Window Motor - Driver
(7)Speaker - LF Door
(8)Rear Compartment Lid Release Switch
(9)Window Switch - Driver
(10)Inflatable Restraint Side Impact Sensor - Left (AY0)
(11)Door Latch Assembly - Driver
Figure 5:

Passenger Door


Object Number: 1832314  Size: LF
(1)Outside Rearview Mirror - Passenger
(2)Door Frame
(3)Door Latch Assembly - Passenger
(4)Inflatable Restraint Side Impact Sensor - Right (AY0)
(5)Window Switch - Passenger
(6)Speaker - RF Door
(7)Window Motor - Passenger
(8)Door Lock Switch - Passenger
(9)Courtesy Lamp - Right Front Door
Figure 6:

Shifter Assembly


Object Number: 1832295  Size: LF
(1)Shift Lever
(2)C303
(3)Transmission Range Indicator Lamp
(4)A/T Shift Lock Control Solenoid
Figure 7:

Headliner Components


Object Number: 1832264  Size: LF
(1)Headliner
(2)Dome/Reading Lamp (w/o C3Y)
(3)Sunshade Mirror Lamp - Right (DH6)
(4)Sunroof Switch (CF5)/Sunroof Shade Switch (C3Y)
(5)Inside Rearview Mirror
(6)OnStar Button Assembly (UE1)
(7)Courtesy/Reading Lamps - Front (C95)
(8)Cellular Telephone Microphone (UE1)
(9)Sunshade Mirror Lamp - Left (DH6)
Figure 8:

Rear Shelf Components


Object Number: 1832300  Size: LF
(1)Rear Compartment Courtesy Lamp
(2)Remote Control Door Lock Receiver (RCDLR) (AUO)
(3)Speaker - LR
(4)Rear Shelf
(5)Digital Radio Receiver (U2K)
(6)Speaker - RR
Figure 9:

Rear of the Vehicle


Object Number: 1832293  Size: LF
(1)Rear Window Defogger Grid
(2)Radio Rear Window Antenna
(3)Center High Mounted Stop Lamp (CHMSL)
(4)Rear Window Defogger Grid
(5)Turn Signal Lamp - RR
(6)Marker Lamp - RR
(7)Tail/Stop Lamp - Right
(8)Backup Lamp - Right
(9)License Lamp
(10)Backup Lamp - Left
(11)Tail/Stop Lamp - Left
(12)Marker Lamp - LR
(13)Turn Signal Lamp - LR