Callout | Component Name |
|---|---|
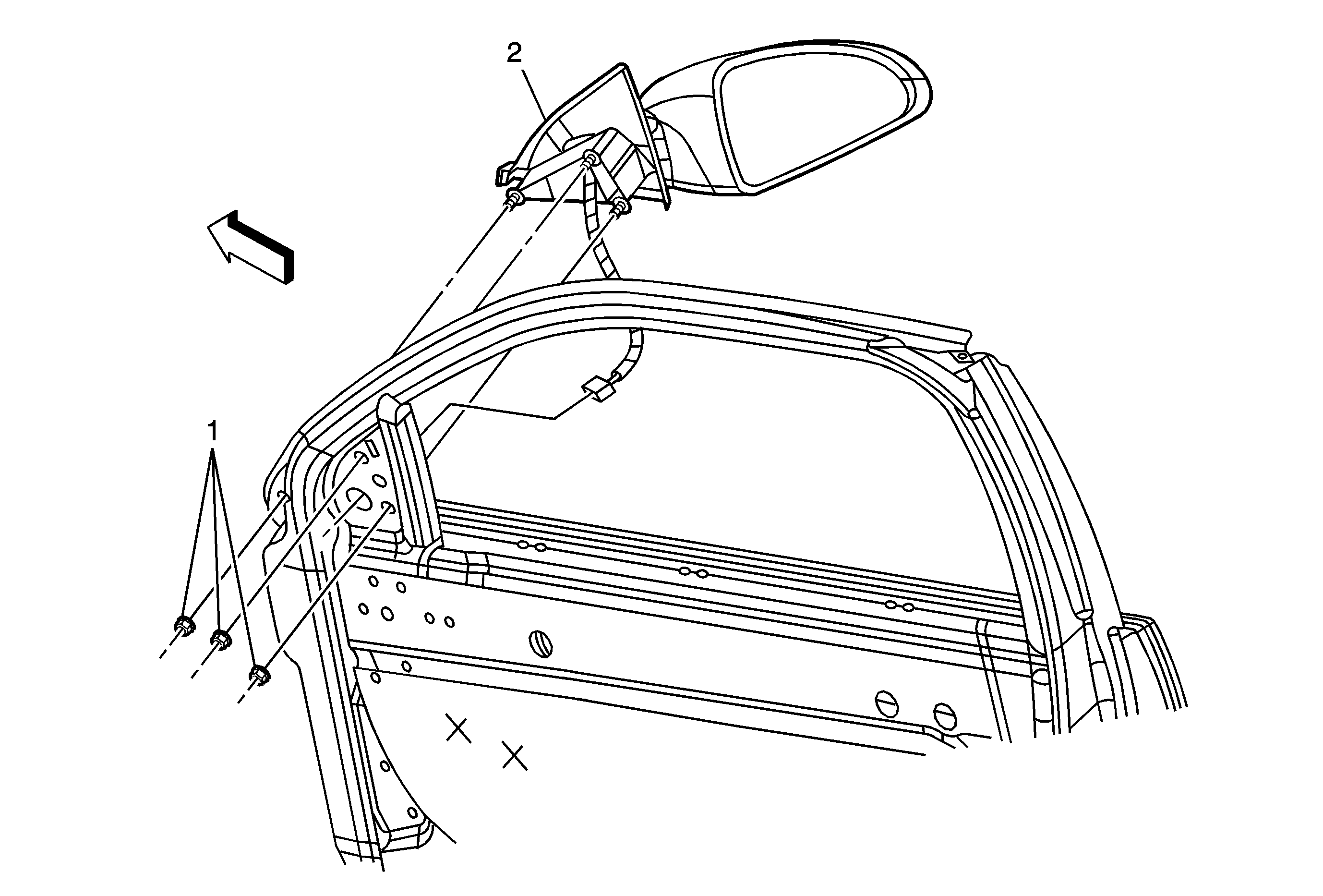
Preliminary ProcedureRemove the interior trim panel. Refer to Front Side Door Trim Panel Replacement . | |
1 | Outside Rearview Mirror Nut (Qty: 3) Notice: Refer to Fastener Notice in the Preface section. Tip Tighten |
2 | Outside Rearview Mirror Assembly Tip |