GM Service Manual Online
For 1990-2009 cars only

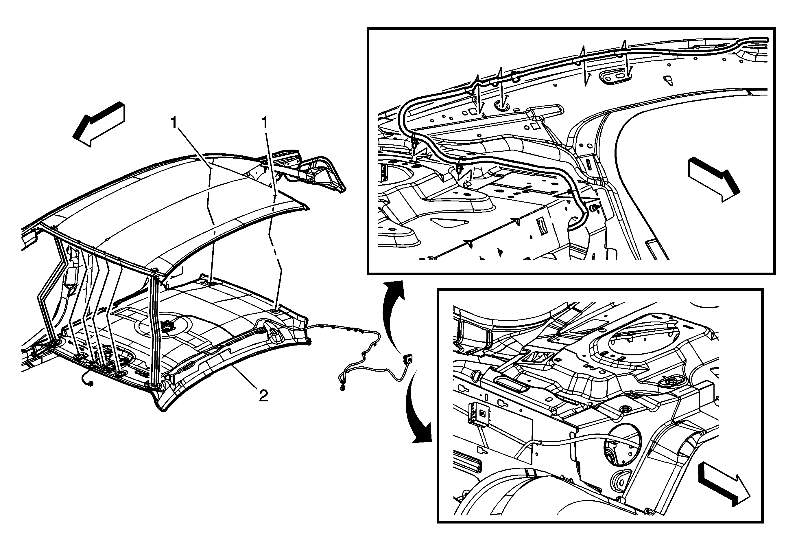
Object Number: 1819398  Size: MF

Callout

Component Name

Warning: Do not attempt to repair or alter the head impact energy-absorbing material glued to the headliner or to the garnish trims. If the material is damaged, replace the headliner and/or the garnish trim. Failure to do so could result in personal injury.

Caution: Use care when working around the head curtain inflator module. Sharp tools may puncture the curtain airbag. If the head curtain inflator module is damaged in any way, it must be replaced.

Caution: If a vehicle is equipped with a head curtain inflator module ensure that the inflator module and tether are undamaged. If tether or curtain airbag are damaged in any way, they must be replaced.

Preliminary Procedures

  1. Disable the SIR system. Refer to SIR Disabling and Enabling.
  2. Remove the windshield garnish moldings. Refer to Windshield Pillar Garnish Molding Replacement.
  3. Remove the sunshade assemblies. Refer to Sunshade Replacement.
  4. Remove the sunshade anchors. Refer to Sunshade Anchor Replacement.
  5. Remove the overhead console assembly. Refer to Roof Console Replacement.
  6. Remove the dome lamp assembly, if equipped. Refer to Dome Lamp Replacement.
  7. Remove the coat hooks. Refer to Coat Hook Replacement.
  8. Remove the sunroof finishing lace, if equipped. Refer to Sunroof Opening Trim Finish Lace Replacement.
  9. Remove the rear corner upper garnish moldings. Refer to Body Rear Corner Upper Garnish Molding Replacement.
  10. Remove the center pillar upper molding. Refer to Center Pillar Upper Garnish Molding Replacement.
  11. Remove the front passenger seat. Refer to Front Seat Replacement - Bucket
  12. Move the driver seat fully forward and recline.
  13. Remove the rear seat bolster assembly. Refer to Rear Split Folding Seat Back Bolster Replacement.
  14. Remove the left side rear compartment trim panel. Refer to Rear Compartment Trim Panel Replacement.

1

Headliner Trim Panel Retainer (Qty: 2)

2

Headliner Trim Panel Assembly

Procedure

Disconnect electrical connectors.

Tip
Prior to removal, note routing of wire harness to aid in assembly and to ensure proper installation.