GM Service Manual Online
For 1990-2009 cars only

Special Tools

    • KM-422 Installer
    • KM-845 Suction Device
    • KM-6361 Feeler Gage Set
    • MK-6628 Locking Tool

Removal Procedure


    Object Number: 1947355  Size: SH
  1. Remove the rear toothed belt cover. Refer to Timing Belt Rear Cover Replacement .
  2. Remove MK-6628 .
  3. Counterhold at hexagon of camshafts.

  4. Remove the 1st camshaft bearing support.
  5. • Remove the 4 bolts.
    • Note removal sequence 1-4.
    • Release the bearing support by striking it gently with a plastic hammer.

    Object Number: 1947352  Size: SH

    Important: Mark camshaft bearing caps before removal.

  6. Remove the exhaust camshaft.
  7. • Detach the camshaft bearing caps 2-5 working from outside to inside in a spiral in steps of 1/2 up to 1 turn.
    • Remove the camshaft bearing cover from the cylinder head and take out the camshaft.

    Important: Mark camshaft bearing caps before removal.

  8. Remove the intake camshaft.
  9. • Detach the camshaft bearing caps 2-5 working from outside to inside in a spiral in steps of 1/2 up to 1 turn.
    • Remove the camshaft bearing cover from the cylinder head and take out the camshaft.
  10. Detach the seal rings from the camshafts.

Inspection Procedure

    Notice: Refer to Fastener Notice in the Preface section.


    Object Number: 1937161  Size: SH
  1. Install the exhaust camshaft.
  2. • Coat with MoS 2 lubricating paste.

       Important: Note the identification marking on the camshaft bearing cover.

    • Insert the camshaft.
    • Install the camshaft bearing cover.
    • Tighten the camshaft bearing caps 2-5 in a spiral from the inside to the outside.

    Tighten
    Tighten the camshaft bearing caps to 8 N·m (70 lb in).

    Important: If none of the camshafts were replaced, continue at step 3 of the Installation Procedure.

  3. Install the intake camshaft.
  4. • Coat with MoS 2 lubricating paste.

       Important: Note the identification marking on the camshaft bearing cover.

    • Insert the camshaft.
    • Install the camshaft bearing cover.
    • Tighten the camshaft bearing caps 2-5 in a spiral from the inside to the outside.

    Tighten
    Tighten the camshaft bearing caps to 8 N·m (70 lb in).

  5. Install the 1st camshaft bearing support.
  6. Tighten
    Tighten the 4 bolts to 8 N·m (70 lb in).

    Important: It is not necessary to replace the sealing sleeve and bolt when inspecting the valve lash.

  7. Install the intake camshaft adjuster.
  8. Install the bolt.

    Important: It is not necessary to replace the sealing sleeve and bolt when inspecting the valve lash.

  9. Attach the exhaust camshaft adjuster.
  10. Install the bolt.

  11. Tighten the intake camshaft adjuster.
  12. Tighten
    Tighten the intake camshaft adjuster to 65 N·m (48 lb ft).

    Counterhold at camshaft hexagon.

  13. Tighten the exhaust camshaft adjuster.
  14. Tighten
    Tighten the exhaust camshaft adjuster to 65 N·m (48 lb ft).

    Counterhold at camshaft hexagon.

  15. When replacing the intake camshaft, inspect the valve lash of the intake valves.
  16. Inspect the 2 valve lash, intake valve cylinder 1.
  17. • Turn the intake camshaft in the direction of engine rotation by the bolt of the drive gear until the cams of cylinder 1 are in the test position.
    • Inspect the valve lash with KM-6361 .
    • Mark down result.
  18. Inspect the 2 valve lash, intake valve cylinder 3.
  19. • Turn the intake camshaft in the direction of engine rotation by the bolt of the drive gear until the cams of cylinder 3 are in the test position.
    • Inspect the valve lash with KM-6361 .
    • Mark down result.
  20. Inspect the 2 valve lash, intake valve cylinder 4.
  21. • Turn the intake camshaft in the direction of engine rotation by the bolt of the drive gear until the cams of cylinder 4 are in the test position.
    • Inspect the valve lash with KM-6361 .
    • Mark down result.
  22. Inspect the 2 valve lash, intake valve cylinder 2.
  23. • Turn the intake camshaft in the direction of engine rotation by the bolt of the drive gear until the cams of cylinder 2 are in the test position.
    • Inspect the valve lash with KM-6361 .
    • Mark down result.
  24. When replacing the exhaust camshaft, inspect the valve lash of the exhaust valves.
  25. Inspect the 2 valve lash, exhaust valve cylinder 4.
  26. • Turn the exhaust camshaft in the direction of engine rotation by the bolt of the drive gear until the cams of cylinder 4 are in the test position.
    • Inspect the valve lash with KM-6361 .
    • Mark down result.
  27. Inspect the 2 valve lash, exhaust valve cylinder 2.
  28. • Turn the exhaust camshaft in the direction of engine rotation by the bolt of the drive gear until the cams of cylinder 2 are in the test position.
    • Inspect the valve lash with KM-6361 .
    • Mark down result.
  29. Inspect the 2 valve lash, exhaust valve cylinder 1.
  30. • Turn the exhaust camshaft in the direction of engine rotation by the bolt of the drive gear until the cams of cylinder 1 are in the test position.
    • Inspect the valve lash with KM-6361 .
    • Mark down result.
  31. Inspect the 2 valve lash, exhaust valve cylinder 3.
  32. • Turn the exhaust camshaft in the direction of engine rotation by the bolt of the drive gear until the cams of cylinder 3 are in the test position.
    • Inspect the valve lash with KM-6361 .
    • Mark down result.
  33. Detach the exhaust camshaft adjuster.
  34. • Remove the bolt.
    • Counterhold at the exhaust camshaft hexagon.
  35. Detach the intake camshaft adjuster.
  36. • Remove the bolt.
    • Counterhold at hexagon of the intake camshaft.
  37. Remove the 1st camshaft bearing support.
  38. Remove the 4 bolts.

    Important: Mark the camshaft bearing caps before removing them.

  39. Remove the intake camshaft.
  40. • Detach the camshaft bearing caps 2-5 working from outside to inside in a spiral in steps of 1/2 up to 1 turn.
    • Remove the camshaft bearing cover from the cylinder head and take out the camshaft.

    Important: Mark the camshaft bearing caps before removing them.

  41. Remove the exhaust camshaft.
  42. • Detach the camshaft bearing caps 2-5 working from outside to inside in a spiral in steps of 1/2 up to 1 turn.
    • Remove the camshaft bearing cover from the cylinder head and take out the camshaft.
  43. Remove the 16 cup tappets with KM-845 (1).

  44. Object Number: 1937159  Size: SH
  45. Determine cup tappet size.
  46. Example of determining the size of the cup tappet:

    • Measurement of the cup tappet installed 3.12 mm (identification number 12)
    • Measured value between cams and cup tappets + 0.31 mm = 3.43 mm
    • Required value, valve lash - 0.25 mm

       Important: The identification number (arrow) is on the inside of the cup tappet.

    • Measurement of the new cup tappet = 3.18 mm (identification number 18)
    • Now use a cup tappet with this dimension or one that is nearest to it.

Installation Procedure


    Object Number: 1947353  Size: SH
  1. Insert the 16 cup tappets with KM-845 .
  2. Lightly coat sliding surfaces with oil.

  3. Install the intake camshaft.
  4. • Coat with MoS 2 lubricating paste.

       Important: Note the identification marking on the camshaft bearing cover.

    • Insert the camshaft.
    • Install the camshaft bearing cover.
    • Tighten the camshaft bearing caps 2-5 in a spiral from the inside to the outside.

    Tighten
    Tighten the camshaft bearing caps to 8 N·m (70 lb in).


    Object Number: 1947354  Size: SH
  5. Install the exhaust camshaft.
  6. • Coat with MoS 2 lubricating paste.

       Important: Note the identification marking on the camshaft bearing cover.

    • Insert the camshaft.
    • Install the camshaft bearing cover.
    • Tighten the camshaft bearing caps 2-5 in a spiral from the inside to the outside.

    Tighten
    Tighten the camshaft bearing caps 8 N·m (70 lb in).


    Object Number: 1947413  Size: SH

    Important: Sealing surfaces must be free from oil and grease.

  7. Clean sealing surfaces of the 1st camshaft bearing support and the cylinder head with a suitable tool, e.g. plastic wedge.
  8. Clean oil duct (arrow) from any sealant residue.


    Object Number: 1947417  Size: SH

    Important: 

       • It is essential to ensure that no sealant is applied outside the marked sealing areas.
       • The grooves (1) adjacent to the sealing surfaces must remain free from sealant.

  9. Apply surface sealant (green) to sealing surfaces (arrows) of the 1st camshaft bearing support thinly and evenly.
  10. Position the camshaft bearing bridge on the cylinder block and tighten the bolts hand tight, approximately 2 N·m (18 lb in).

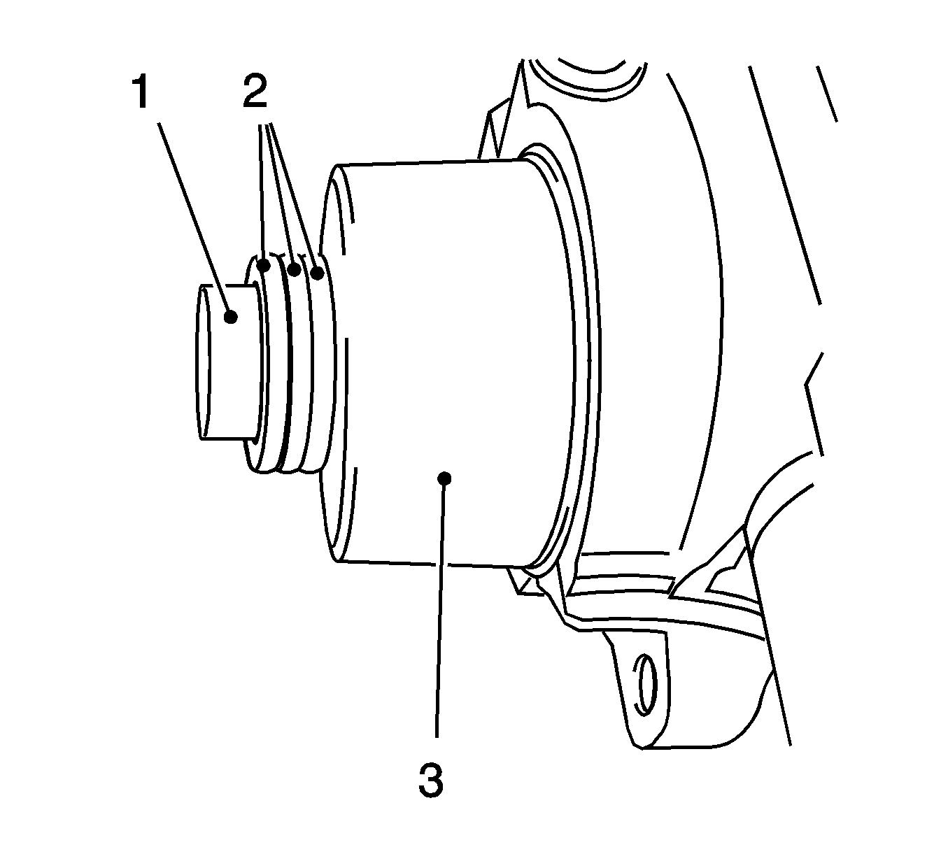
  11. Object Number: 1945794  Size: SH
  12. Install the 2 camshaft seal rings.
  13. • Tighten the seal ring with KM-422 (4) on the camshaft until this is in contact with the cylinder head (arrow).
    • To install, use camshaft sprocket bolt (1) in conjunction with shims (2) with a total thickness of approximately 10 mm.
    • Remove KM-422 .
    • Remove the bolt.

    Object Number: 1947415  Size: SH

    Important: No sealant may reach the camshafts.

  14. Attach the 1st camshaft bearing support.
  15. • Place bearing support in position.

    Tighten
    Tighten the 4 bolts to 8 N·m (70 lb in).

    • Note installation sequence 1-4.
  16. Insert MK-6628 .
  17. • Turn the intake camshaft against the direction of engine rotation
    • Insert MK-6628 .
    • Turn the exhaust camshaft in the direction of rotation of the engine.
    • Insert MK-6628 .
  18. Install the rear toothed belt cover. Refer to Timing Belt Rear Cover Replacement .