GM Service Manual Online
For 1990-2009 cars only

Special Tools

    • KM-6025
    • KM-6333 Fixing Rod
    • MK-6340 Locking Tool
    • MK-6628 Locking Tool

    Object Number: 1936993  Size: SH
  1. Set the engine to top dead center (TDC).
  2. Turn the crankshaft in the direction of engine rotation, by the torsional vibration dampener bolt, to cylinder 1 TDC of combustion stroke.


    Object Number: 1944920  Size: SH

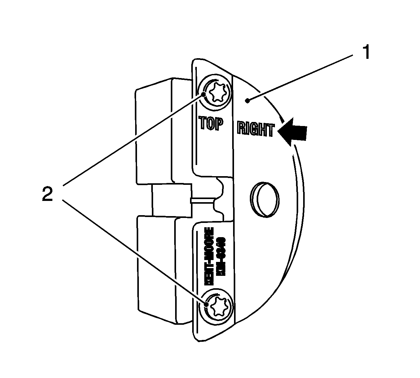
    Important: The right half of the MK-6340 can be recognized by the lettering "Right", arrow, on the tool.

  3. Prepare the right half of the MK-6340 for use on the 2HO engine.
  4. 2.1. Detach the front panel (1) from the MK-6340 -Right.
    2.2. Remove the 2 bolts (2).

    Object Number: 1944922  Size: SH

    Important: 

       • The spot-type marking (4) on the intake camshaft adjuster does not correspond to the groove of the MK-6340 -Left (1) during this process, but must be somewhat above.
       • The spot type marking (3) on the exhaust camshaft adjuster must correspond to the groove on MK-6340 -Right (2).

  5. Insert the MK-6340 -Left (1) and the MK-6340 -Right (2) in the camshaft adjuster.

  6. Object Number: 1945788  Size: MH
  7. Insert the MK-6628  (1) into the camshafts.
  8. Important: If the MK-6628  (1) cannot be inserted, the timing must be set.

  9. Align the camshafts horizontally by the hexagon, arrows, until the MK-6628 can be inserted in both camshafts.

  10. Object Number: 1944384  Size: SH
  11. Using an Allen key (1), apply tension to the timing belt tension roller (2) in the direction of the arrow. Install using the KM-6333  (3).
  12. Stop the timing belt tensioner.

  13. Object Number: 1945757  Size: SH
  14. Remove the timing belt tensioner bolt (2).
  15. Remove the timing belt tensioner (1).
  16. Remove the timing belt.
  17. Remove the KM-6025 .
  18. Detach the screwed connection.