GM Service Manual Online
For 1990-2009 cars only

Special Tools

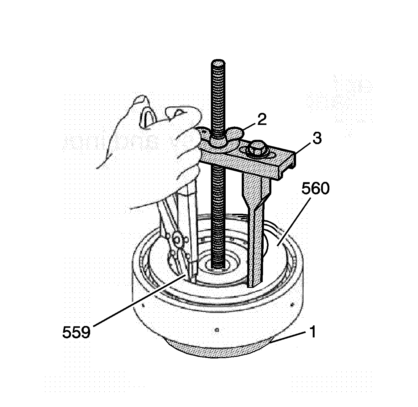
    • J 23327 Clutch Spring Compressor
    • J 45124 Removal Bridge
    • SA9179NE Dial Indicator

    Object Number: 2029674  Size: SH
  1. Coat the reverse gear clutch piston inner and outer seals (564, 566) with ATF and install them on the reverse gear clutch piston (565).
  2. Coat the inner surface of the reverse gear clutch drum (567) with ATF.

  3. Object Number: 2002619  Size: SH
  4. Press the reverse gear clutch piston (565) into the reverse gear clutch drum (567), being careful not to damage the O-ring.

  5. Object Number: 2002615  Size: SH
  6. Place the reverse gear clutch spring (560) on the reverse gear clutch piston.

  7. Object Number: 2002614  Size: SH

    Important: Be sure the end gap of snap ring is not aligned with the spring retainer claw.

  8. Using the bridge and legs of the J 45124  (3) with the forcing screw of the J 23327  (2) and J 21420-2 (1) plate, which is part of J 23327 , compress the reverse gear clutch spring (560).
  9. Install the reverse gear clutch spring retaining ring (559). Remove the tools.

  10. Object Number: 2002613  Size: SH

    Important: Be sure to alternate the order of plates-2 and discs-2.

  11. Install the reverse gear clutch plate assembly steel (557) and fiber (556) as shown in the figure.

  12. Object Number: 2002612  Size: SH
  13. Install the reverse gear clutch plate retaining ring (558).

  14. Object Number: 2002611  Size: SH
  15. Install a NEW input shaft seal ring-slotted (555).

  16. Object Number: 2002610  Size: SH
  17. Install the input shaft thrust bearing (551) and the input shaft thrust bearing race (552) with grease.

  18. Object Number: 2002609  Size: SH
  19. Install the input shaft (550) into the reverse gear clutch drum (567).
  20. Install the sun gear input flange (554).

  21. Object Number: 2002608  Size: SH
  22. Install the sun gear input flange retaining ring (553) with a screwdriver in the groove. Inspect the end gap of the retaining ring is not aligned with one of the cutouts.

  23. Object Number: 2002620  Size: SH

    Important: When measuring pack clearance of the reverse gear clutch, the input shaft and retaining ring must be removed.

  24. Install the reverse gear clutch drum sub assembly onto the fluid pump and set SA9179NE as shown.
  25. When applying and releasing compressed air 392 KPa (56 psi) into the fluid passage as shown, measure the clearance of the reverse gear clutch plates.
  26. Specification
    Clutch pack clearance - 0.432-1.228 mm (0.017-0.048 in)