GM Service Manual Online
For 1990-2009 cars only

Removal Procedure

    Caution: Refer to Brake Dust Caution in the Preface section.

    Caution: Refer to Brake Fluid Irritant Caution in the Preface section.


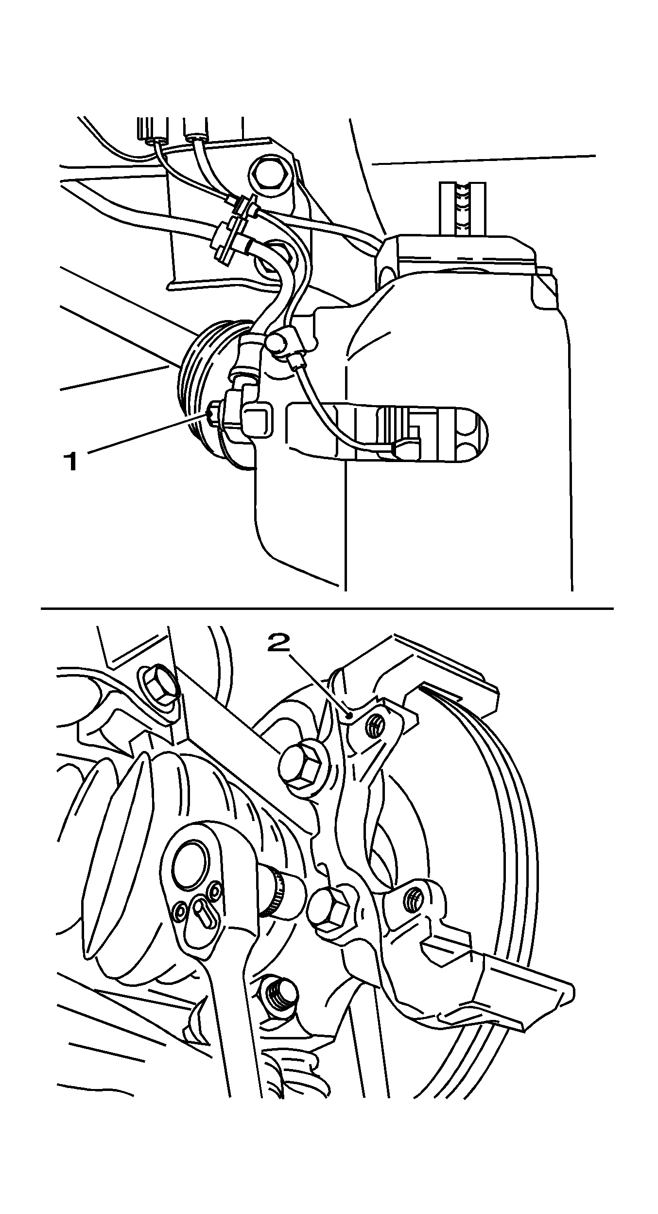
    Object Number: 1937922  Size: LH
  1. Raise and support the vehicle. Refer to Lifting and Jacking the Vehicle .
  2. Remove the front wheels. Refer to Tire and Wheel Removal and Installation .
  3. Important: Collect the brake fluid and the seal apertures.

  4. Remove the banjo bolt (1) from the brake caliper.
  5. Important: Overhaul the brake caliper or the brake carrier if the brake caliper is leaking, protective cap on the brake caliper is damaged, sealing sleeve for the brake carrier is damaged or the guide bolts are corroded. Refer to Front Brake Caliper Overhaul .

  6. Remove the front brake pads. Refer to Front Disc Brake Pads Replacement .
  7. Remove the brake carrier (2) from the steering knuckle.

Installation Procedure

    Notice: Refer to Fastener Notice in the Preface section.

    Important: Clean the thread and insert the bolts with the locking compound.

  1. Install the brake carrier to the steering knuckle.
  2. Tighten
    Tighten the brake carrier to steering knuckle bolt to 100 N·m (74 lb ft).

  3. Install the front brake pads. Refer to Front Disc Brake Pads Replacement .
  4. Important: Ensure that the brake hose is not twisted.

  5. Install the brake hose to the brake caliper with new seal rings.
  6. Tighten
    Tighten the brake hose to brake caliper banjo bolt to 40 N·m (30 lb ft).

  7. Install the front wheels. Refer to Tire and Wheel Removal and Installation .
  8. Lower the vehicle.
  9. Bleed the brake system and check for leaks. Refer to Hydraulic Brake System Bleeding .
  10. Actuate the brake pedal repeatedly.
  11. Top up the brake fluid to the MAX mark. Refer to Master Cylinder Reservoir Filling .