GM Service Manual Online
For 1990-2009 cars only

    Object Number: 2002576  Size: SH
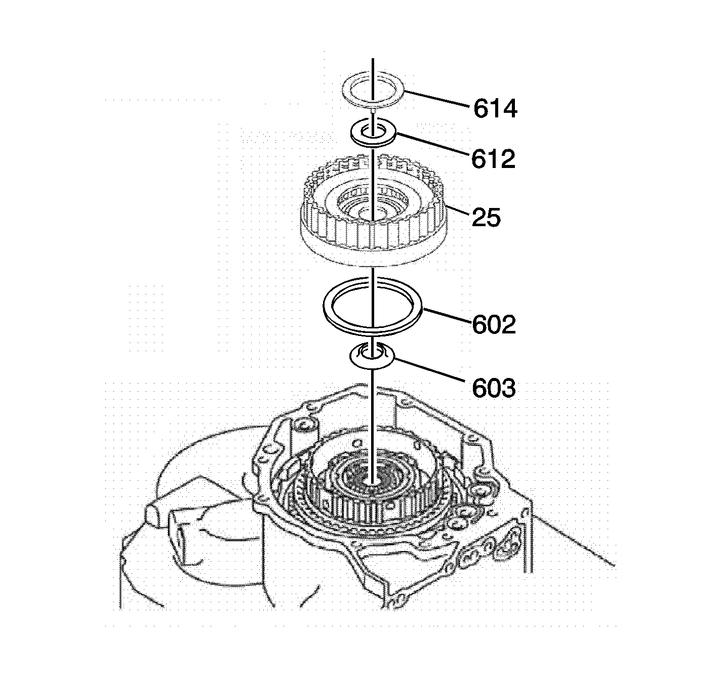
  1. Remove the rear planetary ring gear flange thrust washer (614).
  2. Remove the rear ring gear rear thrust bearing race (612).
  3. Remove the rear ring gear assembly (25).
  4. Remove the rear planetary ring gear thrust bearing (602) and the sun gear thrust bearing race (603).