GM Service Manual Online
For 1990-2009 cars only

Removal Procedure

  1. Remove the front bumper fascia. Refer to Front Bumper Fascia Replacement .
  2. Remove the air conditioning (A/C) condenser. Refer to Air Conditioning Condenser Replacement .
  3. Remove the radiator and coolant fan as an assembly. Refer to Radiator Replacement .
  4. Remove the battery tray assembly. Refer to Battery Tray Replacement .
  5. Place a drain pan under the transmission.

  6. Object Number: 1938432  Size: SH
  7. Remove the transmission vent hose (1) from the control valve body cover.

  8. Object Number: 2002512  Size: SH

    Important: Be careful not to damage the control valve body cover and transmission case.

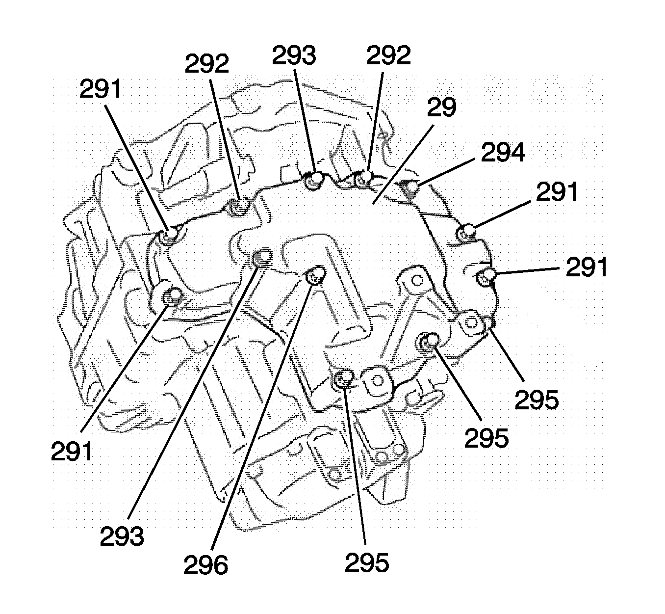
  9. Remove the 13 bolts and the control valve body cover (29).
  10. If needed, use a plastic hammer to loosen cover.

  11. Clean the sealing surfaces.

Installation Procedure


    Object Number: 2002855  Size: SH

    Important: Be careful that no oil is on the contacting surfaces.

  1. Remove any gasket material on the contacting surfaces of the control valve body cover (29) and transmission case assembly.
  2. Wipe off any oil on the contacting surfaces.

  3. Apply a 3 mm (1/8 in) bead of GM P/N 89020326 (Canadian P/N 89021188) to the control valve body cover (29) as shown.

  4. Object Number: 2002512  Size: SH
  5. Install the control valve body cover (29) onto the transmission case assembly.
  6. Install threadlocker GM P/N 12345382 (Canadian P/N 10953489) to the threads of the control valve body cover bolts.
  7. Install the 13 control valve body cover bolts.
  8. Notice: Refer to Fastener Notice in the Preface section.


    Object Number: 2002514  Size: SH
  9. Tighten the control valve body cover bolts.
  10. Tighten
    Tighten the bolts to 19.6-27.4 N·m (14.46-20.21 lb ft).


    Object Number: 1938432  Size: SH
  11. Connect the vent hose (1).
  12. Install the radiator and coolant fan assembly. Refer to Radiator Replacement .
  13. Install the A/C condenser. Refer to Air Conditioning Condenser Replacement .
  14. Install the front bumper fascia. Refer to Front Bumper Fascia Replacement .
  15. Recharge the A/C system. Refer to Refrigerant Recovery and Recharging .
  16. Install the battery tray assembly. Refer to Battery Tray Replacement .
  17. Fill the transmission. Refer to Fluid Capacity Specifications and Transmission Fluid Check .