GM Service Manual Online
For 1990-2009 cars only

Rear Compartment Side Trim Panel Replacement Sedan

Removal Procedure


    Object Number: 1941335  Size: SH
  1. Remove the rear seat cushion.
  2. • Unlock at the loop (1) and support in the rear area (arrow).
    • Remove the rear seat upwards.

    Object Number: 1941337  Size: LH
  3. Remove the rear seat backrest.
  4. • Remove the 3 bolts at the front.
    • Remove the 3 belt buckles.
    • Fold down the rear seat backrest.
    • Remove the 3 bolts at the back.

    Object Number: 1941340  Size: SH
  5. Remove the rear seat backrest.
  6. With the aid of an assistant, remove the rear seat backrest from side guide.


    Object Number: 1941345  Size: SH
  7. Remove the lower upper quarter trim.
  8. Release the 3 clips (arrows) and remove.

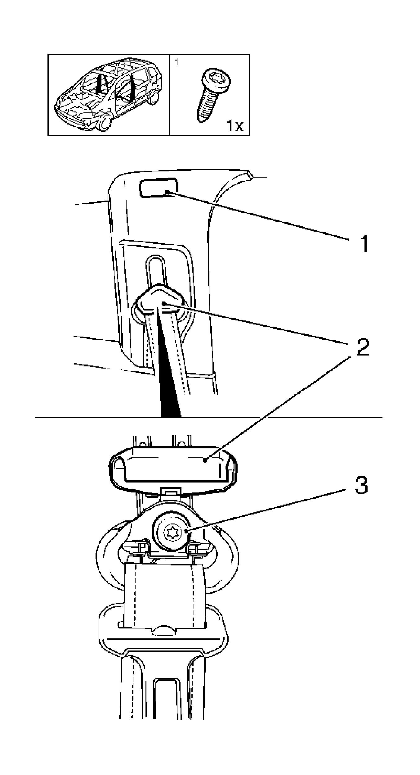
  9. Remove the seat belt .
  10. Remove the bolt.


    Object Number: 1941355  Size: SH
  11. Remove the upper quarter trim.
  12. • Release the panel (1).
    • Release the upper quarter trim.
    • Release the 5 clips.
    • Remove the seat belt.
    • Remove the upper quarter trim.
  13. Remove the rear compartment side trim.

  14. Object Number: 1944548  Size: SH
  15. Remove the rear compartment cover.
  16. • Release the 8 clips.
    • Remove the rear compartment cover.

    Object Number: 1941358  Size: LH
  17. Remove the rear compartment side trim.
  18. • Remove the 3 bolts (1).
    • Disconnect the wiring harness plug.
    • Loosen the 3 clips.
    • Remove the rear side trim compartment.

Installation Procedure

    Notice: Refer to Fastener Notice in the Preface section.

  1. Install the rear compartment side trim.
  2. • Connect the wiring harness plug.
    • Install the 3 clips.

    Tighten
    Tighten the 3 bolts to 2.5 N·m (22 lb in).

  3. Install the rear compartment side trim.
  4. Install the upper quarter trim.
  5. • Thread in the seat belt.
    • Install the upper quarter trim.

    Important: Use screw locking compound.

  6. Install the seat belt.
  7. Tighten
    Tighten the bolt to 35 N·m (26 lb ft).

  8. Install the lower quarter trim.
  9. Install the 3 clips.

  10. Insert the rear seat backrest.
  11. With the aid of an assistant, insert the rear seat backrest into side guide.

    Important: Use screw locking compound.

  12. Install the rear seat backrest.
  13. Tighten
    Tighten the 3 rear bolts to 20 N·m (15 lb ft).

  14. Fold down the rear seat backrest.
  15. Tighten
    Tighten the 3 front screws with the belt buckle to 35 N·m (26 lb ft).

  16. Install the rear seat cushions.
  17. Insert the rear seat cushion and position.

  18. Install the luggage shade.
  19. Install the 8 clips.

Rear Compartment Side Trim Panel Replacement Coupe

Removal Procedure


    Object Number: 1944495  Size: SH
  1. Remove the door sill plate.
  2. • Release the 5 clips.
    • Remove the door sill plate (1).

    Object Number: 1944516  Size: SH
  3. Remove the luggage shade.
  4. • Release the 2 retaining cords from the liftgate (arrows).
    • Disconnect the 2 covers from the side supports (1).

    Object Number: 1944496  Size: SH
  5. Remove the rear compartment carpet (1).

  6. Object Number: 1946332  Size: LF
  7. Remove the trailer hitch ball head.
  8. • Loosen the fastening belt (1).
    • Remove the ball head (2).
  9. Remove the additional storage trays under the load compartment carpet.

  10. Object Number: 1942317  Size: LH
  11. Remove the rear compartment sill plate.
  12. Release the 7 clips (1).


    Object Number: 1942388  Size: SH
  13. Remove the bench seat.
  14. • Unlock the 2 front brackets (1).
    • Support the 2 bench seats from the rear bracket.
    • Push the seat simultaneously backwards and upward.
  15. Detach the rear seat backrest (l).
  16. • Remove the 4 bolts (2) at the front.
    • Remove the 3 belt buckles (1).
    • Fold down the rear seat backrest (II).
    • Remove the 4 rear bolts (2).

    Object Number: 1942391  Size: LH
  17. With the aid of an assistant, remove the rear seat backrest.

  18. Object Number: 1942325  Size: LH
  19. Remove the upper center pillar trim.
  20. • Pull out the plastic rivet (1) from the center pillar trim.
    • Remove the moulding from the seat with a plastic wedge.
    • Remove the seat belt bolts (3) from center pillar trim.
    • Remove the cap (2).
    • Remove the upper center pillar trim paneling upwards.

    Object Number: 1943210  Size: LF
  21. Remove the rear compartment side trim.
  22. • Remove the lower seat belt fastening (3).
    • Remove the lower seat belt anchor bar (4).
    • Remove the seat belt with striker.
    • Remove the seat belt striker guide bushing (5).
    • Remove the rear quarter panel cover cap (2).
    • Remove the bolt.
    • Remove the bolt (6) from the rear seat backrest.
    • Remove the bolt (1) from upper rear quarter trim.
    • Release the front rear quarter trim panel.
    • Release the 8 clips (7).

    Object Number: 1944515  Size: SH
  23. Remove the upper left side quarter trim panel.
  24. • Remove the quarter trim panel seat belt fastening screws.
    • Remove the cover cap (1).
    • Release the 3 quarter trim panel clips.

    Object Number: 1943213  Size: LH
  25. Remove the rear compartment side trim.
  26. • Remove the 3 bolt (1) from the side trim.
    • Release the 2 clips (3).
    • Disconnect the luggage compartment light wiring harness plug (2).
    • Remove the rear compartment side trim.

    Object Number: 1943213  Size: LH
  27. Remove the rear compartment side trim.
  28. Release the 7 retainers.

Installation Procedure

  1. Install the rear compartment side trim.
  2. Install the 7 retainers to rear compartment side trim.

    Notice: Refer to Fastener Notice in the Preface section.

  3. Install the rear compartment side trim.
  4. • Connect the rear compartment light wiring harness plug.
    • Insert the rear compartment side trim.
    • Install the 2 clips.

    Tighten
    Tighten the 3 bolts in the rear compartment side trim to 2.5 N·m (22 lb in).

  5. Install the upper left side center pillar.
  6. • Install the 3 upper center pillar clips.

    Tighten
    Tighten the center pillar seat belt fastening bolts to 35 N·m (26 lb ft).

    • Install the cover cap.
  7. Install the rear compartment side trim.
  8. • Install the 8 rear quarter panel clips.

    Tighten

       • 

    Tighten the bolts on the upper center pillar to 35 N·m (26 lb ft).

       • 

    Tighten the bolt to rear seat backrest to 40 N·m (30 lb ft).

       • 

    Tighten the lower center pillar bolt to 35 N·m (26 lb ft).

    • Install the rear quarter trim cover cap front.
    • Install the seat belt striker guide bushing to rear quarter panel front.
    • Install the seat belt with striker.
    • Install the lower seat belt striker.

    Tighten
    Tighten the lower belt striker to 35 N·m (26 lb ft).

  9. Install the upper center pillar trim.
  10. • Guide the center pillar trim from above into the inner paneling guide front of rear quarter panel.
    • Install the upper center pillar trim.
    • Press in the expanding bolt.

    Tighten
    Tighten the seat belt bolt to the center pillar trim to 35 N·m (26 lb ft).

    • Install the cover cap.
  11. With the aid of an assistant, insert the rear seat backrest.
  12. Install the rear seat backrest.
  13. • Guide in and position the rear seat backrest with guide pins right and left in rear quarter panel.

    Tighten
    Tighten the 4 rear bolts to 20 N·m (15 lb ft).

    • Fold down the rear seat backrest.
    • Insert the 3 belt buckles.

    Tighten
    Tighten the 4 front bolts to 20 N·m (15 lb ft).

  14. Install the bench seat.
  15. • Support the 2 seats in the rear bracket.
    • Push the seat simultaneously backwards and down.
    • Bolt in the 2 brackets front.
  16. Install the rear end inner paneling.
  17. Install the 7 clips.

  18. Install the additional storage trays under the load compartment carpet.
  19. Install the trailer hitch ball head.
  20. • Thread the seat belt through the eye.
    • Insert the ball.
    • Tighten the belt.
  21. Install the load compartment carpet.
  22. Install the luggage shade.
  23. • Engage the 2 side covers in supports.
    • Install the 2 retaining cords to tailgate.
  24. Install the rear compartment sill plate.
  25. Install the 5 clips.