GM Service Manual Online
For 1990-2009 cars only

Caution: Storing a jack, a tire, or other equipment in the passenger compartment of the vehicle could cause injury. In a sudden stop or collision, loose equipment could strike someone. Store all these in the proper place.

To store a flat or spare tire and tools, do the following:


Object Number: 1872969  Size: G1
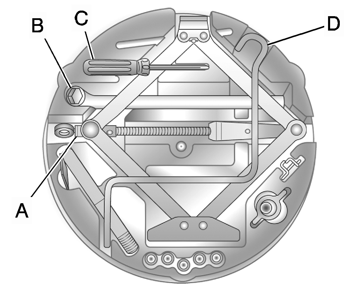
  1. Jack

  2. Wheel Wrench

  3. Screwdriver

  4. Jack Handle

  1. Replace the jack and tools as shown.

  2. Object Number: 2003820  Size: G1
  3. Place the flat tire face down into the spare tire hub.
  4. Turn spare tire hold-down bolt by turning clockwise. Return the foam pad to its original position.

  5. Object Number: 1872963  Size: G1
  6. Put the load floor back in place.

The compact spare tire is for temporary use only. Replace the compact spare with a full-size tire as soon as possible.