GM Service Manual Online
For 1990-2009 cars only

Removal Procedure

  1. Open the hood.
  2. Raise the vehicle. Refer to Lifting and Jacking the Vehicle.

  3. Object Number: 1937690  Size: SH
  4. Remove the rear muffler.
  5. 3.1. When removing and installing the exhaust system, remove the electrical plug connection.
    3.2.  Release the rear muffler fastening clamp (1).

    Object Number: 1937689  Size: SH
  6. Remove the rear muffler from bracket (1) in 2 places.

  7. Object Number: 1998458  Size: SH
  8. Disconnect the wiring harness from the oxygen sensor (1).
  9. Disconnect the wire harness plug (2).


    Object Number: 1936302  Size: LH

    Caution: To prevent internal damage to the flexible coupling of the catalytic converter assembly, the converter must be supported. The vertical movement at the rear of the catalytic converter assembly must not exceed 6 degrees up or down.

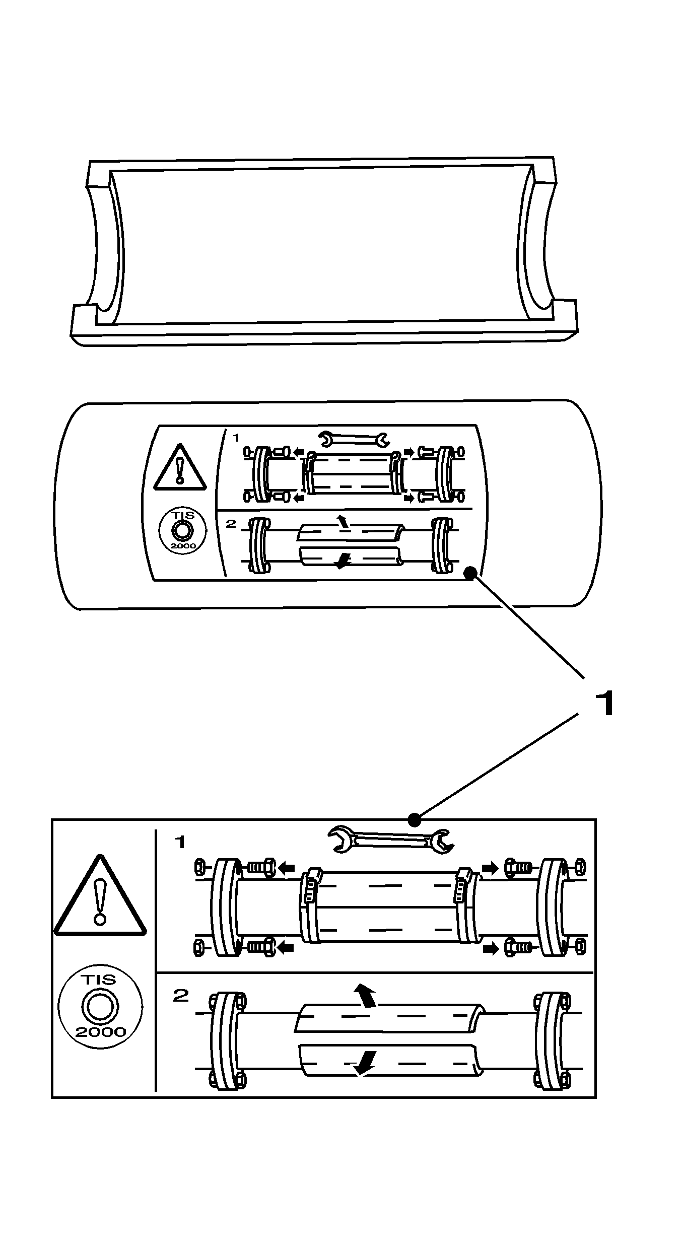
    Note: The fastening clips of the exhaust system should be replaced every time that they are loosened. When replacing the exhaust system, the shipping fastening should only be removed after installation and before starting the engine. The shipping fastening should be removed for other operations in which the exhaust system has to be removed, stored and used to secure the flex pipe.

  10. See assembly instruction (1) on the shipping fastening.

  11. Object Number: 1937693  Size: SH
  12. Remove the front exhaust pipe from the catalytic converter.
  13. Remove the 3 nuts (1).

  14. With the aid of an assistant, remove the exhaust system.
  15. Remove the center muffler from the bracket in 4 places.

    Note:  When replacing the center or front exhaust pipe.

  16. Secure the front exhaust pipe with a vice.
  17. Note: When replacing the center or front exhaust pipe.

  18. Remove the center muffler from the front exhaust pipe.
  19. Release clamp fitting.

  20. Remove the oxygen sensor of the catalytic converter monitoring device.

Installation Procedure

    Caution: Refer to Fastener Caution in the Preface section.

  1. Install the oxygen sensor.
  2. Tighten
    Tighten to 40 N·m (30 lb ft).

  3. Coat thread of oxygen sensor with anti-sieze paste.
  4. Prepare the exhaust system.
  5. Install the center muffler to the front exhaust pipe.

  6. With the aid of an assistant, install the exhaust system.
  7. Install the center muffler from bracket in 4 places.

  8. Install the front exhaust pipe to the catalytic converter.
  9. Tighten
    Tighten the 3 nuts to 20 N·m (15 lb ft).

  10. Install the rear muffler to the center muffler.
  11. Insert the rear muffler in bracket in 2 places.
  12. Align the exhaust system.
  13. Tighten the rear muffler fastening clamp.
  14. Tighten
    Tighten the nut to 50 N·m (37 lb ft).

  15. Connect the wiring harness of the oxygen sensor.
  16. Connect the wiring harness plug.

  17. Lower the vehicle all the way.
  18. Close the hood.