GM Service Manual Online
For 1990-2009 cars only

Note: 

   • The fuel tank must be drained with a suitable, commercially-available fuel removal unit and suction hose - follow safety regulations and national legislation. The fuel tank is fitted with a refill limit float valve. This is located on the filler neck in the fuel tank. To prevent damaging the refill limit float valve, a suitable suction hose must be used.
   • In the presence of fuel vapors or escaping fuel - observe safety regulations and national legislation. Store drained fuel in a suitable, sealable container.
   • The electric fuel pump is a fixed component of the fuel tank fuel pump module and therefore cannot be replaced individually. If in need of service, the entire fuel tank fuel pump module must be replaced.

Removal Procedure

    Warning: Refer to Gasoline/Gasoline Vapors Warning in the Preface section.

    Warning: In order to reduce the risk of fire and personal injury that may result from a fuel leak, always replace the fuel sender gasket when reinstalling the fuel sender assembly.

  1. Remove the fuel tank. Refer to Fuel Tank Replacement.

  2. Object Number: 1998442  Size: LH

    Note: Do not pull on the shaft of the fuel tank sensor.

  3. Remove the fuel tank sensor (1).
  4. • Release the 2 retainers (3).
    • Carefully pull from the guide upward.

       Note: 
       • The wire connectors are to be pulled out carefully for disassembling of the connection wires.
       • The cable connectors is to be depressed by a blunt rod-shaped article.

    • Disconnect the 2 wires.
      Depress the 2 snap-on tongue (arrows) of the cable connectors.

    Object Number: 1998443  Size: SH
  5. Remove the fuel tank pressure sensor (1).
  6. Carefully pull upward from the fuel tank fuel pump module cover.


    Object Number: 1998444  Size: SH
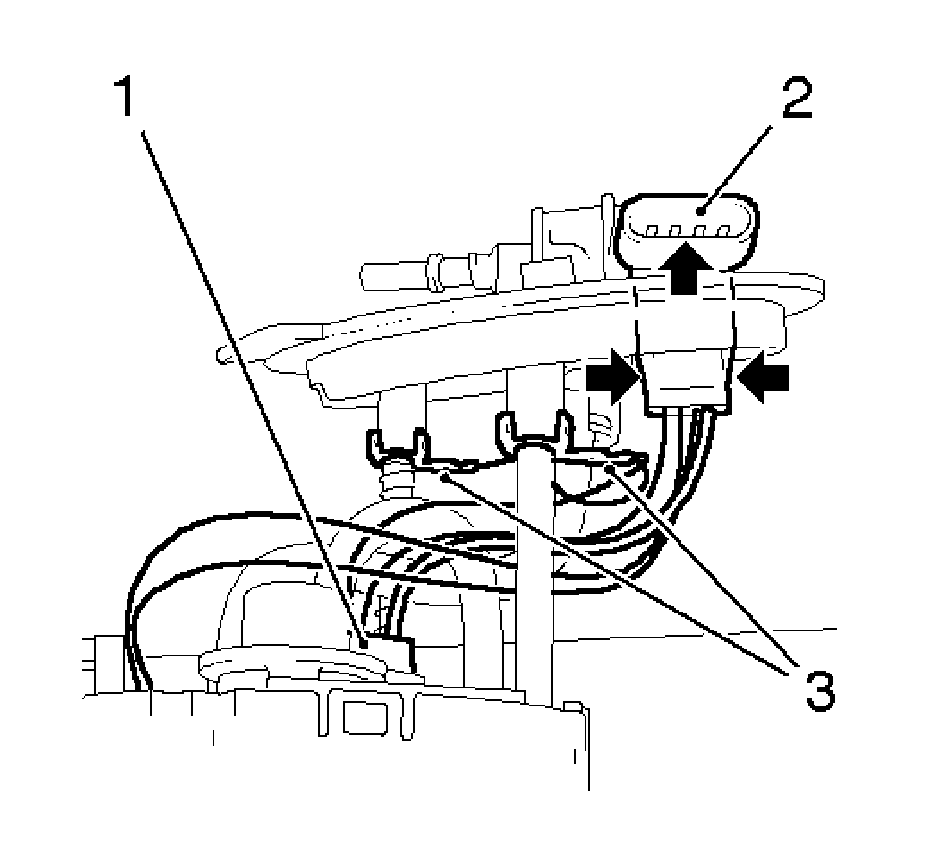
  7. Remove the wiring harness of the fuel pump.
  8. • Remove the wiring harness plug of the fuel pump (1).
    • Remove the 2 ground cables (3).
    • Remove the wiring harness plug of the fuel tank fuel pump module (3).
      Release the 2 retainers and pull upward (arrows) from the fuel tank fuel pump module cover.

Installation Procedure

  1. Install the wiring harness to the fuel pump.
  2. • Install the new gasket.
    • Install the wiring harness plug to the fuel tank fuel pump module (3).

       Note: The 2 retainers must be locked.

    • Pull downward to fuel tank fuel pump module cover.
    • Connect the 2 ground cables.
    • Connect the wiring harness plug to the fuel pump.
  3. Install the fuel tank pressure sensor.
  4. • Install the new gasket.
    • Carefully pull downward to the fuel tank fuel pump module cover.

    Note: Do not pull on the shaft of fuel tank sensor.

  5. Install the fuel tank sensor.
  6. • Lock the 2 retainers.
    • Carefully pull in guide downward.

       Note: The wire connectors are to be pulled in carefully for disassembling of the connection wires.

    • Connect the 2 wires.
  7. Install the fuel tank. Refer to Fuel Tank Replacement.