GM Service Manual Online
For 1990-2009 cars only

Timing Belt Inspection and Adjustment Inspection

Special Tools

    • MK-6340 /KM-6340-Left/KM-6340-Right Locking Tool
    • MK-6628 Locking Tool

Removal Procedure


    Object Number: 1936993  Size: SH
  1. Detach the front toothed belt cover (upper). Refer to Timing Belt Upper Front Cover Installation.
  2. Raise the vehicle by its full height.
  3. Remove the lower engine cover and the right engine splash guard.
  4. Set the engine to "TDC".
  5. Set the torsional vibration balancer in the direction of the engine rotation to "1st cylinder TDC" (mark 1).

  6. Lower the vehicle by its full height.

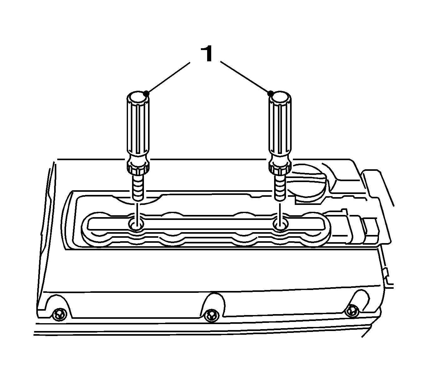
  7. Object Number: 1944920  Size: SH

    Note: Recognizable from the lettering "Right" (arrow)

  8. Prepare the right half of MK-6340 for use on the U 18 XER engine.
  9. • Detach the front panel (1) from MK-6340 KM-6340-Right.
    • Unscrew the 2 bolts (2).

    Object Number: 1944922  Size: SH

    Note: The spot-type marking (4) on the intake camshaft adjuster does not correspond to the groove of MK-6340 KM-6340-Left during this process but must be somewhat above as shown.

    The spot type marking (3) on the exhaust camshaft adjuster must correspond to the groove on MK-6340 KM-6340-Right.

  10. Insert MK-6340 into the camshaft timing gears.
  11. Insert MK-6340 KM-6340-Left  (1) and MK-6340 KM-6340-Right  (2) in the camshaft adjuster as shown.

  12. Remove the camshaft cover. Refer to Camshaft Cover Installation.

  13. Object Number: 1945788  Size: MH

    Note: If MK-6628 cannot be inserted, the timing must be set.

  14. Insert MK-6628  (1) into the camshafts.
  15. Align the camshafts horizontally by the hexagon (arrows) until MK-6628 can be inserted in both camshafts.

  16. Raise the vehicle by its full height.
  17. Check the position of crankshaft.
  18. Marking on torsional vibration damper must align with the marking on the lower part of the toothed belt cover.

Installation Procedure

  1. Install the lower engine cover and the right engine splash guard.
  2. Lower the vehicle by its full height.
  3. Remove MK-6628
  4. Install the camshaft cover. Refer to Camshaft Cover Installation.
  5. Remove MK-6340 .
  6. Caution: Refer to Fastener Caution in the Preface section.

  7. Attach the bracket.
  8. Tighten
    Tighten the 2 bolts to 8 N·m (71 lb in).

  9. Attach front toothed belt cover (upper). Refer to Timing Belt Upper Front Cover Installation.

Timing Belt Inspection and Adjustment Adjustment

Special Tools

    • KM-6009 Remover/Installer
    • KM-6333 Fixing Rod
    • MK-6340 Locking Tool
    • KM-6349 Fixing Rod
    • KM-6625 Flywheel Locking Device
    • MK-6628 Locking Tool

Removal Procedure

  1. Open the hood.
  2. Warning: Refer to Battery Disconnect Warning in the Preface section.

  3. Disconnect the battery.
  4. • Detach the ground connection from ground terminal.
    • Loosen the nut.
  5. Remove the air cleaner assembly. Refer to Air Cleaner Assembly Replacement.
  6. Remove the drive belt cover upper section.
  7. Remove the 2 bolts.

  8. Raise the vehicle by its full height.
  9. Remove the drive belt tensioner. Refer to Drive Belt Tensioner Replacement.
  10. Lower the vehicle by its full height.
  11. Detach the engine management wiring harness from the intake manifold, cylinder head cover.
  12. Release 2x from bracket.

  13. Remove the cover of the ignition module.
  14. Release the cover in the direction of the arrow.


    Object Number: 1936914  Size: SH
  15. Remove the ignition module.
  16. • Disconnect the wiring harness connector.
    • Unscrew the 2 bolts.
    • Screw in 2 KM-6009 .
    • Take out the ignition module.
  17. Detach the engine management wiring harness from the intake manifold, cylinder head cover.
  18. • Remove the wiring trough.
    • Release 3x.
    • Release the wiring harness from the guide.
  19. Remove the engine venting pipe.
  20. Disconnect the 2 quick-release fittings.


    Object Number: 1945817  Size: SH
  21. Remove the cylinder head cover.
  22. Remove the 11 bolts.


    Object Number: 1944920  Size: SH

    Note: Recognizable from the lettering "Right" (arrow).

  23. Prepare the right half of MK-6340 for use on the U 18 XER engine.
  24. • Detach the front panel (1) from MK-6340 .
    • Unscrew the 2 bolts (2).

    Object Number: 1944922  Size: SH

    Note: The spot-type marking (4) on the intake camshaft adjuster does not correspond to the groove of MK-6340 during this process but must be somewhat above as shown.

    The spot type marking (3) on the exhaust camshaft adjuster must correspond to the groove on MK-6340 .

  25. Insert MK-6340 into the camshaft timing gears.
  26. Insert MK-6340 (1, 2) in the camshaft adjuster as shown.


    Object Number: 1937014  Size: SH
  27. Stop the drive belt tensioner.
  28. Apply tension to the drive belt tensioner (2) in the direction of the arrow, using an Allen key (1). Fix using KM-6333 (3).

  29. Mark the drive belt direction of rotation.
  30. Raise the vehicle by its full height.

  31. Object Number: 1944953  Size: LH
  32. Block the crankshaft.
  33. • Attach KM-6625 .
    • Detach the screwed connection (1).
    • Insert KM-6625 (2).
    • Tighten the screwed connection (3).

    Object Number: 1944954  Size: SH
  34. Remove the torsional vibration damper (1).
  35. Remove the bolt (2).

  36. Remove the front drive belt cover (bottom) (3).
  37. Remove the 4 bolts (4).


    Object Number: 1945756  Size: SH
  38. Remove the drive belt guide roller.
  39. Remove the bolt.

  40. Clean the thread, drive belt guide roller.
  41. Lower the vehicle by its full height.
  42. Remove the drive belt.
  43. Raise the vehicle by its full height.
  44. Remove KM-6625 .
  45. Detach the screwed connection.


    Object Number: 1937030  Size: SH
  46. Turn the crankshaft 60 degrees against the direction of engine rotation.
  47. Lower the vehicle by its full height.
  48. Place the collecting basin underneath.
  49. Unscrew the closure bolt, exhaust camshaft adjuster.
  50. Unscrew the intake camshaft closure bolt.
  51. Loosen the exhaust camshaft adjuster.
  52. Counterhold at camshaft hexagon.

  53. Loosen the intake camshaft adjuster.
  54. Counterhold at camshaft hexagon.


    Object Number: 1945788  Size: MH

    Note: If MK-6628 cannot be inserted, the timing must be set.

  55. Insert MK-6628 (1) into the camshafts.
  56. Align the camshafts horizontally by the hexagon (arrows) until MK-6628 can be inserted in both camshafts.

Installation Procedure

    Caution: Refer to Fastener Caution in the Preface section.

  1. Tighten the exhaust camshaft adjuster.
  2. Tighten
    Tighten the exhaust camshaft adjuster to 65 N·m (48 lb ft) plus 125 degrees plus 15 degrees.

  3. Counterhold at camshaft hexagon.
  4. Tighten the intake camshaft adjuster.
  5. Tighten
    Tighten the intake camshaft adjuster to 65 N·m (48 lb ft) plus 125 degrees plus 15 degrees.

  6. Counterhold at camshaft hexagon.
  7. Tighten the exhaust camshaft adjuster closure bolt.
  8. Tighten
    Tighten the exhaust camshaft adjuster closure bolt to 30 N·m (22 lb ft).

  9. Replace the seal ring.
  10. Unscrew the intake camshaft closure bolt.
  11. Replace the seal ring.

  12. Remove MK-6628 .
  13. Raise the vehicle by its full height.

  14. Object Number: 1937010  Size: SH
  15. Set the crankshaft to cylinder number 1 ignition TDC (1).
  16. Marking, drive belt drive gear and oil pump housing must align.

  17. Block the crankshaft.
  18. • Insert KM-6625 .
    • Install the bolted connection.
  19. Lower the vehicle by its full height.
  20. Note: Use the assembly tool.

  21. Insert the drive belt.
  22. Fit the drive belt guide roller.
  23. Tighten
    Tighten the new bolt to 25 N·m (18 lb ft).

  24. Release the tension on the drive belt tensioner.
  25. • Apply preliminary tension clockwise to the drive belt tension roller.
    • Remove KM-6333 .
  26. Raise the vehicle by its full height.
  27. Install the drive belt cover lower section.
  28. Tighten
    Tighten the 4 bolts to 6 N·m (53 lb in).

    Note: New bolt must be coated with screw locking compound (red).

  29. Install the torsional vibration damper.
  30. Tighten
    Tighten the new bolt to 95 N·m (70 lb ft) plus 30 degrees plus 15 degrees.

  31. Remove KM-6625 .
  32. • Detach the screwed connection.
    • Tighten the bolted connection.
    • Use new nuts.
  33. Lower the vehicle by its full height.
  34. Remove MK-6340 .
  35. Check the position of the camshaft sprockets.
  36.    Note: Note marking, camshaft sprockets.

    • Turn the crankshaft 720 degrees in the direction of engine rotation by the bolt on the torsional vibration damper.
    • Insert MK-6340 into camshaft timing gears.
  37. Check camshaft positions.
  38. Raise the vehicle by its full height.
  39. Check crankshaft position.
  40. Insert MK-6628 in the camshafts, align the camshafts by hexagon until MK-6628 can be inserted in both camshafts, marking on torsional vibration damper must align with marking on lower part of drive belt cover.

  41. Clean the thread of the bolt, drive belt tensioner.
  42. Install the drive belt tensioner.
  43. Tighten
    Tighten the new bolt to 50 N·m (37 lb ft).

  44. Insert the drive belt.
  45. • Observe the direction of rotation.
    • Apply tension to the tensioner at projection counterclockwise in the direction of the arrow.
    • Remove KM-6349 .
  46. Install the lower engine compartment cover or the right engine splash guard.
  47. Lower the vehicle by its full height.
  48. Remove MK-6628 .
  49. Install the cylinder head cover.
  50. Replace the cylinder head gasket.

    Tighten
    Tighten the 11 bolts to 8 N·m (71 lb in).

  51. Install the engine venting pipe.
  52. Connect the 2 quick-release fittings.

  53. Attach the engine management wiring harness to the intake manifold.
  54. • Attach the wiring trough.
    • Clip on 3x.
    • Clip the wiring harness into the guide.
  55. Install the ignition module.
  56. • Insert the ignition module.
    • Unscrew the 2 KM-6009 .
    • Tighten the 2 bolts.

    Tighten
    Tighten the 2 bolts to 8 N·m (71 lb in).

    • Fix the wiring harness plug.
  57. Install the cover of the ignition module.
  58. Attach the engine management wiring harness to the intake manifold.
  59. Clip 2x in bracket.

  60. Remove MK-6340 .
  61. Attach the bracket.

    Tighten
    Tighten the 2 bolts to 5 N·m (44 lb in).

  62. Install the front drive belt cover (top).
  63. Tighten
    Tighten the 2 bolts to 6 N·m (53 lb in).

  64. Install the air cleaner assembly. Refer to Air Cleaner Assembly Replacement.
  65. • Attach the air intake hose to the throttle valve module.
    • Attach the resonator air intake housing to the air cleaner housing.
    • Connect the mass air flow meter wiring harness plug.
    • Fasten the clamp.
  66. Connect the battery.
  67. Attach the ground connection to the ground terminal.

    Tighten
    Tighten the nut to 5 N·m (44 lb in).

  68. For programming procedures, refer to Control Module References.
  69. Close the hood.