GM Service Manual Online
For 1990-2009 cars only

Special Tools

J 45185 Bore Gage Set

For equivalent regional tools, refer to Special Tools.


    Object Number: 2002600  Size: SH

    Note: Measure at different places and take an average. If the measurement is greater than the maximum, replace the fluid pump body with a new one.

  1. Using a J 45185 bore gage set and a micrometer, measure the inner diameter (A) of the fluid pump body bushing. Fluid pump body bushing maximum 38.14 mm (1.50 in).

  2. Object Number: 2002601  Size: SH

    Note: Measure at different places and take an average. If the measurement is greater than the maximum, replace the stator shaft with a new one.

  3. Using a J 45185 bore gage set and a micrometer, measure the inner diameter (A) of the stator shaft bushing. Stator shaft bushing front and rear maximum 18.026 mm (0.71 in).

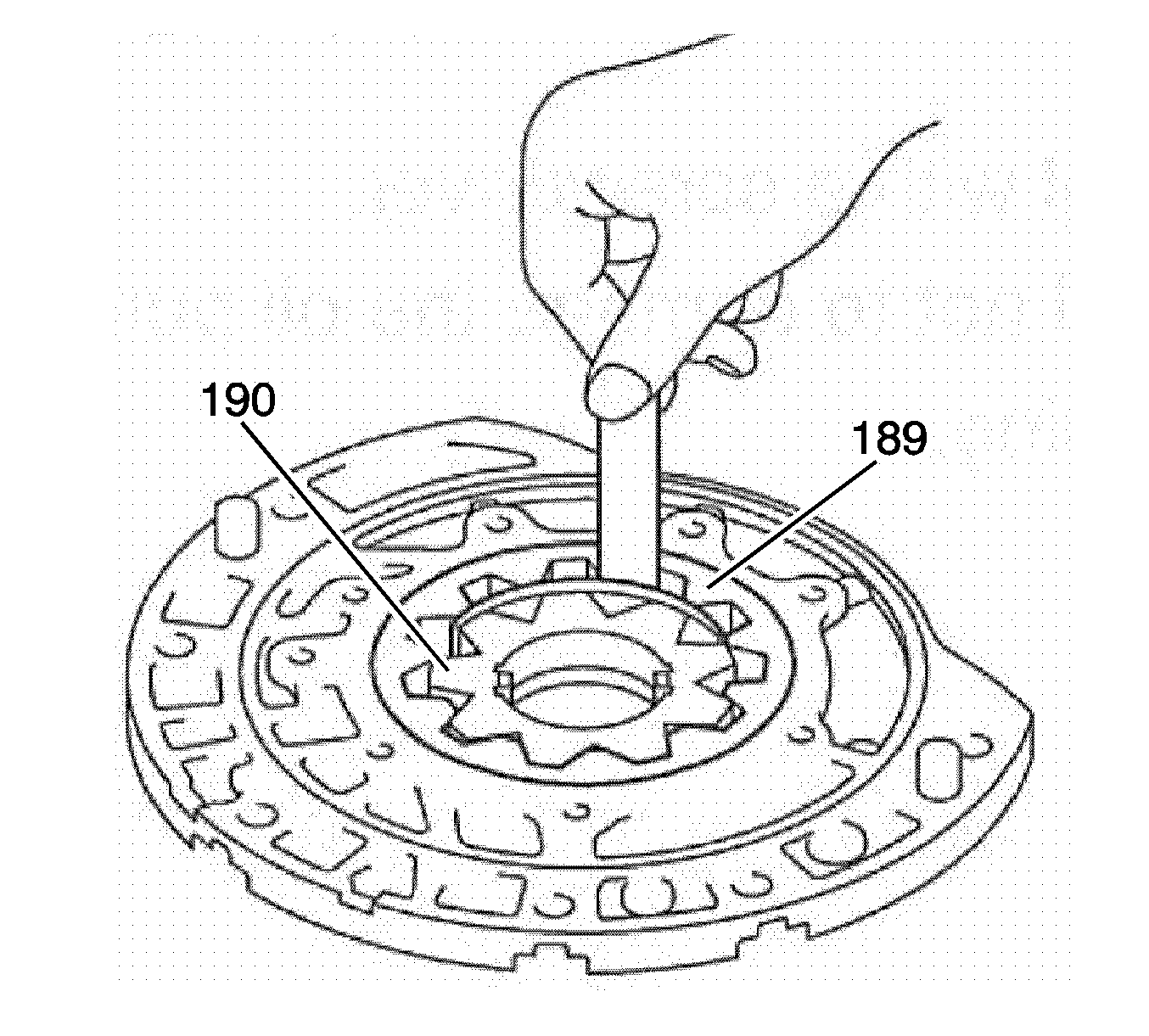
  4. Object Number: 2002602  Size: SH
  5. Push the driven gear (189) to one side of the body. Using a feeler gage, measure the clearance. Driven gear clearance 0.15 mm (0.006 in).

  6. Object Number: 2002603  Size: SH
  7. Using a feeler gage, measure between the fluid pump body drive and driven gear (189, 190) gear teeth and the crescent-shaped part of the pump body. Drive-driven gear teeth clearance maximum 0.25 mm (0.010 in).

  8. Object Number: 2002604  Size: SH
  9. Using a steel straightedge and a feeler gage, measure the side clearance of both gears. Side clearance of drive and driven gear minimum 0.002 mm (0.0008 in) and maximum 0.05 mm (0.002 in).