GM Service Manual Online
For 1990-2009 cars only

    Object Number: 2008779  Size: SH
  1. Remove the sleeve/bore plug retainer (382) and the primary regulator valve sleeve (376).
  2. Remove the primary regulator valve plunger (377), valve spring (378) and the primary regulator valve (379).

  3. Object Number: 2008780  Size: SH
  4. Remove the sleeve/bore plug retainer (382) and the accumulator regulator valve sleeve (396).
  5. Remove the accumulator regulator valve plunger (397), valve spring (398) and the accumulator regulator valve (399).

  6. Object Number: 2008789  Size: SH
  7. Remove the sleeve/bore plug retainer (382) and the solenoid B-1 modulator valve no. 1 sleeve (395).
  8. Remove the solenoid B-1 modulator valve no. 1 (394).
  9. Remove the solenoid B-1 modulator valve no. 1 spring (393) and the solenoid B-1 modulator valve no. 1 plunger (392).

  10. Object Number: 2008792  Size: SH
  11. Remove the sleeve/bore plug retainer (382) and valve bore plug (383)
  12. Remove the lock up control solenoid spring (381).
  13. Remove the lock up control solenoid valve (380).

  14. Object Number: 2008793  Size: SH
  15. Remove the sleeve/bore plug retainer (382) and the valve bore plug (384).
  16. Remove the 3-4 shift valve sleeve (385) and the 3-4 shift valve spring (386).
  17. Remove the 3-4 shift valve spring (386) and the 3-4 shift valve (387).

  18. Object Number: 2008794  Size: SH
  19. Remove the sleeve/bore plug retainer (382) and the valve bore plug (383).
  20. Remove the 2-3 shift valve spring (388) and the 2-3 shift valve (389).

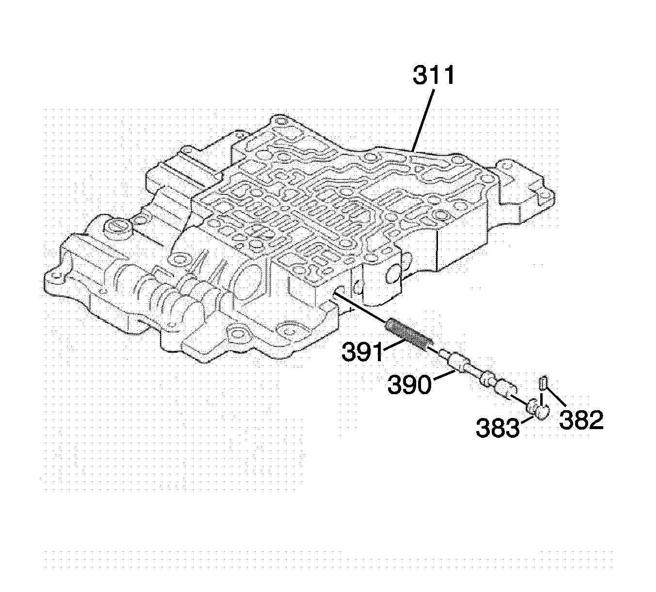
  21. Object Number: 2008795  Size: SH
  22. Remove the sleeve/bore plug retainer (382) and the valve bore plug (383).
  23. Remove the 1-2 shift valve (390) and the 1-2 shift valve spring (391).