GM Service Manual Online
For 1990-2009 cars only
Connector 1: X100 Transmission Harness to Automatic Transmission Harness (MNF)
Connector 2: X101 Body Harness to Left Front Wheel Speed Sensor Harness
Connector 3: X102 Forward Lamp Harness to Right Front Wheel Speed Sensor Harness
Connector 4: X103 Forward Lamp Harness to Left Headlamp Harness
Connector 5: X104 Forward Lamp Harness to Right Headlamp Harness
Connector 6: X105 Forward Lamp Harness to Right Front Wheel Speed Sensor Harness
Connector 7: X106 Power Steering Harness to Body Harness
Connector 8: X107 Body Harness to Forward Lamp Harness
Connector 9: X108 Body Harness to Engine and Transmission Harness
Connector 10: X109 Engine Harness to Engine and Transmission Harness
Connector 11: X110 Engine and Transmission Harness to Engine Control Module Harness
Connector 12: X111 Cooling Fan Harness to Forward Lamp Harness
Connector 13: X112 Forward Lamp Harness to Fog Lamp Harness
Connector 14: X113 Transmission Harness to Engine and Transmission Harness (MNF)
Connector 15: X114 Brake Booster Vacuum Pump Motor Harness to Body Harness
Connector 16: X200 Instrument Panel Harness to Body Harness
Connector 17: X201 Instrument Panel Harness to HVAC Harness
Connector 18: X203 Instrument Panel Harness to Body Harness
Connector 19: X204 Instrument Panel Harness to Transmission Harness (MNF)
Connector 20: X250 Instrument Panel Harness to HVAC Auxiliary Harness
Connector 21: X302 Radio Auxiliary Harness to Instrument Panel Harness
Connector 22: X303 Dome Lamp Harness to Body Harness (- C3U)
Connector 23: X304 Body Harness to Driver Seat Harness
Connector 24: X305 Body Harness to Passenger Seat Harness
Connector 25: X306 Transmission Harness to Automatic Transmission Shift Lock Control Jumper Harness (MNF)
Connector 26: X307 Body harness to Sunroof Harness (C3U)
Connector 27: X308 Body harness to Sunroof Harness (C3U)
Connector 28: X309 Body Harness to Instrument Panel Harness
Connector 29: X400 Fuel Tank Harness to Body Harness
Connector 30: X401 Liftgate Extension Harness to Rear Body Harness
Connector 31: X402 Rear Facia Harness to Body Rear Harness
Connector 32: X403 Rear Axle ABS Harness to Body Harness
Connector 33: X500 Body Harness to Driver Door Harness
Connector 34: X600 Body Harness to Passenger Door Harness
Connector 35: X700 Body Harness to Left Rear Door Harness (5 Door)
Connector 36: X800 Body Harness to Right Rear Door Harness (5 Door)
Connector 37: X901 Liftgate Extension Harness to Liftgate Harness

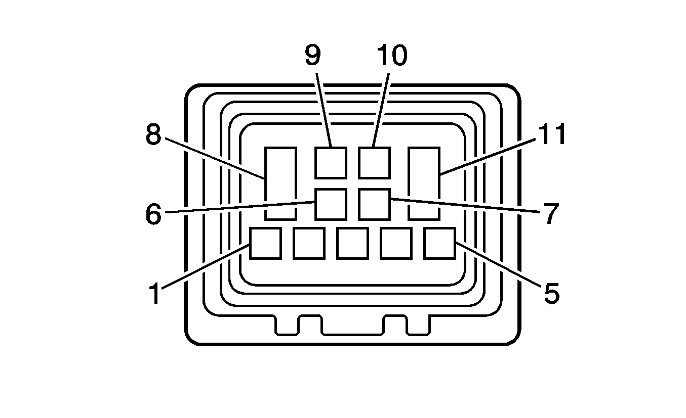
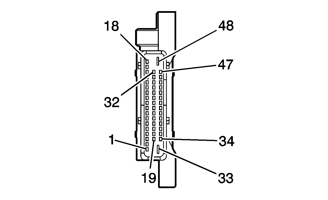
X100 Transmission Harness to Automatic Transmission Harness (MNF)


Object Number: 2039619  Size: CH

Object Number: 2100410  Size: CH

Connector Part Information

  • OEM:2-967564-1
  • Service: Service by Harness - See Part Catalog
  • Description: 16-Way F Sealed (GY)

Connector Part Information

  • OEM: 2-968677-1
  • Service: Service by Harness - See Part Catalog
  • Description: 16-Way M Sealed (GY)

Terminal Part Information

  • Terminal/Tray: Service by Harness - See Part Catalog
  • Release Tool/Test Probe: N/A

Terminal Part Information

  • Terminal/Tray: Service by Harness - See Part Catalog
  • Release Tool/Test Probe: N/A

X100 Transmission Harness to Automatic Transmission Harness (MNF)

Pin

Wire Color

Circuit No.

Function

Pin

Wire Color

Circuit No.

Function

1

0.5 BK/GN

1525

Shift Solenoid Supply Voltage 1

1

0.5 WH

1525

Shift Solenoid Supply Voltage 1

2

0.5 BK/WH

1527

Shift Solenoid Supply Voltage 3

2

0.5 RD

1527

Shift Solenoid Supply Voltage 3

3

0.5 WH/GN

1530

Transmission Mainline Pressure Solenoid Control

3

0.5 OG

1530

Transmission Mainline Pressure Solenoid Control

4

0.5 BK/BU

585

Transmission Oil Temperature Sensor Signal

4

0.5 OG

585

Transmission Oil Temperature Sensor Signal

5

0.5 YE/RD

1230

Transmission Speed Sensor Signal

5

0.5 YE/BK

1230

Transmission Speed Sensor Signal

6

0.5 YE/VT

400

Vehicle Speed Sensor Signal

6

0.5 YE

400

Vehicle Speed Sensor Signal

7-8

--

--

Not Used

7-8

--

--

Not Used

9

0.5 BK/VT

1526

Shift Solenoid Supply Voltage 2

9

0.5 BK

1526

Shift Solenoid Supply Voltage 2

10

0.5 WH/BK

1994

Shift Solenoid Control 4

10

0.5 YE

1994

Shift Solenoid Control 4

11

0.5 BU/WH

5503

Low Reference

11

0.5 GN

5503

Low Reference

12

0.5 BN/BK

586

Low Reference

12

0.5 OG

586

Low Reference

13

0.5 YE/BK

1231

Low Reference

13

0.5 GN

1231

Low Reference

14

0.5 YE/BN

401

Low Reference

14

0.5 GY

401

Low Reference

15

0.5 BN/GN

2879

Low Reference

15

0.5 TN

2879

Low Reference

16

--

--

Not Used

16

--

--

Not Used

X101 Body Harness to Left Front Wheel Speed Sensor Harness


Object Number: 1898384  Size: CH

Object Number: 2042891  Size: CH

Connector Part Information

  • OEM: 1452680-1
  • Service: Service by Harness - See Part Catalog
  • Description: 2-Way F 1.2 Timer Series, Sealed (BK)

Connector Part Information

  • OEM: 288041470838
  • Service: Service by Harness - See Part Catalog
  • Description: 2-Way M Superseal 1.5 Series, Sealed (BK)

Terminal Part Information

  • Terminal/Tray: Service by Harness - See Part Catalog
  • Release Tool/Test Probe: N/A

Terminal Part Information

  • Terminal/Tray: Service by Harness - See Part Catalog
  • Release Tool/Test Probe: N/A

X101 Body Harness to Left Front Wheel Speed Sensor Harness

Pin

Wire Color

Circuit No.

Function

Pin

Wire Color

Circuit No.

Function

1

0.5 BU/WH

830

Wheel Speed Sensor Signal Left Front

1

0.5 BU/WH

830

Wheel Speed Sensor Signal Left Front

2

0.5 BN/WH

873

Low Reference

2

0.5 BN/WH

873

Low Reference

X102 Forward Lamp Harness to Right Front Wheel Speed Sensor Harness


Object Number: 1898384  Size: CH

Object Number: 2042891  Size: CH

Connector Part Information

  • OEM: 1452680-1
  • Service: Service by Harness - See Part Catalog
  • Description: 2-Way F 1.2 Timer Series, Sealed (BK)

Connector Part Information

  • OEM: 288041470838
  • Service: Service by Harness - See Part Catalog
  • Description: 2-Way M Superseal 1.5 Series, Sealed (BK)

Terminal Part Information

  • Terminal/Tray: Service by Harness - See Part Catalog
  • Release Tool/Test Probe: N/A

Terminal Part Information

  • Terminal/Tray: Service by Harness - See Part Catalog
  • Release Tool/Test Probe: N/A

X102 Forward Lamp Harness to Right Front Wheel Speed Sensor Harness

Pin

Wire Color

Circuit No.

Function

Pin

Wire Color

Circuit No.

Function

1

0.5 BU/RD

872

Wheel Speed Sensor Signal Right Front

1

0.5 BU/RD

872

Wheel Speed Sensor Signal Right Front

2

0.5 BN/RD

833

Low Reference

2

0.5 BN/RD

833

Low Reference

X103 Forward Lamp Harness to Left Headlamp Harness


Object Number: 1849822  Size: CH

Object Number: 1480280  Size: CH

Connector Part Information

  • OEM: 1-0967189-1
  • Service: Service by Harness - See Part Catalog
  • Description: 10-Way F Junior Power Timer Series, Sealed (BK)

Connector Part Information

  • OEM: 1-962352-1
  • Service: Service by Harness - See Part Catalog
  • Description: 10-Way M Sealed (BK)

Terminal Part Information

  • Terminal/Tray: Service by Harness - See Part Catalog
  • Release Tool/Test Probe: N/A

Terminal Part Information

  • Terminal/Tray: Service by Harness - See Part Catalog
  • Release Tool/Test Probe: N/A

X103 Forward Lamp Harness to Left Headlamp Harness

Pin

Wire Color

Circuit No.

Function

Pin

Wire Color

Circuit No.

Function

1

1.5 BN

1150

Ground

1

BK

1150

Ground

BK

1150

Ground

2

1 WH

711

Left Headlamp High Beam Supply Voltage

2

BK

711

Left Headlamp High Beam Supply Voltage

3

1 YE

712

Left Headlamp Low Beam Supply Voltage

3

BK

712

Left Headlamp Low Beam Supply Voltage

4

0.5 GY/BK

709

Left Park Lamp Supply Voltage

4

BK

709

Left Park Lamp Supply Voltage

5

0.5 BK/WH

1314

Left Front Turn Signal Lamp Supply Voltage

5

BK

1314

Left Front Turn Signal Lamp Supply Voltage

6-8

--

--

Not Used

6-8

--

--

Not Used

9

1.5 BN

1150

Ground

9

BK

1150

Ground

10

1.5 BN

1150

Ground

10

BK

1150

Ground

X104 Forward Lamp Harness to Right Headlamp Harness


Object Number: 1849822  Size: CH

Object Number: 1480280  Size: CH

Connector Part Information

  • OEM: 1-0967189-1
  • Service: Service by Harness - See Part Catalog
  • Description: 10-Way F Junior Power Timer Series, Sealed (BK)

Connector Part Information

  • OEM: 1-9623521-1
  • Service: Service by Harness - See Part Catalog
  • Description: 10-Way M Sealed (BK)

Terminal Part Information

  • Terminal/Tray: Service by Harness - See Part Catalog
  • Release Tool/Test Probe: N/A

Terminal Part Information

  • Terminal/Tray: Service by Harness - See Part Catalog
  • Release Tool/Test Probe: N/A

X104 Forward Lamp Harness to Right Headlamp Harness

Pin

Wire Color

Circuit No.

Function

Pin

Wire Color

Circuit No.

Function

1

1.5 BN

1050

Ground

1

BK

1050

Ground

BK

1050

Ground

2

1 WH

311

Right Headlamp High Beam Supply Voltage

2

BK

311

Right Headlamp High Beam Supply Voltage

3

1 YE

312

Right Headlamp Low Beam Supply Voltage

3

BK

312

Right Headlamp Low Beam Supply Voltage

4

0.5 GY/BK

309

Right Park Lamp Supply Voltage

4

BK

309

Right Park Lamp Supply Voltage

5

0.5 BK/WH

1315

Right Front Turn Signal Lamp Supply Voltage

5

BK

1315

Right Front Turn Signal Lamp Supply Voltage

6-8

--

--

Not Used

6-8

--

--

Not Used

9

1.5 BN

1050

Ground

9

BK

1050

Ground

10

1.5 BN

10150

Ground

10

BK

1050

Ground

X105 Forward Lamp Harness to Right Front Wheel Speed Sensor Harness


Object Number: 1898384  Size: CH

Object Number: 2042891  Size: CH

Connector Part Information

  • OEM: 1452680-1
  • Service: Service by Harness - See Part Catalog
  • Description: 2-Way F 1.2 Timer Series Sealed (BK)

Connector Part Information

  • OEM: 288041470838
  • Service: Service by Harness - See Part Catalog
  • Description: 2-Way M Superseal 1.5 Series Sealed (BK)

Terminal Part Information

  • Terminal/Tray: Service by Harness - See Part Catalog
  • Release Tool/Test Probe: N/A

Terminal Part Information

  • Terminal/Tray: Service by Harness - See Part Catalog
  • Release Tool/Test Probe: N/A

X105 Forward Lamp Harness to Right Front Wheel Speed Sensor Harness

Pin

Wire Color

Circuit No.

Function

Pin

Wire Color

Circuit No.

Function

1

0.5 BU/RD

872

Wheel Speed Sensor Signal Right Front

1

0.5 BU/RD

872

Wheel Speed Sensor Signal Right Front

2

0.5 BN/RD

833

Low Reference

2

0.5 BN/RD

833

Low Reference

X106 Power Steering Harness to Body Harness


Object Number: 415930  Size: CH

Object Number: 2042934  Size: CH

Connector Part Information

  • OEM: ZFW5-22
  • Service: Service by Harness - See Part Catalog
  • Description: 5-Way F Sealed (BK)

Connector Part Information

  • OEM: 1928404590
  • Service: Service by Harness - See Part Catalog
  • Description: 5-Way M Sealed (BK)

Terminal Part Information

  • Terminal/Tray: Service by Harness - See Part Catalog
  • Release Tool/Test Probe: N/A

Terminal Part Information

  • Terminal/Tray: Service by Harness - See Part Catalog
  • Release Tool/Test Probe: N/A

X106 Power Steering Harness to Body Harness

Pin

Wire Color

Circuit No.

Function

Pin

Wire Color

Circuit No.

Function

1

0.5 BK

639

Run/Crank Ignition 1 Voltage

1

0.5 BK

639

Run/Crank Ignition 1 Voltage

2

0.75 GN

2500

High Speed GMLAN Serial Data (+) (NS2/NR1)

2

0.75 GN

2500

High Speed GMLAN Serial Data (+)

3

0.75 WH

2501

High Speed GMLAN Serial Data (-) (NS2/NR1)

3

0.75 WH

2501

High Speed GMLAN Serial Data (-)

4

0.5 GN/WH

377

Serial Data (- NS2/NR1)

4

0.5 GN/WH

377

Serial Data

5

0.5 BU/WH

225

Generator Turn On Signal (- NS2/NR1)

5

0.5 BU/WH

225

Generator Turn On Signal

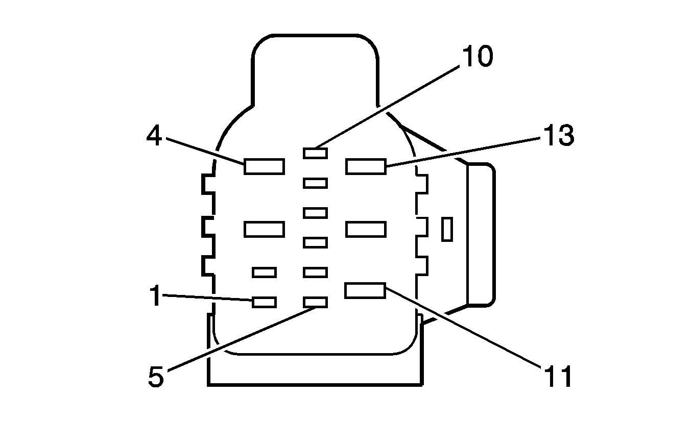
X107 Body Harness to Forward Lamp Harness


Object Number: 2042898  Size: CH

Object Number: 2042923  Size: CH

Connector Part Information

  • OEM: 60432101
  • Service: Service by Harness - See Part Catalog
  • Description: 48-Way F 1.5, 5.8 Timer Series, Sealed (BK)

Connector Part Information

  • OEM: 60531801
  • Service: 93186683
  • Description: 48-Way M 1.5, 5.8 Timer Series, Sealed (BK)

Terminal Part Information

  • Terminal/Tray: Service by Harness - See Part Catalog
  • Release Tool/Test Probe: N/A

Terminal Part Information

  • Terminal/Tray: Service by Harness - See Part Catalog
  • Release Tool/Test Probe: N/A

X107 Body Harness to Forward Lamp Harness

Pin

Wire Color

Circuit No.

Function

Pin

Wire Color

Circuit No.

Function

1-6

--

--

Not Used

1-6

--

--

Not Used

7

0.5 YE/GY

6776

Middle Front Impact Sensing Module 2 Supply Voltage

7

0.5 YE/GY

6776

Middle Front Impact Sensing Module 2 Supply Voltage

8

0.5 GN/WH

6777

Middle Front Impact Sensing Module 2 Signal

8

0.5 GN/WH

6777

Middle Front Impact Sensing Module 2 Signal

9

0.5 BU/RD

872

Wheel Speed Sensor Signal Right Front

9

0.5 BU/RD

872

Wheel Speed Sensor Signal Right Front

10

0.5 BN/RD

833

Low Reference

10

0.5 BN/RD

833

Low Reference

11

--

--

Not Used

11

--

--

Not Used

12

0.5 BK/WH

6168

Middle Front Impact Sensing Module Supply Voltage

12

0.5 BK/WH

6168

Middle Front Impact Sensing Module Supply Voltage

13

0.5 OG/BK

6169

Middle Front Impact Sensing Module Signal

13

0.5 OG/BK

6169

Middle Front Impact Sensing Module Signal

14

0.5 BK/GN

1415

Right Front Turn Signal Switch Signal

14

0.5 BK/GN

1415

Right Front Turn Signal Switch Signal

15

0.5 BK/WH

1414

Left Front Turn Signal Switch Signal

15

0.5 BK/WH

1414

Left Front Turn Signal Switch Signal

16-32

--

--

Not Used

16-32

--

--

Not Used

33

2.5 RD

342

Battery Positive Voltage

33

2.5 RD

342

Battery Positive Voltage

34-48

--

--

Not Used

34-48

--

--

Not Used

X108 Body Harness to Engine and Transmission Harness


Object Number: 2071561  Size: CH

Object Number: 2071563  Size: CH

Connector Part Information

  • OEM: 1-967189-1
  • Service: 88988927
  • Description: 10-Way F Junior Power Timer Series (BK)

Connector Part Information

  • OEM: 1452546-1
  • Service: Service by Harness - See Part Catalog
  • Description: 10-Way M Junior Power Timer Series (BK)

Terminal Part Information

  • Terminal/Tray: Service by Harness - See Part Catalog
  • Release Tool/Test Probe: N/A

Terminal Part Information

  • Terminal/Tray: Service by Harness - See Part Catalog
  • Release Tool/Test Probe: N/A

X108 Body Harness to Engine and Transmission Harness

Pin

Wire Color

Circuit No.

Function

Pin

Wire Color

Circuit No.

Function

1

0.5 BN/YE

251

Low Reference

1

0.5 BU/TN

251

Low Reference

2

0.5 BN

30

Fuel Level Sensor Signal

2

0.5 BU

30

Fuel Level Sensor Signal

3

1 BU

5372

Ignition Voltage

3

1 RD/BK

5291

Ignition Voltage

4

1 GN

2350

EVAP Canister Vent Solenoid Control

4

1 TN

2350

EVAP Canister Vent Solenoid Control

5

0.5 BN/YE

998

MIL Control

5

0.5 BK

998

MIL Control

6

0.5 BK

1039

ECM Starter Control

6

0.5 BU/BK

1039

ECM Starter Control (M25)

7

0.5 VT

1935

CPP Starter Control

7

0.5 BU/BK

1935

CPP Starter Control (M25)

8-10

--

--

Not Used

8-10

--

--

Not Used

X109 Engine Harness to Engine and Transmission Harness


Object Number: 2100407  Size: CH

Object Number: 2100408  Size: CH

Connector Part Information

  • OEM: ZFW6
  • Service: Service by Harness - See Part Catalog
  • Description: 6-Way F Sealed (BK w/RD Lock)

Connector Part Information

  • OEM: ZMW6
  • Service: Service by Harness - See Part Catalog
  • Description: 6-Way M Sealed (BK)

Terminal Part Information

  • Terminal/Tray: Service by Harness - See Part Catalog
  • Release Tool/Test Probe: N/A

Terminal Part Information

  • Terminal/Tray: Service by Harness - See Part Catalog
  • Release Tool/Test Probe: N/A

X109 Engine Harness to Engine and Transmission Harness

Pin

Wire Color

Circuit No.

Function

Pin

Wire Color

Circuit No.

Function

1

0.5 BU/WH

225

Generator Turn On Signal

1

0.5 BU/WH

225

Generator Turn On Signal

2

2.5 BK/RD

6

Starter Solenoid Crank Voltage

2

2.5 BK/RD

6

Starter Solenoid Crank Voltage

3-6

--

--

Not Used

3-6

--

--

Not Used

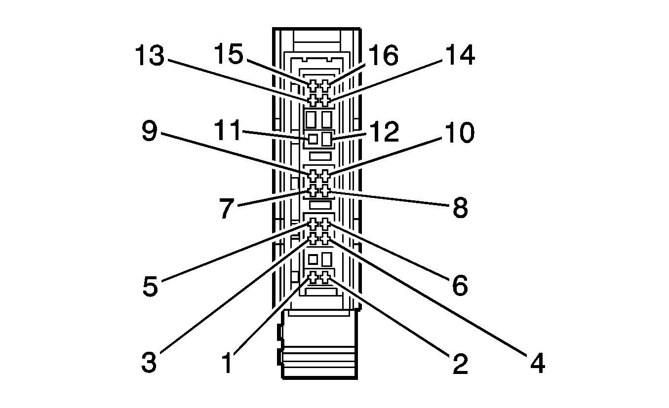
X110 Engine and Transmission Harness to Engine Control Module Harness


Object Number: 2042924  Size: CH

Object Number: 2042925  Size: CH

Connector Part Information

  • OEM: ZFW11
  • Service: Service by Harness - See Part Catalog
  • Description: 11-Way F Sealed (BK)

Connector Part Information

  • OEM: ZMW11
  • Service: Service by Harness - See Part Catalog
  • Description: 11-Way M Sealed (BK)

Terminal Part Information

  • Terminal/Tray: Service by Harness - See Part Catalog
  • Release Tool/Test Probe: N/A

Terminal Part Information

  • Terminal/Tray: Service by Harness - See Part Catalog
  • Release Tool/Test Probe: N/A

X110 Engine and Transmission Harness to Engine Control Module Harness

Pin

Wire Color

Circuit No.

Function

Pin

Wire Color

Circuit No.

Function

1-2

--

--

Not Used

1-2

--

--

Not Used

3

1 BN/BK

260

Fuel Injection Control

3

1 RD/BU

260

Fuel Injection Control

4

--

--

Not Used

4

--

--

Not Used

5

1.5 BK

39

Run/Crank Ignition 1 Voltage

5

1.5 BK

39

Run/Crank Ignition 1 Voltage

6-7

--

--

Not Used

6-7

--

--

Not Used

8

2.5 OG/BK

5291

Ignition Voltage

8

2.5 OG/BK

5291

Ignition Voltage

9-11

--

--

Not Used

9-11

--

--

Not Used

X111 Cooling Fan Harness to Forward Lamp Harness


Object Number: 2042928  Size: CH

Object Number: 2042929  Size: CH

Connector Part Information

  • OEM: ZFW13
  • Service: See Catalog
  • Description: 13-Way F Sealed (BK)

Connector Part Information

  • OEM: 15439852
  • Service: 93186717
  • Description: 13-Way M 1.6, 2.8, 6.3 Series, Sealed (BK)

Terminal Part Information

  • Terminal/Tray: Service by Harness - See Part Catalog
  • Release Tool/Test Probe: N/A

Terminal Part Information

  • Terminal/Tray: Service by Harness - See Part Catalog
  • Release Tool/Test Probe: N/A

X111 Cooling Fan Harness to Forward Lamp Harness (C60)

Pin

Wire Color

Circuit No.

Function

Pin

Wire Color

Circuit No.

Function

1

1.5 BK/WH

59

A/C Compressor Clutch Supply Voltage (C60)

1

1.5 BK/WH

59

A/C Compressor Clutch Supply Voltage (C60)

2

1.5 BN/RD

1250

Ground

2

1.5 BN

1250

Ground

3

6 RD/WH

532

Cooling Fan Motor Supply Voltage 2 (MNF)

3

6 RD/WH

532

Cooling Fan Motor Supply Voltage 2 (MNF)

4

--

--

Not Used

4

--

--

Not Used

5

0.5 BK/WH

2700

5 Volt Reference 1 (C60)

5

0.5 BK/WH

2700

5 Volt Reference 1 (C60)

6

0.5 GN

380

A/C Refrigerant Pressure Sensor Signal (C60)

6

0.5 GN

380

A/C Refrigerant Pressure Sensor Signal (C60)

7

0.5 BN/BK

5514

Low Reference (C60)

7

0.5 BN/BK

5514

Low Reference (C60)

8-11

--

--

Not Used

8-9

--

--

Not Used

12

4 RD/WH

532

Cooling Fan Motor Supply Voltage 2 (M25)

12

4 RD/WH

532

Cooling Fan Motor Supply Voltage 2 (M25)

6 BN/GN

504

Low Reference (MNF)

6 RD/WH

504

Low Reference (MNF)

13

4 RD/YE

409

Cooling Fan Motor Supply Voltage 1

13

4 RD/YE

409

Cooling Fan Motor Supply Voltage 1

X112 Forward Lamp Harness to Fog Lamp Harness


Object Number: 831372  Size: CH

Object Number: 813080  Size: CH

Connector Part Information

  • OEM: 15326849
  • Service: 88986260
  • Description: 12-Way F GT 150 280 Series, Sealed (BK)

Connector Part Information

  • OEM: 15326854
  • Service: See Catalog
  • Description: 12-Way M GT 150 280 Series, Sealed (BK)

Terminal Part Information

  • Terminal/Tray: Service by Harness - See Part Catalog
  • Release Tool/Test Probe: N/A

Terminal Part Information

  • Terminal/Tray: Service by Harness - See Part Catalog
  • Release Tool/Test Probe: N/A

X112 Forward Lamp Harness to Fog Lamp Harness

Pin

Wire Color

Circuit No.

Function

Pin

Wire Color

Circuit No.

Function

A

1.5 BN

1150

Ground (T96)

A

1.5 BN

1150

Ground (T96)

B

1.5 BN/GY

5061

Left Front Fog Lamp Supply Voltage (T96)

B

1.5 BN/GY

5061

Left Front Fog Lamp Supply Voltage (T96)

C

1.5 BN

1050

Ground (T96)

C

1.5 BN

1050

Ground (T96)

D

1.5 BN/GN

5062

Right Front Fog Lamp Supply Voltage (T96)

D

1.5 BN/GN

5062

Right Front Fog Lamp Supply Voltage (T96)

E

0.5 BU

636

Outside Ambient Air Temperature Sensor Signal

E

0.5 BU

636

Outside Ambient Air Temperature Sensor Signal

F

0.5 BU/BN

61

Low Reference

F

0.5 BU/BN

61

Low Reference

G

0.5 BN

1150

Ground

G

0.5 BN

1150

Ground

H

0.5 BK/WH

1414

Left Front Turn Signal Switch Signal

H

0.5 BK/WH

1414

Left Front Turn Signal Switch Signal

J

0.5 BN

1050

Ground

J

0.5 BN

1050

Ground

K

0.5 BK/GN

1415

Right Front Turn Signal Switch Signal

K

0.5 BK/GN

1415

Right Front Turn Signal Switch Signal

L

0.5 BU

636

Outside Ambient Air Temperature Sensor Signal

L

0.5 BU

636

Outside Ambient Air Temperature Sensor Signal

M

0.5 BU/BN

61

Low Reference

M

0.5 BU/BN

61

Low Reference

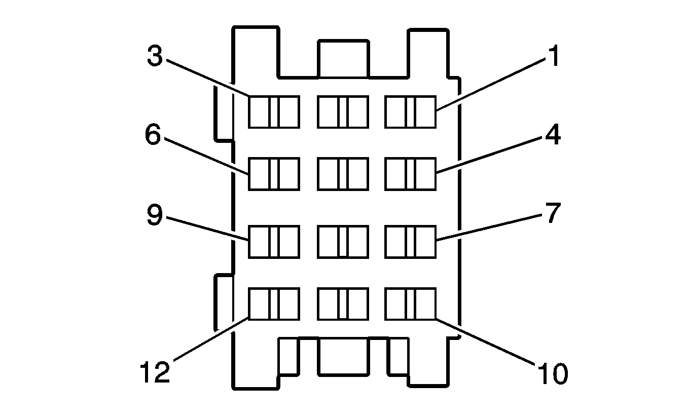
X113 Transmission Harness to Engine and Transmission Harness (MNF)


Object Number: 1331440  Size: CH

Object Number: 1312569  Size: CH

Connector Part Information

  • OEM: 1-0967189-1
  • Service: Service by Harness - See Part Catalog
  • Description: 10-Way F Sealed (BK)

Connector Part Information

  • OEM: 12186711
  • Service: Service by Harness - See Part Catalog
  • Description: 10-Way M Sealed (BK)

Terminal Part Information

  • Terminal/Tray: Service by Harness - See Part Catalog
  • Release Tool/Test Probe: N/A

Terminal Part Information

  • Terminal/Tray: Service by Harness - See Part Catalog
  • Release Tool/Test Probe: N/A

X113 Transmission Harness to Engine and Transmission Harness (MNF)

Pin

Wire Color

Circuit No.

Function

Pin

Wire Color

Circuit No.

Function

1

1.5 BK

539

Run/Crank Ignition 1 Voltage

1

1.5 BK

539

Run/Crank Ignition 1 Voltage

2

0.5 GN

2500

High Speed GMLAN Serial Data (+)

2

0.5 BU

2500

High Speed GMLAN Serial Data (+)

3

0.5 WH

2501

High Speed GMLAN Serial Data (-)

3

0.5 GN

2501

High Speed GMLAN Serial Data (-)

4

0.5 GN

2500

High Speed GMLAN Serial Data (+)

4

0.5 BU

2500

High Speed GMLAN Serial Data (+)

5

0.5 WH

2501

High Speed GMLAN Serial Data (-)

5

0.5 GN

2501

High Speed GMLAN Serial Data (-)

6

0.75 RD

3740

Battery Positive Voltage

6

0.75 RD

3740

Battery Positive Voltage

7

0.5 WH

771

Transmission Position Switch Bit 1 Signal

7

0.5 WH

771

Transmission Position Switch Bit 1 Signal

8

0.5 GN

772

Transmission Position Switch Bit 2 Signal

8

0.5 GN/WH

772

Transmission Position Switch Bit 2 Signal

9

0.5 GY

773

Transmission Position Switch Bit 3 Signal

9

0.5 GY

773

Transmission Position Switch Bit 3 Signal

10

0.5 WH/YE

1371

Transmission Position Switch Bit 4 Signal

10

0.5 WH/YE

1371

Transmission Position Switch Bit 4 Signal

X114 Brake Booster Vacuum Pump Motor Harness to Body Harness


Object Number: 2071564  Size: CH

Object Number: 2071566  Size: CH

Connector Part Information

  • OEM: 1928403428
  • Service: Service by Harness - See Part Catalog
  • Description: 2-Way F Sealed (BK)

Connector Part Information

  • OEM: See Catalog
  • Service: Service by Harness - See Part Catalog
  • Description: 2-Way M Sealed (BK)

Terminal Part Information

  • Terminal/Tray: Service by Harness - See Part Catalog
  • Release Tool/Test Probe: N/A

Terminal Part Information

  • Terminal/Tray: Service by Harness - See Part Catalog
  • Release Tool/Test Probe: N/A

X114 Brake Booster Vacuum Pump Motor Harness to Body Harness

Pin

Wire Color

Circuit No.

Function

Pin

Wire Color

Circuit No.

Function

A

2.5 BN

1350

Ground

A

2.5 BN

1350

Ground

B

2.5 BK

7448

Brake Booster Pump Supply Voltage

B

2.5 BK

7448

Brake Booster Pump Supply Voltage

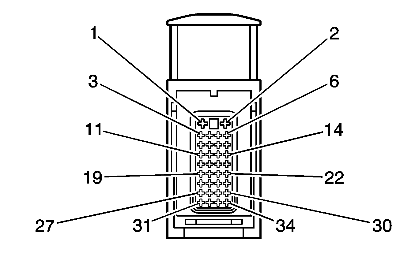
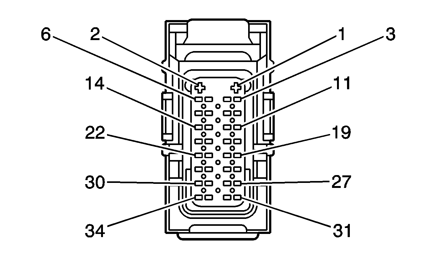
X200 Instrument Panel Harness to Body Harness


Object Number: 2042930  Size: CH

Object Number: 2042931  Size: CH

Connector Part Information

  • OEM: 1355713-1
  • Service: Service by Harness - See Part Catalog
  • Description: 102-Way F 1.5, 2.5, 9.5 Series (BK)

Connector Part Information

  • OEM: 1452764-1
  • Service: Service by Harness - See Part Catalog
  • Description: 102-Way M 1.5, 2.5, 9.5 Series (BK)

Terminal Part Information

  • Terminal/Tray: Service by Harness - See Part Catalog
  • Release Tool/Test Probe: N/A

Terminal Part Information

  • Terminal/Tray: Service by Harness - See Part Catalog
  • Release Tool/Test Probe: N/A

X200 Instrument Panel Harness to Body Harness

Pin

Wire Color

Circuit No.

Function

Pin

Wire Color

Circuit No.

Function

1

0.5 BN/RD

1271

Low Reference

1

0.5 BN/RD

1271

Low Reference

2

0.5 BK/RD

1164

5 Volt Reference 1

2

0.5 BK/RD

1164

5 Volt Reference 1

3

0.5 WH/YE

1161

Accelerator Pedal Position Signal 1

3

0.5 WH/YE

1161

Accelerator Pedal Position Signal 1

4

0.5 BN/WH

1272

Low Reference

4

0.5 BN/WH

1272

Low Reference

5

0.5 BK/YE

1274

5 Volt Reference 2

5

0.5 BK/YE

1274

5 Volt Reference 2

6

0.5 WH/GN

1162

Accelerator Pedal Position Signal 2

6

0.5 WH/GN

1162

Accelerator Pedal Position Signal 2

7

0.5 RD

1542

Battery Positive Voltage (C60)

7

0.5 RD

1542

Battery Positive Voltage

8

0.5 OG/WH

5018

Occupant Sensor Serial Data

8

0.5 OG/WH

5018

Occupant Sensor Serial Data

9-11

--

--

Not Used

9-11

--

--

Not Used

12

0.75 BK

839

Run/Crank Ignition 1 Voltage

12

0.75 BK

839

Run/Crank Ignition 1 Voltage

13

0.5 BK/YE

1733

Inadvertant Power Courtesy Lamp

13

0.5 BK/YE

1733

Inadvertant Power Courtesy Lamp

14-15

--

--

Not Used

14-15

--

--

Not Used

16

0.5 GY/YE

1382

LED Dimming Signal

16

0.5 GY/YE

1382

LED Dimming Signal

17

0.75 RD

1742

Battery Positive Voltage

17

0.75 RD

1742

Battery Positive Voltage

18

0.5 VT

1935

CPP Starter Control

18

0.5 VT

1935

CPP Starter Control

19

0.5 BU/BN

1903

ABS Wheel Speed Sensor Signal Left Front

19

0.5 BU/BN

1903

ABS Wheel Speed Sensor Signal Left Front

20

0.5 BK

1039

ECM Starter Control

20

0.5 BK

1039

ECM Starter Control

21

0.5 BK/BN

848

Brake Switch Signal

21

0.5 BK/BN

848

Brake Switch Signal

22

0.5 BN/GY

17

Stop Lamp Switch Signal

22

0.5 BN/GY

17

Stop Lamp Switch Signal

23

0.5 RD/BU

5293

Ignition Voltage

23

0.5 RD/BU

5293

Ignition Voltage

24

0.5 RD

302

Battery Positive Voltage

24

0.5 RD

302

Battery Positive Voltage

25

0.5 GN/WH

377

Serial Data

25

0.5 GN/WH

377

Serial Data

26

0.75 RD

1442

Battery Positive Voltage

26

0.75 RD

1442

Battery Positive Voltage

27

0.75 BN/BU

118

Left Front Speaker Signal (-)

27

0.75 BN/BU

118

Left Front Speaker Signal (-)

28

0.75 BU

201

Left Front Speaker (+)

28

0.75 BU

201

Left Front Speaker (+)

29

0.75 YE

200

Right Front Speaker (+)

29

0.75 YE

200

Right Front Speaker (+)

30

0.75 BN/YE

117

Right Front Speaker Signal (-)

30

0.75 BN/YE

117

Right Front Speaker Signal (-)

31

0.75 GN

199

Left Rear Speaker (+)

31

0.75 GN

199

Left Rear Speaker (+)

32

0.75 BN/GN

116

Left Rear Speaker Signal (-)

32

0.75 BN/GN

116

Left Rear Speaker Signal (-)

33-36

--

--

Not Used

33-36

--

--

Not Used

37

0.5 BK

1039

Run/Crank Ignition 1 Voltage

37

0.5 BK

1039

Run/Crank Ignition 1 Voltage

38

0.5 GY

379

Cruise Control Clutch Pedal Position Switch Signal

38

0.5 GY

379

Cruise Control Clutch Pedal Position Switch Signal

39-40

--

--

Not Used

39-40

--

--

Not Used

41

0.5 VT/BN

5968

Driver Door Lock Status Indicator Signal

41

0.5 VT/BN

5968

Driver Door Lock Status Indicator Signal

42

--

--

Not Used

42

--

--

Not Used

43

0.75 BK

3

Run/Crank Ignition 1 Voltage

43

0.75 BK

3

Run/Crank Ignition 1 Voltage

44

0.5 BK

239

Run/Crank Ignition 1 Voltage

44

0.5 BK

239

Run/Crank Ignition 1 Voltage

45

0.75 RD

3140

Battery Positive Voltage

45

0.75 RD

3140

Battery Positive Voltage

46

0.75 RD

1540

Battery Positive Voltage

46

0.75 RD

1540

Battery Positive Voltage

47

0.5 BN/RD

1134

Park Brake Switch Signal

47

0.5 BN/RD

1134

Park Brake Switch Signal

48

0.5 BN/GY

1462

Driver Heated Seat Switch Control (KA1)

48

0.5 BN/GY

1462

Driver Heated Seat Switch Control (KA1)

49

0.5 BK/YE

1505

Front Passenger Heated Seat Switch Control (KA1)

49

0.5 BK/YE

1505

Front Passenger Heated Seat Switch Control (KA1)

50

0.5 GN

5060

Low Speed GMLAN Serial Data

50

0.5 GN

5060

Low Speed GMLAN Serial Data

51

0.5 GN

5060

Low Speed GMLAN Serial Data

51

0.5 GN

5060

Low Speed GMLAN Serial Data

52

0.5 WH

2501

High Speed GMLAN Serial Data (-)

52

0.5 WH

2501

High Speed GMLAN Serial Data (-)

53

0.5 GN

2500

High Speed GMLAN Serial Data (+)

53

0.5 GN

2500

High Speed GMLAN Serial Data (+)

54

--

--

Not Used

54

--

--

Not Used

55

0.5 BN/WH

28

Horn Relay Control

55

0.5 BN/WH

28

Horn Relay Control

56-57

--

--

Not Used

56-57

--

--

Not Used

58

0.5 GN/WH

2514

Keypad Signal

58

0.5 GN/WH

2514

Keypad Signal

59

0.5 OG/BK

2518

10-Volt Reference

59

0.5 OG/BK

2518

10-Volt Reference

60

0.5 YE/BK

2516

Keypad Green LED

60

0.5 YE/BK

2516

Keypad Green LED

61

0.5 BN/WH

2517

Keypad Red LED

61

0.5 BN/WH

2517

Keypad Red LED

62

0.5 WH

194

Door Unlock Control

62

0.5 WH

194

Door Unlock Control

63-64

--

--

Not Used

63-64

--

--

Not Used

65

0.5 BN/YE

998

MIL Control

65

0.5 BN/YE

998

MIL Control

66

0.35 BK

5193

Low Reference

66

0.35 BK

5193

Low Reference

67-76

--

--

Not Used

67-76

--

--

Not Used

77

0.35 BU/RD

5191

Cellular Telephone Microphone Signal

77

0.35 BU/RD

5191

Cellular Telephone Microphone Signal

78-86

--

--

Not Used

78-86

--

--

Not Used

87

0.75 BN/WH

115

Right Rear Speaker Signal (-)

87

0.75 BN/WH

115

Right Rear Speaker Signal (-)

88

0.75 WH

46

Right Rear Speaker (+)

88

0.75 WH

46

Right Rear Speaker (+)

89

--

--

Not Used

89

--

--

Not Used

90

4 BK

1241

Run Ignition 3 Voltage

90

4 BK

1241

Run Ignition 3 Voltage

91

1.5 RD

502

Battery Positive Voltage

91

1.5 RD

502

Battery Positive Voltage

92

--

--

Not Used

92

--

--

Not Used

93

2.5 RD

3040

Battery Positive Voltage

93

2.5 RD

3040

Battery Positive Voltage

94-102

--

--

Not Used

94-102

--

--

Not Used

X201 Instrument Panel Harness to HVAC Harness


Object Number: 2039663  Size: CH
 

Connector Part Information

  • OEM: ZF14-6
  • Service: Service by Harness - See Part Catalog
  • Description: 14-Way F (BK)

Connector Part Information

  • OEM: ZM14-6
  • Service: Service by Harness - See Part Catalog
  • Description: 14-Way M (BK)

Terminal Part Information

  • Terminal/Tray: Service by Harness - See Part Catalog
  • Release Tool/Test Probe: N/A

Terminal Part Information

  • Terminal/Tray: Service by Harness - See Part Catalog
  • Release Tool/Test Probe: N/A

X201 Instrument Panel Harness to HVAC Harness

Pin

Wire Color

Circuit No.

Function

Pin

Wire Color

Circuit No.

Function

1

1 BN

1650

Ground

1

1 YE/BK

1650

Ground

2

0.5 GY/YE

1382

LED Dimming Signal

2

0.5 GN

1382

LED Dimming Signal

3

--

--

Not Used

3

--

--

Not Used

4

0.5 BK/WH

292

Rear Defog Switch Signal

4

0.5 BU

292

Rear Defog Switch Signal

5

0.5 BN/WH

193

Rear Defog Relay Control

5

0.5 BN/WH

193

Rear Defog Relay Control

6

0.5 BK/VT

66

A/C Request Signal (C60)

6

0.5 BK/WH

66

A/C Request Signal (C60)

7

--

--

Not Used

7

--

--

Not Used

8

0.5 RD

1542

Battery Positive Voltage (C60)

8

0.5 OG

1542

Battery Positive Voltage (C60)

9

0.75 BK

839

Run/Crank Ignition 1 Voltage

9

0.75 YE/GN

839

Run/Crank Ignition 1 Voltage

10-12

--

--

Not Used

10-12

--

--

Not Used

13

4 BK

1241

Run Ignition 3 Voltage

13

4 RD

1241

Run Ignition 3 Voltage

14

4 BN

1850

Ground

14

4 BK

1850

Ground

X203 Instrument Panel Harness to Body Harness


Object Number: 894243  Size: CH

Object Number: 1830938  Size: CH

Connector Part Information

  • OEM: 355726-1
  • Service: Service by Harness - See Part Catalog
  • Description: 2-Way F (WH)

Connector Part Information

  • OEM: 1355729-1
  • Service: Service by Harness - See Part Catalog
  • Description: 2-Way M (WH)

Terminal Part Information

  • Terminal/Tray: Service by Harness - See Part Catalog
  • Release Tool/Test Probe: N/A

Terminal Part Information

  • Terminal/Tray: Service by Harness - See Part Catalog
  • Release Tool/Test Probe: N/A

X203 Instrument Panel Harness to Body Harness

Pin

Wire Color

Circuit No.

Function

Pin

Wire Color

Circuit No.

Function

1

0.35 COAX

6794

GSM Antenna Signal

1

0.35 COAX

6794

GSM Antenna Signal

2

0.35 COAX

5174

Antenna Navigation Signal

2

0.35 COAX

5174

Antenna Navigation Signal

X204 Instrument Panel Harness to Transmission Harness (MNF)


Object Number: 2042932  Size: CH

Object Number: 2042933  Size: CH

Connector Part Information

  • OEM: 15426890
  • Service: Service by Harness - See Part Catalog
  • Description: 12-Way F 1.2 Series (BK)

Connector Part Information

  • OEM: 15426894
  • Service: Service by Harness - See Part Catalog
  • Description: 12-Way M 1.2 Series (BK)

Terminal Part Information

  • Terminal/Tray: Service by Harness - See Part Catalog
  • Release Tool/Test Probe: N/A

Terminal Part Information

  • Terminal/Tray: Service by Harness - See Part Catalog
  • Release Tool/Test Probe: N/A

X204 Instrument Panel Harness to Transmission Harness

Pin

Wire Color

Circuit No.

Function

Pin

Wire Color

Circuit No.

Function

1

1 BN

2150

Ground

1

1 BN

2150

Ground (MNF)

2

0.5 BN/GY

17

Stop Lamp Switch Signal

2

0.5 BN/GY

17

Stop Lamp Switch Signal (MNF)

3

0.5 GY/YE

1382

LED Dimming Signal

3

0.5 GY/YE

1382

LED Dimming Signal (MNF)

4-12

--

--

Not Used

4-12

--

--

Not Used

X250 Instrument Panel Harness to HVAC Auxiliary Harness


Object Number: 2039629  Size: CH
 

Connector Part Information

  • OEM: 968571-1
  • Service: Service by Harness - See Part Catalog
  • Description: 9-Way F 64 MQS Series, (GY)

Connector Part Information

  • Harness: Option Not Available
  • OEM: Option Not Available
  • Service: Option Not Available
  • Description: Option Not Available

Terminal Part Information

  • Terminal/Tray: Service by Harness - See Part Catalog
  • Release Tool/Test Probe: N/A

Terminal Part Information

  • Terminated Lead: Option Not Available

X250 Instrument Panel Harness to HVAC Auxiliary Harness

Pin

Wire Color

Circuit No.

Function

Pin

Wire Color

Circuit No.

Function

1

BK

839

Run/Crank Ignition 1 Voltage

1

--

--

Option Not Available

2

--

--

Not Used

2

--

--

Option Not Available

3

GN

5060

Low Speed GMLAN Serial Data

3

--

--

Option Not Available

4-6

--

--

Not Used

4-6

--

--

Option Not Available

7

BN

1850

Ground

7

--

--

Option Not Available

8-9

--

--

Not Used

8-9

--

--

Option Not Available

X302 Radio Auxiliary Harness to Instrument Panel Harness


Object Number: 2039656  Size: CH

Object Number: 2039683  Size: CH

Connector Part Information

  • OEM: 1452142-1
  • Service: 93186706
  • Description: 3-Way F (BK)

Connector Part Information

  • OEM: 1-962342-1
  • Service: Service by Harness - See Part Catalog
  • Description: 3-Way M (BK)

Terminal Part Information

  • Terminal/Tray: Service by Connector Assembly - 93186706
  • Release Tool/Test Probe: N/A

Terminal Part Information

  • Terminal/Tray: Service by Harness - See Part Catalog
  • Release Tool/Test Probe: N/A

X302 Radio Auxiliary Harness to Instrument Panel Harness

Pin

Wire Color

Circuit No.

Function

Pin

Wire Color

Circuit No.

Function

1

0.35 VT/RD

5841

Upfitter Provision

1

0.35 VT/RD

5841

Right Auxiliary Audio Signal 2

2

0.35 VT/WH

5839

Upfitter Provision

2

0.35 VT/WH

5839

Left Auxiliary Audio Signal 2

3

0.35 BK

5842

Upfitter Provision

3

0.35 BK

5842

Auxiliary Audio Screen 2

X303 Dome Lamp Harness to Body Harness (- C3U)


Object Number: 2042935  Size: CH

Object Number: 2071571  Size: CH

Connector Part Information

  • OEM: F9-35
  • Service: Service by Harness - See Part Catalog
  • Description: 9-Way F MTS 0.64 Series (BK)

Connector Part Information

  • OEM: 284803-1
  • Service: Service by Harness - See Part Catalog
  • Description: 9-Way M (BK)

Terminal Part Information

  • Terminal/Tray: Service by Harness - See Part Catalog
  • Release Tool/Test Probe: N/A

Terminal Part Information

  • Terminal/Tray: Service by Harness - See Part Catalog
  • Release Tool/Test Probe: N/A

X303 Dome Lamp Harness to Body Harness (- C3U)

Pin

Wire Color

Circuit No.

Function

Pin

Wire Color

Circuit No.

Function

1

0.5 FW

157

Interior Lamp Control

1

0.5 GY

157

Interior Lamp Control

2

--

--

Not Used

2

--

--

Not Used

3

0.5 FW

1732

Inadvertant Power Courtesy Lamp

3

0.5 RD/BU

1732

Inadvertant Power Courtesy Lamp

4

0.5 FW

1550

Ground

4

0.5 BN

1550

Ground

5-9

--

--

Not Used

5-9

--

--

Not Used

X304 Body Harness to Driver Seat Harness


Object Number: 2042936  Size: CH

Object Number: 2071676  Size: CH

Connector Part Information

  • OEM: ZF 16-11
  • Service: Service by Harness - See Part Catalog
  • Description: 16-Way F (BK)

Connector Part Information

  • OEM: ZUH 291
  • Description: 16-Way M Connector Housing (BK)

Connector Part Information

  • OEM: ZM2-20
  • Service: Service by Component Assembly - See Part Catalog
  • Description: 2-Way M (YE)

Terminal Part Information

  • Terminal/Tray: Service by Harness - See Part Catalog
  • Release Tool/Test Probe: N/A

Terminal Part Information

  • Terminal/Tray: Service by Component Assembly - See Part Catalog
  • Release Tool/Test Probe: N/A

Connector Part Information

  • OEM: ZM4-13
  • Service: Service by Component Assembly - See Part Catalog
  • Description: 4-Way M (BK)

Terminal Part Information

  • Terminal/Tray: Service by Component Assembly - See Part Catalog
  • Release Tool/Test Probe: N/A

Connector Part Information

  • OEM: ZM2-19
  • Service: Service by Component Assembly - See Part Catalog
  • Description: 2-Way M (BU)

Terminal Part Information

  • Terminal/Tray: Service by Component Assembly - See Part Catalog
  • Release Tool/Test Probe: N/A

Connector Part Information

  • OEM: ZM4-12
  • Service: Service by Component Assembly - See Part Catalog
  • Description: 4-Way M (GN)

Terminal Part Information

  • Terminal/Tray: Service by Component Assembly - See Part Catalog
  • Release Tool/Test Probe: N/A

X304 Body Harness to Driver Seat Harness

Pin

Wire Color

Circuit No.

Function

Pin

Wire Color

Circuit No.

Function

1

0.5 OG/BU

2137

Left Front Side Impact Module High Control

1

0.5 BU

2137

Left Front Side Impact Module High Control

2

0.5 BU

2138

Left Front Side Impact Module Low Control

2

0.5 BN

2138

Left Front Side Impact Module Low Control

3-6

--

--

Not Used

1-4

--

--

Not Available

7

0.5 BN/GY

1462

Heated Seat Switch Signal (KA1)

1

0.5 BN/GY

1462

Heated Seat Switch Signal (KA1)

8

1.5 BK

1041

Run Ignition 3 Voltage (KA1)

2

1.5 BK

1041

Run Ignition 3 Voltage (KA1)

9

1 BN

2150

Ground (KA1)

3

1 BN

2150

Ground (KA1)

10

--

--

Not Used (KA1)

4

--

--

Not Used (KA1)

11

0.5 BN/WH

238

Driver Seat Belt Switch Signal

1

0.5 BK

238

Driver Seat Belt Switch Signal

12

0.5 VT/BK

1363

Low Reference

2

0.5 BK

1363

Low Reference

13-14

--

--

Not Used

1-2

--

--

Not Used

15

0.5 OG/BN

2118

Driver Seat Belt Pretensioner High Control

3

0.5 BU

2118

Driver Seat Belt Pretensioner High Control

16

0.5 BN

2119

Driver Seat Belt Pretensioner Low Control

4

0.5 BN

2119

Driver Seat Belt Pretensioner Low Control

X305 Body Harness to Passenger Seat Harness


Object Number: 2042936  Size: CH

Object Number: 2071676  Size: CH

Connector Part Information

  • OEM: ZFW16-11
  • Service: Service by Harness - See Part Catalog
  • Description: 16-Way F (BK)

Connector Part Information

  • OEM: ZUH 291
  • Description: 16-Way M Connector Housing (BK)

Connector Part Information

  • OEM: ZM2-20
  • Service: Service by Component Assembly - See Part Catalog
  • Description: 2-Way M (YE)

Terminal Part Information

  • Terminal/Tray: Service by Harness - See Part Catalog
  • Release Tool/Test Probe: N/A

Terminal Part Information

  • Terminal/Tray: Service by Component Assembly - See Part Catalog
  • Release Tool/Test Probe: N/A

Connector Part Information

  • OEM: ZM4-14
  • Service: Service by Component Assembly - See Part Catalog
  • Description: 4-Way M (WH)

Terminal Part Information

  • Terminal/Tray: Service by Component Assembly - See Part Catalog
  • Release Tool/Test Probe: N/A

Connector Part Information

  • OEM: ZM4-13
  • Service: Service by Component Assembly - See Part Catalog
  • Description: 4-Way M (BK)

Terminal Part Information

  • Terminal/Tray: Service by Component Assembly - See Part Catalog
  • Release Tool/Test Probe: N/A

Connector Part Information

  • OEM: ZM2-19
  • Service: Service by Component Assembly - See Part Catalog
  • Description: 2-Way M (BU)

Terminal Part Information

  • Terminal/Tray: Service by Component Assembly - See Part Catalog
  • Release Tool/Test Probe: N/A

Connector Part Information

  • OEM: ZM4-12
  • Service: Service by Component Assembly - See Part Catalog
  • Description: 4-Way M (GN)

Terminal Part Information

  • Terminal/Tray: Service by Component Assembly - See Part Catalog
  • Release Tool/Test Probe: N/A

X305 Body Harness to Passenger Seat Harness

Pin

Wire Color

Circuit No.

Function

Pin

Wire Color

Circuit No.

Function

1

0.5 OG/BK

2103

Right Side Impact Module High Control

1

0.5 BU

2103

Right Side Impact Module High Control

2

0.5 BK/WH

2104

Right Side Impact Module Low Control

2

0.5 BN

2104

Right Side Impact Module Low Control

3-4

--

--

Not Used

1-2

--

--

Not Used

5

0.5 BU/YE

5056

Passenger Seat Position Switch Signal

3

0.5 BK

5056

Passenger Seat Position Switch Signal

6

0.5 BU/BK

1361

Low Reference

4

0.5 BN

1361

Low Reference

7

0.5 BK/YE

1505

Passenger Heated Seat Switch Signal (KA1)

1

0.5 BN/GY

1505

Passenger Heated Seat Switch Signal (KA1)

8

1.5 BK

1341

Run Ignition 3 Voltage (KA1)

2

1.5 BK

1341

Run Ignition 3 Voltage (KA1)

9

1 BN

2150

Ground (KA!)

3

1 BN

2150

Ground (KA1)

10

--

--

Not Used (KA1)

4

--

--

Not Used (KA1)

11

0.5 BU

1362

Passenger Seat Belt Switch Signal

1

0.5 BK

1362

Passenger Seat Belt Switch Signal

12

0.5 BU/BK

1361

Passenger Seat Belt Switch Low Reference

2

0.5 BK

1361

Passenger Seat Belt Switch Low Reference

13-14

--

--

Not Used

1-2

--

--

Not Used

15

0.5 OG/GY

2116

Passenger Seat Belt Pretensioner High Control

3

0.5 BU

2116

Passenger Seat Belt Pretensioner High Control

16

0.5 BU

2117

Passenger Seat Belt Pretensioner Low Control

4

0.5 BN

2117

Passenger Seat Belt Pretensioner Low Control

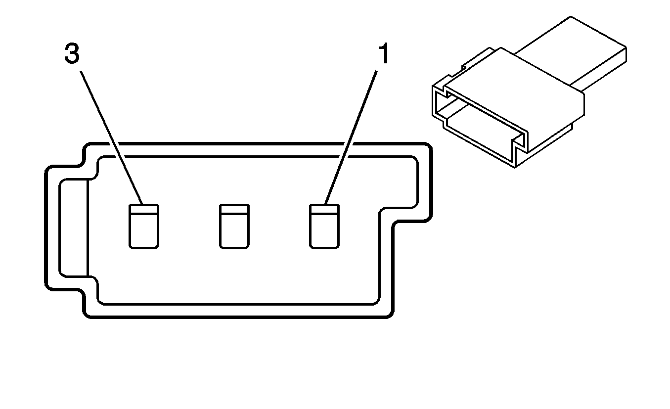
X306 Transmission Harness to Automatic Transmission Shift Lock Control Jumper Harness (MNF)


Object Number: 827894  Size: CH
 

Connector Part Information

  • OEM: 928523-1
  • Service: Service by Harness - See Part Catalog
  • Description: 9-Way F (WH)

Connector Part Information

  • OEM: M9-23
  • Service: Service by Harness - See Part Catalog
  • Description: 9-Way M (WH)

Terminal Part Information

  • Terminal/Tray: Service by Harness - See Part Catalog
  • Release Tool/Test Probe: N/A

Terminal Part Information

  • Terminal/Tray: Service by Harness - See Part Catalog
  • Release Tool/Test Probe: N/A

X306 Transmission Harness to Automatic Transmission Shift Lock Control Jumper Harness (MNF)

Pin

Wire Color

Circuit No.

Function

Pin

Wire Color

Circuit No.

Function

1

0.5 GN

1078

Ignition Key/Shifter Interlock Solenoid Lock Signal

1

0.5 GN

1078

Ignition Key/Shifter Interlock Solenoid Lock Signal

2-5

--

--

Not Used

2-5

--

--

Not Used

6

0.5 BN

2150

Ground

6

0.5 BN

2150

Ground

7

--

--

Not Used

7

--

--

Not Used

8

0.5 BN/GY

17

Stop Lamp Switch Signal

8

0.5 YE

17

Stop Lamp Switch Signal

9

--

--

Not Used

9

--

--

Not Used

X307 Body harness to Sunroof Harness (C3U)


Object Number: 2071572  Size: CH

Object Number: 2071574  Size: CH

Connector Part Information

  • OEM: 365060-1
  • Service: 93185233
  • Description: 4-Way F Junior Timer Series, (WH)

Connector Part Information

  • OEM: 365059-1
  • Service: Service by Harness - See Part Catalog
  • Description: 4-Way M (WH)

Terminal Part Information

  • Terminal/Tray: Service by Connector Assembly - 93185233
  • Release Tool/Test Probe: N/A

Terminal Part Information

  • Terminal/Tray: Service by Harness - See Part Catalog
  • Release Tool/Test Probe: N/A

X307 Body harness to Sunroof Harness (C3U)

Pin

Wire Color

Circuit No.

Function

Pin

Wire Color

Circuit No.

Function

1

2.5 BN

1550

Ground

1

2.5 BK

1550

Ground

2

2.5 RD

140

Battery Positive Voltage

2

2.5 RD

140

Battery Positive Voltage

3

2.5 BN

1550

Ground

3

2.5 BK

1550

Ground

4

2.5 RD

142

Battery Positive Voltage

4

2.5 RD

142

Battery Positive Voltage

X308 Body harness to Sunroof Harness (C3U)


Object Number: 2039629  Size: CH

Object Number: 2071571  Size: CH

Connector Part Information

  • OEM: 968571-1
  • Service: 93180750
  • Description: 9-Way F 64 MQS Series, (GY)

Connector Part Information

  • OEM: 284803-1
  • Service: Service by Harness - See Part Catalog
  • Description: 9-Way M MQS Series, (BK)

Terminal Part Information

  • Terminal/Tray: Service by Harness - See Part Catalog
  • Release Tool/Test Probe: N/A

Terminal Part Information

  • Terminal/Tray: Service by Harness - See Part Catalog
  • Release Tool/Test Probe: N/A

X308 Body harness to Sunroof Harness (C3U)

Pin

Wire Color

Circuit No.

Function

Pin

Wire Color

Circuit No.

Function

1

0.5 BU/WH

110

Sunroof Switch Close Signal

1

0.5 OG

110

Sunroof Switch Close Signal

2

0.5 GN/WH

129

Sunroof Shade Switch Close Signal

2

0.5 OG

129

Sunroof Shade Switch Close Signal

3

0.5 GY

157

Interior Lamp Control

3

0.5 YE

157

Interior Lamp Control

4

0.5 RD/BU

1732

Inadvertant Power Courtesy Lamp

5

0.5 GN

1732

Inadvertant Power Courtesy Lamp

5

0.5 BN

1550

Ground

5

0.5 WH

1550

Ground

6

0.5 GY/YE

1382

LED Dimming Signal

6

0.5 RD

1382

LED Dimming Signal

7

0.5 BK

4

Accessory Voltage

7

0.5 BU

4

Accessory Voltage

8

--

--

Not Used

8

0.5

GY

Not Used

9

--

--

Not Used

9

--

--

Not Used

X309 Body Harness to Instrument Panel Harness


Object Number: 2100405  Size: CH

Object Number: 2039660  Size: CH

Connector Part Information

  • OEM: 1355728-1
  • Service: Service by Harness - See Part Catalog
  • Description: 2-Way F (GY)

Connector Part Information

  • OEM: 1355727-1
  • Service: Service by Harness - See Part Catalog
  • Description: 2-Way M (BK)

Terminal Part Information

  • Terminal/Tray: Service by Harness - See Part Catalog
  • Release Tool/Test Probe: N/A

Terminal Part Information

  • Terminal/Tray: Service by Harness - See Part Catalog
  • Release Tool/Test Probe: N/A

X309 Body Harness to Instrument Panel Harness

Pin

Wire Color

Circuit No.

Function

Pin

Wire Color

Circuit No.

Function

1

--

--

Not Used

1

--

--

Not Used

2

0.35 BK

5172

Antenna Radio Signal

2

0.35 BK

5172

Antenna Radio Signal

X400 Fuel Tank Harness to Body Harness


Object Number: 831372  Size: CH

Object Number: 813080  Size: CH

Connector Part Information

  • OEM: 15326849
  • Service: Service by Harness - See Part Catalog
  • Description: 12-Way F GT 150 Series, Sealed (BK)

Connector Part Information

  • OEM: 15336135
  • Service: 15306125
  • Description: 12-Way M GT 150 Series, Sealed (BK)

Terminal Part Information

  • Terminal/Tray: Service by Harness - See Part Catalog
  • Release Tool/Test Probe: N/A

Terminal Part Information

  • Terminal/Tray: Service by Harness - See Part Catalog
  • Release Tool/Test Probe: N/A

X400 Fuel Tank Harness to Body Harness

Pin

Wire Color

Circuit No.

Function

Pin

Wire Color

Circuit No.

Function

A

1.5 RD/BU

120

Fuel Pump Supply Voltage

A

1.5 RD/BU

120

Fuel Pump Supply Voltage

B

1.5 BN

2350

Ground

B

1.5 BN

2350

Ground

C

0.5 BN/YE

251

Low Reference

C

0.5 BN/YE

251

Low Reference

D

0.5 GN/BU

30

Fuel Level Sensor Signal

D

0.5 GN/BU

30

Fuel Level Sensor Signal

E

0.5 BK/YE

2709

5 Volt Reference 1

E

0.5 BK/YE

2709

5 Volt Reference 1

F

0.5 BU/WH

890

Fuel Tank Pressure Sensor Signal

F

0.5 BU/WH

890

Fuel Tank Pressure Sensor Signal

G

0.5 BK/GN

2759

Low Reference

G

0.5 BK/GN

2759

Low Reference

H

0.5 BK/BN

474

5 Volt Reference 1

H

0.5 BK/BN

474

5 Volt Reference 1

J

0.5 GN/BN

5266

Ambient Air Pressure Sensor Signal

J

0.5 GN/BN

5266

Ambient Air Pressure Sensor Signal

K

0.5 GN/BK

6014

Low Reference

K

0.5 GN/BK

6014

Low Reference

L

1 BU

5372

Ignition Voltage

L

1 BU

5372

Ignition Voltage

M

1 BN

2350

EVAP Canister Vent Solenoid Control

M

1 BN

2350

EVAP Canister Vent Solenoid Control

X401 Liftgate Extension Harness to Rear Body Harness


Object Number: 2071588  Size: CH

Object Number: 2042937  Size: CH

Connector Part Information

  • OEM: 30234001
  • Service: Service by Harness - See Part Catalog
  • Description: 11-Way F (GY)

Connector Part Information

  • OEM: 30331101
  • Service: Service by Harness - See Part Catalog
  • 11-Way M 1.5, 5.8 Series (GY)

Terminal Part Information

  • Terminal/Tray: Service by Harness - See Part Catalog
  • Release Tool/Test Probe: N/A

Terminal Part Information

  • Terminal/Tray: Service by Harness - See Part Catalog
  • Release Tool/Test Probe: N/A

X401 Liftgate Extension Harness to Rear Body Harness

Pin

Wire Color

Circuit No.

Function

Pin

Wire Color

Circuit No.

Function

1

0.5 BU/YE

5797

Rear Closure Handle Switch Open Signal

1

0.5 BU/YE

5797

Rear Closure Handle Switch Open Signal

2

0.75 BN/WH

5799

Lift Gate Open/Close Motor Close Control

2

0.75 BN/WH

5799

Lift Gate Open/Close Motor Close Control

3

0.5 BK/BU

1303

Liftgate Ajar Switch Signal

3

0.5 BK/BU

1303

Liftgate Ajar Switch Signal

4

--

--

Not Used

4

--

--

Not Used

5

0.5 BK/YE

820

CHMSL Supply Voltage

5

0.5 BK/YE

820

CHMSL Supply Voltage

6

1.5 BK

1939

Run/Crank Ignition 1 Voltage

6

1.5 BK

1939

Run/Crank Ignition 1 Voltage

7

1.5 BU

393

Rear Window Wiper Motor Control

7

1.5 BU

393

Rear Window Wiper Motor Control

8-9

--

--

Not Used

8-9

--

--

Not Used

10

4 BN

2550

Ground

10

4 BN

2550

Ground

11

2.5 BK

293

Rear Defog Element Supply Voltage

11

2.5 BK

293

Rear Defog Element Supply Voltage

X402 Rear Facia Harness to Body Rear Harness


Object Number: 2042938  Size: CH

Object Number: 2042939  Size: CH

Connector Part Information

  • OEM: 1452327-1
  • Service: Service by Harness - See Part Catalog
  • Description: 6-Way F 2.8 Junior Power Timer Series, Sealed (BK)

Connector Part Information

  • OEM: 1452324-1
  • Service: Service by Harness - See Part Catalog
  • Description: 6-Way M 2.8 Junior Power Timer Series, Sealed (BK)

Terminal Part Information

  • Terminal/Tray: Service by Harness - See Part Catalog
  • Release Tool/Test Probe: N/A

Terminal Part Information

  • Terminal/Tray: Service by Harness - See Part Catalog
  • Release Tool/Test Probe: N/A

X402 Rear Facia Harness to Body Rear Harness

Pin

Wire Color

Circuit No.

Function

Pin

Wire Color

Circuit No.

Function

1

0.5 GY/GN

1255

Side Marker Supply Voltage Signal

1

0.5 GY/GN

1255

Side Marker Supply Voltage Signal

2

--

--

Not Used

2

--

--

Not Used

3

0.5 BN

2550

Ground

3

0.5 BN

2550

Ground

4-5

--

--

Not Used

4-5

--

--

Not Used

6

0.5 GY/GN

1255

Side Marker/License Supply Voltage Signal

6

0.5 GY/GN

1255

License Supply Voltage Signal

X403 Rear Axle ABS Harness to Body Harness


Object Number: 2042938  Size: CH

Object Number: 2042939  Size: CH

Connector Part Information

  • OEM: 1452327-1
  • Service: Service by Harness - See Part Catalog
  • Description: 6-Way F Junior Power Timer Series, Sealed (BK)

Connector Part Information

  • OEM: 1452324-1
  • Service: 93185233
  • Description: 6-Way M 2.8 Series, Sealed (BK)

Terminal Part Information

  • Terminal/Tray: Service by Harness - See Part Catalog
  • Release Tool/Test Probe: N/A

Terminal Part Information

  • Terminal/Tray: Service by Connector Assembly - 93185233
  • Release Tool/Test Probe: N/A

X403 Rear Axle ABS Harness to Body Harness

Pin

Wire Color

Circuit No.

Function

Pin

Wire Color

Circuit No.

Function

1

0.5 BN/RD

883

Low Reference

1

0.5 BN/RD

883

Low Reference

2

--

--

Not Used

2

--

--

Not Used

3

0.5 BN/BU

885

Low Reference

3

0.5 BN/BU

885

Low Reference

4

0.5 BU/RD

882

Wheel Speed Sensor Signal Right Rear

4

0.5 BU/RD

882

Wheel Speed Sensor Signal Right Rear

5

--

--

Not Used

5

--

--

Not Used

6

0.5 BU

884

Wheel Speed Sensor Signal Left Rear

6

0.5 BU

884

Wheel Speed Sensor Signal Left Rear

X500 Body Harness to Driver Door Harness


Object Number: 2042940  Size: CH

Object Number: 2042941  Size: CH

Connector Part Information

  • OEM: 30432421
  • Service: 93191096
  • Description: 34-Way F 1.5, 2.8 Series, Sealed (BK)

Connector Part Information

  • OEM: 30530621
  • Service: Service by Harness - See Part Catalog
  • Description: 34-Way M 1.5, 2.8 Series, Sealed (BK)

Terminal Part Information

  • Terminal/Tray: Service by Harness - See Part Catalog
  • Release Tool/Test Probe: N/A

Terminal Part Information

  • Terminal/Tray: Service by Harness - See Part Catalog
  • Release Tool/Test Probe: N/A

X500 Body Harness to Driver Door Harness

Pin

Wire Color

Circuit No.

Function

Pin

Wire Color

Circuit No.

Function

1

2.5 RD

2040

Battery Positive Voltage

1

2.5 RD

2040

Battery Positive Voltage

2

2.5 BN

1550

Ground

2

2.5 BN

1550

Ground

3

0.75 GY/WH

7305

Emergency Door Unlock 2 Signal

3

0.75 GY/WH

7305

Emergency Door Unlock 2 Signal

4

0.75 WH

7304

Emergency Door Unlock 1 Signal

4

0.75 WH

7304

Emergency Door Unlock 1 Signal

5

--

--

Not Used

5

--

--

Not Used

6

0.5 WH/GY

49

Driver Door Ajar Switch Signal

6

0.5 WH/GY

49

Driver Door Ajar Switch Signal

7

0.5 YE/GN

166

Power Window Master Switch Right Front Up Signal

7

0.5 YE/GN

166

Power Window Master Switch Right Front Up Signal

8

0.5 YE/BN

167

Power Window Master Switch Right Front Down Signal

8

0.5 YE/BN

167

Power Window Master Switch Right Front Down Signal

9

0.5 BN/BK

5200

Power Window Comfort Close Signal

9

0.5 BN/BK

5200

Power Window Comfort Close Signal

10

0.75 BU

201

Left Front Speaker (+)

10

0.75 BU

201

Left Front Speaker (+)

11

0.75 BN/BU

118

Left Front Speaker Signal (-)

11

0.75 BN/BU

118

Left Front Speaker Signal (-)

12

0.5 BU/BK

6162

Outside Right Mirror Vertical Position Control

12

0.5 BU/BK

6162

Outside Right Mirror Vertical Position Control

13

0.5 BN

6163

Outside Mirror Position Motor Drain Wire

13

0.5 BN

6163

Outside Mirror Position Motor Drain Wire

14

0.5 GN/BK

6161

Outside Right Mirror Horizontal Position Control

14

0.5 GN/BK

6161

Outside Right Mirror Horizontal Position Control

15

0.75 WH/BK

2267

Mirror Heating Element Supply Voltage

15

0.75 WH/BK

2267

Mirror Heating Element Supply Voltage

16

0.5 VT/GN

168

Power Window Master Switch Left Rear Up Signal (5 Door)

16

0.5 VT/GN

168

Power Window Master Switch Left Rear Up Signal (5 Door)

17

0.5 VT/BN

169

Power Window Master Switch Left Rear Down Signal (5 Door)

17

0.5 VT/BN

169

Power Window Master Switch Left Rear Down Signal (5 Door)

18

0.5 BK

4

Accessory Voltage

18

0.5 BK

4

Accessory Voltage

19

0.5 BU/GN

170

Power Window Master Switch Right Rear Up Signal (5 Door)

19

0.5 BU/GN

170

Power Window Master Switch Right Rear Up Signal (5 Door)

20

0.5 BU/BN

171

Power Window Master Switch Right Rear Down Signal (5 Door)

20

0.5 BU/BN

171

Power Window Master Switch Right Rear Down Signal (5 Door)

21

0.5 WH/BU

1307

Power Window Master Switch Lockout Signal (5 Door)

21

0.5 WH/BU

1307

Power Window Master Switch Lockout Signal (5 Door)

22-34

--

--

Not Used

22-34

--

--

Not Used

X600 Body Harness to Passenger Door Harness


Object Number: 2042940  Size: CH

Object Number: 2042941  Size: CH

Connector Part Information

  • OEM: 30432421
  • Service: 93191096
  • Description: 34-Way F 1.5, 2.8 Series, Sealed (BK)

Connector Part Information

  • OEM: 30530621
  • Service: Service by Harness - See Part Catalog
  • Description: 34-Way M 1.5, 2.8 Series, Sealed (BK)

Terminal Part Information

  • Terminal/Tray: Service by Harness - See Part Catalog
  • Release Tool/Test Probe: N/A

Terminal Part Information

  • Terminal/Tray: Service by Harness - See Part Catalog
  • Release Tool/Test Probe: N/A

X600 Body Harness to Passenger Door Harness

Pin

Wire Color

Circuit No.

Function

Pin

Wire Color

Circuit No.

Function

1

2.5 RD

2140

Battery Positive Voltage

1

2.5 RD

2140

Battery Positive Voltage

2

2.5 BN

2050

Ground

2

2.5 BN

2050

Ground

3

0.75 GY/WH

7305

Emergency Door Unlock 2 Signal

3

0.75 GY/WH

7305

Emergency Door Unlock 2 Signal

4

0.75 WH

7304

Emergency Door Unlock 1 Signal

4

0.75 WH

7304

Emergency Door Unlock 1 Signal

5

--

--

Not Used

5

--

--

Not Used

6

0.5 GY

746

Right Front Door Ajar Switch Signal

6

0.5 GY

746

Right Front Door Ajar Switch Signal

7

0.5 YE/GN

166

Power Window Master Switch Right Front Up Signal

7

0.5 YE/GN

166

Power Window Master Switch Right Front Up Signal

8

0.5 YE/BN

167

Power Window Master Switch Right Front Down Signal

8

0.5 YE/BN

167

Power Window Master Switch Right Front Down Signal

9

0.5 BN/BK

5200

Power Window Comfort Close Signal

9

0.5 BN/BK

5200

Power Window Comfort Close Signal

10

0.75 YE

200

Right Front Speaker (+)

10

0.75 YE

200

Right Front Speaker (+)

11

0.75 BN/YE

117

Right Front Speaker Signal (-)

11

0.75 BN/YE

117

Right Front Speaker Signal (-)

12

0.5 BU/BK

6162

Outside Right Mirror Vertical Position Control

12

0.5 BU/BK

6162

Outside Right Mirror Vertical Position Control

13

0.5 BN

6163

Outside Mirror Position Motor Drain Wire

13

0.5 BN

6163

Outside Mirror Position Motor Drain Wire

14

0.5 GN/BK

6161

Outside Right Mirror Horizontal Position Control

14

0.5 GN/BK

6161

Outside Right Mirror Horizontal Position Control

15

0.75 WH/BK

2267

Mirror Heating Element Supply Voltage

15

0.75 WH/BK

2267

Mirror Heating Element Supply Voltage

16-17

--

--

Not Used

16-17

--

--

Not Used

18

0.5 BK

4

Accessory Voltage

18

0.5 BK

4

Accessory Voltage

19-34

--

--

Not Used

19-34

--

--

Not Used

X700 Body Harness to Left Rear Door Harness (5 Door)


Object Number: 2042942  Size: CH

Object Number: 2042943  Size: CH

Connector Part Information

  • OEM: 15345078
  • Service: 93189351
  • Description: 19-Way F Mixed Series, Sealed (BK)

Connector Part Information

  • OEM: 15446405
  • Service: Service by Harness - See Part Catalog
  • Description: 19-Way M Mixed Series, Sealed (BK)

Terminal Part Information

  • Terminal/Tray: Service by Harness - See Part Catalog
  • Release Tool/Test Probe: N/A

Terminal Part Information

  • Terminal/Tray: Service by Harness - See Part Catalog
  • Release Tool/Test Probe: N/A

X700 Body Harness to Left Rear Door Harness (5 Door)

Pin

Wire Color

Circuit No.

Function

Pin

Wire Color

Circuit No.

Function

1

2.5 RD

2240

Battery Positive Voltage

1

2.5 RD

2240

Battery Positive Voltage

2

2.5 BN

2350

Ground

2

2.5 BN

2350

Ground

3

0.75 GY/WH

7305

Emergency Door Unlock 2 Signal

3

0.75 GY/WH

7305

Emergency Door Unlock 2 Signal

4

0.75 WH

7304

Emergency Door Unlock 1 Signal

4

0.75 WH

7304

Emergency Door Unlock 1 Signal

5

--

--

Not Used

5

--

--

Not Used

6

0.5 GY

747

Left Rear Door Ajar Switch Signal

6

0.5 GY

747

Left Rear Door Ajar Switch Signal

6

0.5 GY

747

Left Rear Door Ajar Switch Signal

6

0.5 GY

747

Left Rear Door Ajar Switch Signal

7

--

--

Not Used

12

--

--

Not Used

8

--

--

Not Used

11

--

--

Not Used

9

--

--

Not Used

10

--

--

Not Used

10

0.5 WH/BU

1307

Power Window Master Switch Lockout Signal

9

0.5 WH/BU

1307

Power Window Master Switch Lockout Signal

11

0.5 VT/GN

168

Power Window Master Switch Left Rear Up Signal

8

0.5 VT/GN

168

Power Window Master Switch Left Rear Up Signal

12

0.5 VT/BN

169

Power Window Master Switch Left Rear Down Signal

7

0.5 VT/BN

169

Power Window Master Switch Left Rear Down Signal

13

--

--

Not Used

19

--

--

Not Used

14

--

--

Not Used

14

--

--

Not Used

15

--

--

Not Used

17

--

--

Not Used

16

0.75 GN

199

Left Rear Speaker (+)

16

0.75 GN

199

Left Rear Speaker (+)

17

0.75 BN/GN

116

Left Rear Speaker Signal (-)

15

0.75 BN/GN

116

Left Rear Speaker Signal (-)

18

--

--

Not Used

18

--

--

Not Used

19

0.5 BN/BK

5200

Power Window Comfort Close Signal

13

0.5 BN/BK

5200

Power Window Comfort Close Signal

X800 Body Harness to Right Rear Door Harness (5 Door)


Object Number: 2042942  Size: CH

Object Number: 2042943  Size: CH

Connector Part Information

  • OEM: 15345078
  • Service: 93189351
  • Description: 19-Way F Mixed Series, Sealed (BK)

Connector Part Information

  • OEM: 15446405
  • Service: Service by Harness - See Part Catalog
  • Description: 19-Way M Mixed Series, Sealed (BK)

Terminal Part Information

  • Terminal/Tray: Service by Harness - See Part Catalog
  • Release Tool/Test Probe: N/A

Terminal Part Information

  • Terminal/Tray: Service by Harness - See Part Catalog
  • Release Tool/Test Probe: N/A

X800 Body Harness to Right Rear Door Harness (5 Door)

Pin

Wire Color

Circuit No.

Function

Pin

Wire Color

Circuit No.

Function

1

2.5 RD

2340

Battery Positive Voltage

1

2.5 RD

2340

Battery Positive Voltage

2

2.5 BN

2050

Ground

2

2.5 BN

2350

Ground

3

0.75 GY/WH

7305

Emergency Door Unlock 2 Signal

3

0.75 GY/WH

7305

Emergency Door Unlock 2 Signal

4

0.75 WH

7304

Emergency Door Unlock 1 Signal

4

0.75 WH

7304

Emergency Door Unlock 1 Signal

5

--

--

Not Used

5

--

--

Not Used

6

0.5 GY

748

Right Rear Door Ajar Switch Signal

6

0.5 GY

748

Right Rear Door Ajar Switch Signal

7

--

--

Not Used

12

--

--

Not Used

8

--

--

Not Used

11

--

--

Not Used

9

--

--

Not Used

10

--

--

Not Used

10

0.5 WH/BU

1307

Power Window Master Switch Lockout Signal

9

0.5 WH/BU

1307

Power Window Master Switch Lockout Signal

11

0.5 BU/GN

170

Power Window Master Switch Right Rear Up Signal

8

0.5 VT/GN

168

Power Window Master Switch Right Rear Up Signal

12

0.5 BU/BN

171

Power Window Master Switch Right Rear Down Signal

7

0.5 VT/BN

169

Power Window Master Switch Right Rear Down Signal

13

--

--

Not Used

19

--

--

Not Used

14

--

--

Not Used

14

--

--

Not Used

15

--

--

Not Used

17

--

--

Not Used

16

0.75 WH

46

Right Rear Speaker (+)

16

0.75 GN

199

Right Rear Speaker (+)

17

0.75 BN/WH

115

Right Rear Speaker Signal (-)

15

0.75 BN/WH

115

Right Rear Speaker Signal (-)

18

--

--

Not Used

18

--

--

Not Used

19

0.5 BN/BK

5200

Power Window Comfort Close Signal

13

0.5 BN/BK

5200

Power Window Comfort Close Signal

X901 Liftgate Extension Harness to Liftgate Harness


Object Number: 2071588  Size: CH

Object Number: 2042937  Size: CH

Connector Part Information

  • OEM: 30234001
  • Service: Service by Harness - See Part Catalog
  • Description: 11-Way F (BK)

Connector Part Information

  • OEM: 30331101
  • Service: Service by Harness - See Part Catalog
  • 11-Way M 1.5, 5.8 Series (BK)

Terminal Part Information

  • Terminal/Tray: Service by Harness - See Part Catalog
  • Release Tool/Test Probe: N/A

Terminal Part Information

  • Terminal/Tray: Service by Harness - See Part Catalog
  • Release Tool/Test Probe: N/A

X901 Liftgate Jumper Harness to Liftgate Harness

Pin

Wire Color

Circuit No.

Function

Pin

Wire Color

Circuit No.

Function

1

0.5 BU/YE

5797

Rear Closure Handle Switch Open Signal

1

0.5 BU/YE

5797

Rear Closure Handle Switch Open Signal

2

0.75 BN/WH

5799

Lift Gate Open/Close Motor Close Control

2

0.75 BN/WH

5799

Lift Gate Open/Close Motor Close Control

3

0.5 BK/BU

1303

Liftgate Ajar Switch Signal

3

0.5 BK/BU

1303

Liftgate Ajar Switch Signal

4

--

--

Not Used

4

--

--

Not Used

5

0.5 BK/YE

820

CHMSL Supply Voltage

5

0.5 BK/YE

820

CHMSL Supply Voltage

6

1.5 BK

1939

Run/Crank Ignition 1 Voltage

6

1.5 BK

1939

Run/Crank Ignition 1 Voltage

7

1.5 BU

393

Rear Window Wiper Motor Control

7

1.5 BU

393

Rear Window Wiper Motor Control

8-9

--

--

Not Used

8-9

--

--

Not Used

10

4 BN

2550

Ground

10

4 BN

2550

Ground

11

2.5 BK

293

Rear Defog Element Supply Voltage

11

2.5 BK

293

Rear Defog Element Supply Voltage