GM Service Manual Online
For 1990-2009 cars only

High Mount Stop Lamp Replacement Coupe

Removal Procedure

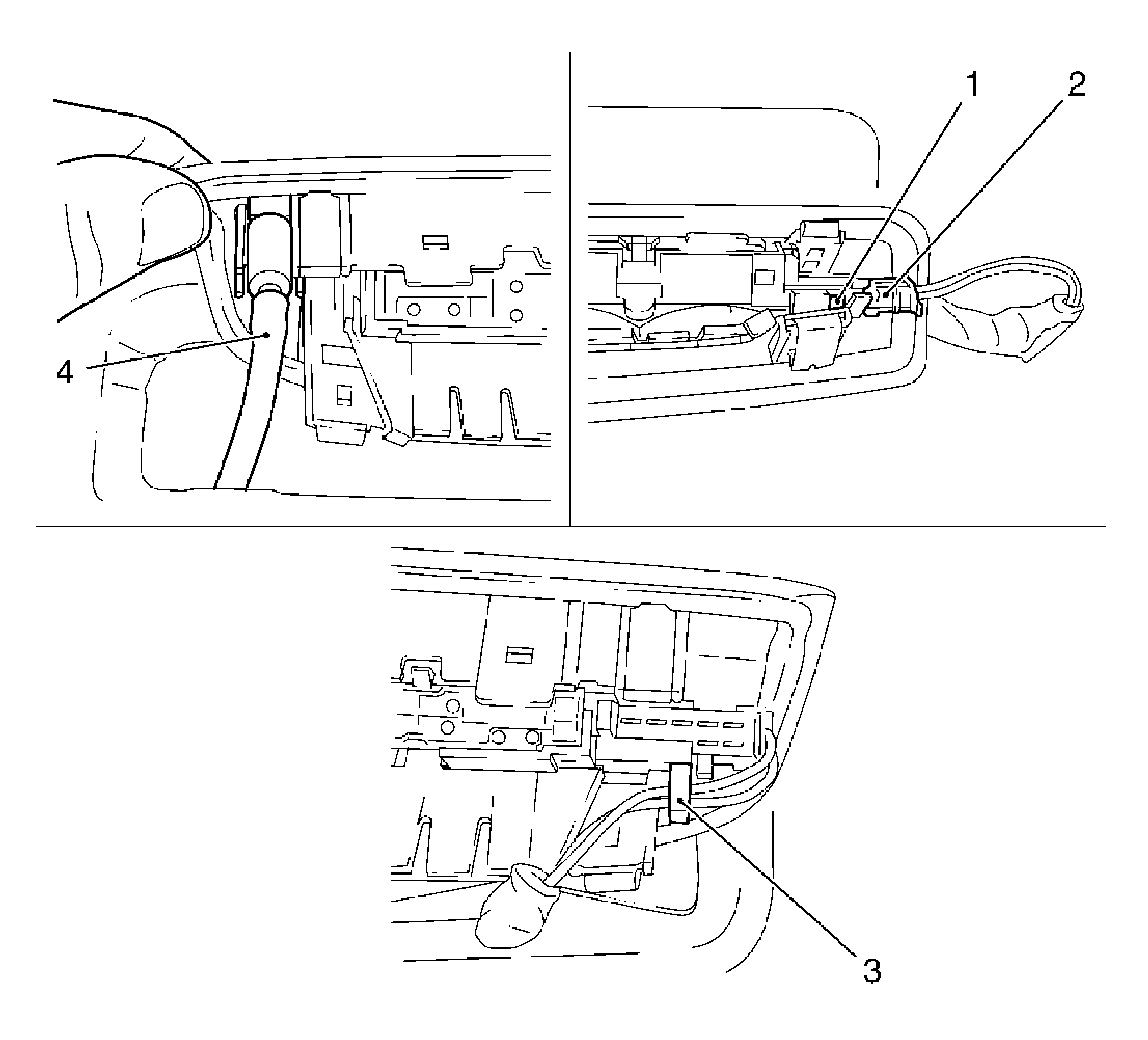
  1. Remove the liftgate garnish moulding, left and right. Refer to Liftgate Garnish Molding Replacement .

  2. Object Number: 1942011  Size: LH
  3. Release the high mounted stop lamp.
  4. Release the 3 guides (1).

  5. Close the liftgate.

  6. Object Number: 1942014  Size: LF
  7. Remove the high mounted stop lamp.
  8. • Remove the hose from the wash/wipe system (4).
    • Disconnect the wiring harness (3).
    • Release the wiring harness plug (1, 2) and disconnect.

Installation Procedure

  1. Insert the high mounted stop lamp.
  2. • Connect and lock the wiring harness plug.
    • Connect the wiring harness.
    • Connect the hose for the wash/wipe system.

    Important: 

       • Be careful of the wiring harness plug when clipping the brake light in. Clip the brake light in, starting from the right hand side.
       • The brake light must engage audibly.

  3. Fasten the high mounted stop lamp.
  4. Install the brake light.

  5. Insert the liftgate garnish moulding, left and right. Refer to Liftgate Garnish Molding Replacement .

High Mount Stop Lamp Replacement Sedan

Removal Procedure

  1. Remove the liftgate garnish moulding. Refer to Liftgate Garnish Molding Replacement .

  2. Object Number: 1936847  Size: LH
  3. Remove the high mounted stop lamp.
  4. Release the 6 clips (1).

  5. Remove the high mounted stop lamp.
  6. • Release the wiring harness plug (2) and remove.
    • Remove the hose (3) from the wash/wipe system.

Installation Procedure

  1. Install in the high mounted stop lamp.
  2. • Connect the hose for the washer/wiper system.
    • Connect the wiring harness plug.
    • Install the 6 clips.
  3. Install the liftgate garnish moulding. Refer to Liftgate Garnish Molding Replacement .