GM Service Manual Online
For 1990-2009 cars only

Removal Procedure


    Object Number: 1937521  Size: LH

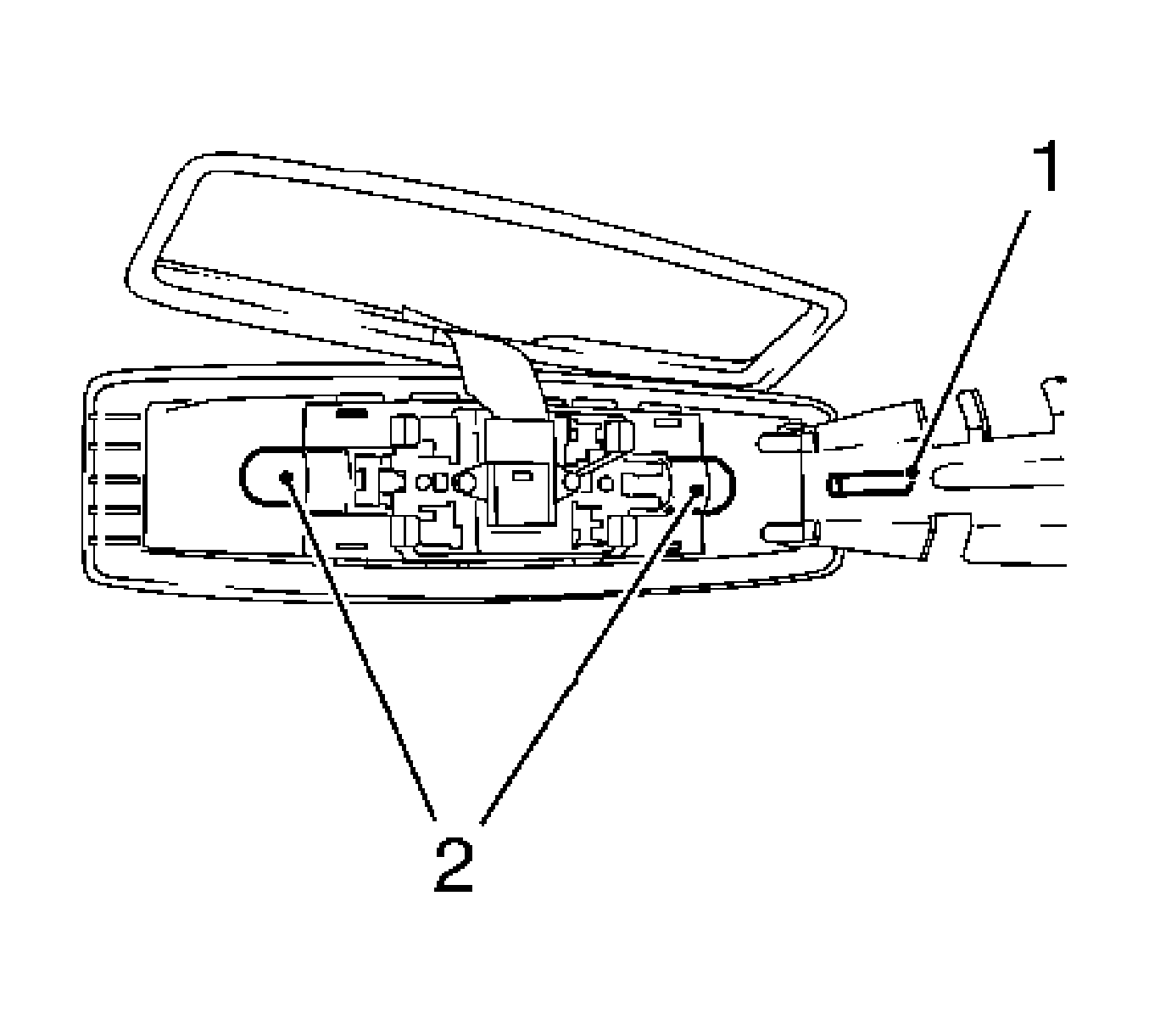
    Important: Pull down (arrow) on the right-hand side of the interior dome lamp (1).

  1. Remove the rear interior dome lamp.
  2. Release the rear interior dome lamp.

  3. Disconnect the wiring harness plug.

  4. Object Number: 1937524  Size: SH
  5. Remove the bulbs.
  6. • Release the locking plate (1).
    • Remove the 2 bulbs (2).

Installation Procedure

  1. Install the bulbs.
  2. • Install the 2 bulbs.
    • Close the locking plate.
  3. Connect the wiring harness plug.
  4. Install the rear interior dome lamp.